Информационная система
«Ёшкин Кот»

XXXecatmenu

МИНИСТЕРСТВО ЭНЕРГЕТИКИ И ЭЛЕКТРИФИКАЦИИ СССР

ГЛАВЭНЕРГОРЕМОНТ

 

РУКОВОДСТВО
ПО КАПИТАЛЬНОМУ РЕМОНТУ
МАСЛЯНОГО ВЫКЛЮЧАТЕЛЯ
ВМД-35/600

РД 34.47.602
(СО 153-34.47.602)

МОСКВА 1975

Составлено Кишиневским отделом ЦКБ Главэнергоремонта

Авторы инженеры С.А. Фридман, В.И. Смоляк, Р.Д. Мирсояпов, И.М. Черняховский, Ю.Я. Агапов, Ю.И. Попельницкий

Редактор инж. Л.Ф. Тафипольский

 

СОДЕРЖАНИЕ

Введение. 2

I. Общие положения. 2

Ii. Подготовка к капитальному ремонту. 3

Iii. Организация ремонтных работ. 3

Iv. Основные технические данные масляного выключателя вм-35/600 (гост 687-67) 3

V. Основные технические данные привода пэ-11 (гост 688-67) 4

Vi. Технология капитального ремонта выключателя. 4

Приложение 1. Перечень инструментов, необходимых для капитального ремонта выключателя вмд-35/600. 36

Приложение 2. Перечень приборов, применяемых при капитальном ремонте выключателя вмд-35/600. 36

Приложение 3. Перечень запасных частей, необходимых для капитального ремонта выключателя вмд-35/600. 37

Приложение 4. Перечень материалов, необходимых для капитального ремонта выключателя вмд-35/600. 37

Приложение 5. Схема технологии капитального ремонта выключателя ВМД-35/600. 38

Приложение 6. Технический акт  капитального ремонта выключателя вмд-35/600. 40

Приложение 7. Общие технологические указания по выявлению дефектов деталей. 42

Приложение 8. Выявление дефектов и ремонт деталей привода. 43

Приложение 9. Измерение скорости движения подвижных контактов. 44

 

 

СОГЛАСОВАНО:

Главный инженер производственного

объединения «Уралэлектротяжмаш»

А. КАЗАНЦЕВ

29 марта 1974 г.

УТВЕРЖДАЮ:

Главный инженер

Главэнергоремонта

В. КУРКОВИЧ

26 сентября 1974 г.

ВВЕДЕНИЕ

Руководство по организации и технологии капитального ремонта масляного выключателя ВМД-35/600 предусматривает применение ремонтным персоналом энергопредприятий и других специализированных предприятий наиболее рациональных форм организации ремонтных работ и передовых технологических приемов их выполнения.

Руководство разработано на основе чертежей и инструкций завода-изготовителя и передового опыта ремонта на ряде предприятий.

В Руководстве определена строгая последовательность и объем ремонтных операций, приведены нормативные материалы по технологии и трудозатратам на ремонт, квалификационному составу ремонтного персонала, а также рекомендации по выявлению дефектов деталей. Дается перечень средств (инструмента, приспособлений, крепежа и др.), необходимых для выполнения ремонтных работ (приложения 1, 2, 3 и 4).

Суммарные затраты на капитальный ремонт одного выключателя составляют 28,2 чел.-ч, в том числе непосредственно на ремонт 24,0 чел.-ч, на наладку выключателя 4,2 чел.-ч.

Трудозатраты, указанные в операционных картах, не могут быть использованы для определения сроков и стоимости ремонтных работ, так как в них не учтено время на подготовительные и заключительные работы, простои, перерывы, отдых и т.д. Это время составляет примерно 8,5 % общего времени на ремонт выключателя.

I. ОБЩИЕ ПОЛОЖЕНИЯ

Настоящее Руководство предназначено для производственных предприятий в качестве нормативного документа при планировании, подготовке и производстве ремонтных работ.

Так как Руководство предусматривает ремонт всех узлов выключателя, то суммарные трудозатраты выше нормативных. Объем ремонтных работ может быть сокращен или увеличен по решению лиц, ответственных за эксплуатацию и ремонт оборудования, но фактические трудозатраты при этом не должны превышать нормативных.

Дальнейшее совершенствование настоящего Руководства, направленное на повышение качества, уровня организации и производства ремонтных работ, на сокращение сроков ремонта, будет производиться по мере накопления и принятия новых технологических решений.

Технологией капитального ремонта предусматривается замена поврежденных или изношенных деталей запасными.

Ремонт деталей, удлиняющий срок простоя оборудования в ремонте, не рекомендуется. Ремонт таких деталей производится в межремонтный период с использованием их в дальнейшем в качестве обменного фонда запасных частей.

Руководством предусматривается проверка и ремонт устройств релейной защиты, автоматики, цепей вторичной коммутации и электрические испытания персоналом соответствующих служб.

Трудозатраты, приведенные в Руководстве, определены на основании «Норм времени на капитальный, текущий ремонты и эксплуатационное обслуживание оборудования подстанций 35 - 500 кВ», утвержденных Минэнерго СССР в 1971 г., и в дальнейшем могут быть снижены за счет усовершенствования организации и технологии выполняемых ремонтных работ.

В процессе производства работ ремонтный персонал обязан строго выполнять действующие правила техники безопасности.

Обеспечение условий безопасного производства ремонтных работ возлагается на эксплуатационный (оперативный) персонал электросетевого предприятия и электростанции.

II. ПОДГОТОВКА К КАПИТАЛЬНОМУ РЕМОНТУ

Подготовка к капитальному ремонту должна производиться в соответствии с конкретным объемом работ, предусмотренным для данного оборудования.

Наиболее рациональным является следующий порядок выполнения подготовительных работ:

- ознакомление с ведомостью объема ремонтных работ;

- ознакомление с мероприятиями, рекомендуемыми заводскими инструкциями, циркулярами Главтехуправления Минэнерго СССР по повышению надежности работы оборудования;

- ознакомление с документацией предыдущих ремонтных работ или монтажа;

- определение квалификационного и количественного состава ремонтной бригады;

- проработка с ремонтным персоналом указаний по организации и технологии капитального ремонта выключателя;

- разработка плана оборудования рабочих мест и размещения деталей, узлов, приспособлений и инструментов.

До начала ремонтных работ следует проверить:

- наличие необходимых запасных частей;

- наличие технической документации;

- наличие приспособлений, инструмента, инвентаря и средств механизации работ;

- наличие подъемно-транспортных механизмов и такелажных приспособлений и их пригодность для эксплуатации в соответствии с правилами Госгортехнадзора СССР (совместно с эксплуатационным персоналом);

- пригодность помещений или передвижных кладовых для хранения инструмента, приспособлений и материалов для ремонта оборудования.

III. ОРГАНИЗАЦИЯ РЕМОНТНЫХ РАБОТ

Ремонтом руководит представитель ремонтного подразделения (руководитель ремонта). Приемка оборудования из ремонта производится эксплуатационными службами в соответствии с существующими положениями.

Сроки ремонта оборудования должны определяться с учетом следующих организационных мероприятий:

- состав бригады определяется схемой технологии капитального ремонта выключателя (приложение 5 - см. вклейку). Смена состава бригады до окончания работ на отдельных узлах не допускается;

- обеспечивается непрерывная загрузка отдельных звеньев и бригады в целом;

- режим работы ремонтного персонала должен быть подчинен максимальному сокращению сроков ремонтных работ;

- для обеспечения выполнения ремонтных работ рекомендуется выдача нормированных план-заданий, применение агрегатно-узлового способа ремонта и использование обменного фонда деталей.

Окончание ремонтных работ оформляется техническим актом (приложение 6) и подписывается представителями ремонтных и эксплуатационных предприятий (служб).

IV. ОСНОВНЫЕ ТЕХНИЧЕСКИЕ ДАННЫЕ МАСЛЯНОГО ВЫКЛЮЧАТЕЛЯ ВМ-35/600 (ГОСТ 687-67)

Номинальное напряжение, кВ..................................................................... 35

Наибольшее рабочее напряжение, кВ......................................................... 40,5

Номинальный ток, А.................................................................................... 600

Предельный сквозной ток, кА:

действующее значение................................................................................. 10

амплитуда...................................................................................................... 17,3

Ток термической устойчивости (кА) для промежутка времени, с:

1...................................................................................................................... 10

5...................................................................................................................... 10

10.................................................................................................................... 7,1

Ток отключения, кА..................................................................................... 6,6

Мощность отключения, МВ · А................................................................... 400

Скорость отключения подвижных контактов (м/с) при:

размыкании................................................................................................... 1,1 ± 0,2

выходе из камер............................................................................................ 2,6 ± 0,2

максимальная................................................................................................ 2,7 ± 0,2

Собственное время отключения выключателя (с момента подачи команды на отключение до расхождения контактов), с..................................................... Не более 0,06

Масса выключателя без привода, кг........................................................... 900

Масса масла, кг............................................................................................. 300

V. ОСНОВНЫЕ ТЕХНИЧЕСКИЕ ДАННЫЕ ПРИВОДА ПЭ-11 (ГОСТ 688-67)

Номинальное напряжение включающего и отключающего электромагнитов, В.....................................................................................

110 или 220

Номинальный ток обмоток электромагнитов, А:

 

включающего...............................................................................................

116 при (110 В)

58 (при 220 В)

отключающего.............................................................................................

2,5

1,25

Номинальный ток включающей обмотки контактора КМВ-521 (А) при напряжении, В:

 

110.................................................................................................................

2

220.................................................................................................................

1

Угол поворота вала, град............................................................................

90 ± 2

Масса привода, кг.......................................................................................

55

VI. ТЕХНОЛОГИЯ КАПИТАЛЬНОГО РЕМОНТА ВЫКЛЮЧАТЕЛЯ

ОПЕРАЦИЯ 01

НАРУЖНЫЙ ОСМОТР ВЫКЛЮЧАТЕЛЯ И ПРИВОДА

Узел 01. Выключатель

Трудозатраты - 1,0 чел.-ч

Состав звена: электрослесарь 4-го разряда - 1 чел.

01.1*. Произвести пробный цикл включения и отключения выключателя, обратив внимание на правильное положение всех рычагов и тяг, а также указателя положения.

* Цифры до точки - номер операции, после точки - номер перехода.

01.2. Очистить от грязи и пыли вводы выключателя. Выявить дефекты (приложение 7).

Оснастка: ветошь.

01.3. Убедиться в отсутствии течи масла. При наличии течи выявить причину и в процессе ремонта устранить.

01.4. Проверить правильность установки каркаса 28 (рис. 1**) выключателя и горизонтальность положения его верхнего основания, на котором укреплена крышка 32. В случае отклонения от горизонтальной плоскости каркас выровнять установкой подкладки под опорные лапы.

** См. вклейку.

Рис. 1. Масляный выключатель ВМ-35/600:

1 - колпачок; 2 - стальная проволока диаметром 0,5 мм (ГОСТ 3282-46); 3 - табличка; 4 - заклепка диаметром 3×8 мм; 5 - шайба пр. 20Н; 6 - гайка М20; 7 - болт М20×1015; 8 - шайба 10,5/22×2; 9 - болт М10×20; 10 - шайба пр. 16Н; 11 - болт М16×70; 12 - гайка М16; 13 - труба; 14 - винт М6×12; 15 - шайба диаметром 6,5 (14×15); 16 - гайка М6; 17 - шайба; 18 - ограничительный винт; 19 - гайка М12; 20 - прокладка; 21 - крепление изолятора и трансформатора тока; 22 - скоба; 23 - болт М10×30; 24 - шайба пр. 10Н; 25 - гайка М20; 26 - шайба пр. 20Н; 27 - дугогасительное устройство; 28 - каркас; 29 - бак; 30 - съемная лебедка; 31 - кожух; 32 - крышка; 33 - конденсаторный ввод; 34 - ось диаметром 10×40 мм; 35 - шплинт 3,2×40 мм; 36 - штанга; 37 - гайка М10; 38 - ушко; 39 - пружина; 40 - стакан; 41 - пружина; 42 - болт М10×18; 43 - шайба 11/18×1,5; 44 - цилиндр; 45 - гайка М30; 46 - соединительная труба

Оснастка: уровень брусковый.

01.5. Осмотреть крепление каркаса к фундаменту. Анкерные болты должны иметь контргайки. Каркас должен быть надежно заземлен.

01.6. Осмотреть шкаф с приводом (рис. 2), очистить его от пыли. Обратить внимание на состояние уплотнений, отсутствие подтеков, ржавчины и механических повреждений.

Оснастка: кисть, ветошь.


Рис. 2. Шкаф с приводом:

1 - подогрев ПШТ; 2 - гайка М10; 3 - болт М10×20; 4 - шайба 11/22×2 мм; 5, 32 - пружина; 6, 15 - ось; 7, 34 - шплинт 3,2×20 мм; 8 - болт М12×30; 9 - привод ПЭ-11; 10 - каркас; 11 - контактор КМВ-521; 12 - шайба; 13, 23 - шайба 6,5/14×1,5 мм; 14 - палец; 16 - шплинт 1,5×16 мм; 17, 39 - болт М6×16; 18, 40 - шайба пр. 6Н; 19 - контактный ряд КР-10; 20 - табличка; 21 - заклепка диаметром 3×8 мм; 22 - винт М6×18; 24 - контактный ряд КР-12; 25, 36 - планка; 26 - болт М8×25; 27 - шайба пр. 8Н; 28 - гайка М8; 29 - рукоятка; 30 - арматура для кабеля; 31 - шток; 33 - шайба 8,5/18×1,5; 35 - контактный ряд КР-16; 37 - хомут; 38 - винт М6×12; 41 - монтаж проводки


01.7. Осмотреть контактор 11, очистить его от пыли, проверить состояние контактов.

01.8. Осмотреть и очистить от пыли контактные ряды 19, 24, 35. Убедиться в отсутствии окисления контактов, подгаров и ослабления затяжки винтов.

Оснастка: кисть, ветошь.

01.9. Осмотреть силовые цепи и цепи вторичной коммутации. Обратить внимание на качество разделки, оконцевания и состояние изоляции. Проверить крепление силовых цепей и цепей вторичной коммутации.

Оснастка: кисть, ветошь.

01.10. Осмотреть устройство 1 подогрева шкафа. Очистить от пыли, проверить состояние контактов на выводах нагревательного элемента.

Оснастка: кисть, отвертка.

01.11. Проверить работу устройства ручного отключения привода. Шток не должен иметь искривлений по всей длине, задиров и забоин в рабочей части. Пружина не должна иметь трещин, надломов и остаточной деформации. Под действием пружины шток должен свободно возвращаться в исходное положение.

01.12. Очистить механизм 10 привода (рис. 3) от пыли, грязи и старой смазки, осмотреть, обратив внимание на:

а) правильность установки и крепления привода;

б) состояние смазки в узлах трения;

в) степень коррозии деталей.

Оснастка: кисть, ветошь.

Рис. 3. Механизм привода ПЭ-11:

1, 7, 23, 37, 39, 42, 43 - оси; 2, 8, 17, 22 - шплинты 3×20 мм; 3, 31, 33 - пружины; 4 - удерживающая собачка; 5, 6, 11 - серьги; 9 - рычаг; 10 - механизм в сборе; 12, 16, 21, 27 - шайбы 12,5/25×2 мм; 13 - вал; 14 - корпус механизма; 15, 24, 28 - шайбы 13,5/20×0,5 мм; 18, 26, 34, 35 - втулки; 19 - стопорное кольцо; 20 - стопор; 25, 29, 36 - шплинт 3×30 мм; 30 - отключающая собачка; 32, 38 - ролик; 40 - шпилька М8×60 мм; 41 - рукоятка; 44 - шплинт 3,2×20 мм; 45 - шайба пр. 8Н; 46 - гайка М8; 47 - болт М8×30

01.13. Убедиться в отсутствии заеданий в рычажном механизме, для чего без расчленения рычажного механизма с передаточным механизмом или передаточного механизма с выключателем включить привод вручную, а затем, отводя рычаг или домкрат ручного включения на отключение, медленно отключить механизм. При этом вал рычажного механизма 13 должен свободно вращаться в подшипнике, а серьги 5, 6, 11 - на осях; собачки 4, 30 легко поворачиваться на своих осях, а пружины 3, 31 собачек 4, 30 должны иметь надежное крепление.

01.14. Проверить целость шплинтов и шайб, убедиться в отсутствии вмятин и наклепа на концах оси 37, лежащих на плечиках удерживающей собачки 4 и на ролике 32, лежащем на плечике отключающей собачки 30.

01.15. Проверить отсутствие заусенцев и седловин на рабочих поверхностях собачек 4, 30.

01.16. Проверить визуально износ деталей, определить необходимый объем разборки и ремонта механизма привода.

01.17. Осмотреть, очистить от пыли и смазки блок-контакты 1 (рис. 4) отключающего электромагнита, проверить зажимы и состояние прокладки 14.

Оснастка: кисть, ветошь.

Рис. 4. Отключающий электромагнит:

1 - блок-контакт; 2 - шпилька М8×80; 3 - гайка М8; 4 - шайба пр. 8Н; 5 - шайба 11/18×1,5 мм; 6 - виток; 7, 12 - крышка; 8 - кожух; 9 - катушка; 10 - винт М4×10; 11 - гильза; 13 - сердечник; 14 - прокладка; 15 - скоба; 16 - текстолитовая шайба; 17, 20 - пружина; 18 - неподвижный контакт; 19 - подвижный контакт; 21 - шплинт; 22 - тяга

01.18. Проверить вручную работу сердечников 1 со штоками 10 (рис. 5) и 13, 6 (см. рис. 4) включающего и отключающего электромагнита. Отсутствие перекоса и заеданий сердечника со штоком проверить поднятием сердечника в верхнее положение с одновременным поворотом его на 10 - 20° вокруг вертикальной оси и последующим свободным падением в исходное положение. Проверить состояние резиновых буферов 21 (рис. 5) в основании включающего электромагнита.

Рис. 5. Электромагнитный привод ПЭ-11:

1 - сердечник; 2 - гайка М12; 3, 18 - шайба пр. 12Н; 4 - шпилька М12×160; 5 - основание; 6 - прокладка; 7 - включающая катушка; 8 - магнитопровод; 9 - пружина; 10 - шток; 11 - гильза; 12 - шайба; 13 - винт М6×10; 14 - втулка; 15 - КСА; 16 - механизм включения; 17 - болт М12×35; 19 - отключающий электромагнит; 20 - контактный ряд КР-10; 21 - резиновый буфер (прокладка); 22 - стопор; 23 - кожух

01.19. Очистить от пыли, смазки и осмотреть контакты КБВ, КБО и КСА (рис. 6). Обратить внимание на состояние подвижных и неподвижных контактов, пружин, зажимов, контактных винтов, тяг и рычагов.

Оснастка: кисть, ветошь.

Рис. 6. Установка блок-контактов:

1, 6 - рычаги; 2, 4, 7 - тяги; 3 - сигнальный контакт КСА; 5 - шплинт 2×15 мм; 8 - гайка М8; 9 - вилка; 10 - быстродействующие контакты КБВ и КБО

Определить по результатам осмотра окончательный объем ремонта привода.

ОПЕРАЦИЯ 02

РЕМОНТ ВКЛЮЧАЮЩЕГО МЕХАНИЗМА1

Узел 02. Привод ПЭ-11

Трудозатраты - 0,5 чел.-ч.

Состав звена: электрослесарь 4-го разряда - 1 чел.

1 Разборку привода производить только при обнаружении неисправности, мешающей дальнейшей нормальной работе. При выполнении ремонта с частичной разборкой в дальнейшем технология ремонта излагается по отдельным механизмам, на которые условно разбит привод.

02.1. Расшплинтовать и вынуть ось 37 (см. рис. 3) с втулками 35 и роликом 38. Расшплинтовать и вынуть ось 7 с шайбами 12; снять серьгу 6. Расшплинтовать тяги 2, 4, 7 (см. рис. 6) и отсоединить их от рычага 6. Выбить конический штифт и снять вилку с вала привода.

Оснастка: молоток, плоскогубцы.

02.2. Отвинтить стопор 20 (см. рис. 3) и снять стопорное кольцо 19.

Оснастка: отвертка.

02.3. Вынуть вал 13 с рычагом 9 из подшипника.

02.4. Снятые детали очистить от грязи и старой смазки. При необходимости промыть бензином (не этилированным).

Оснастка: ветошь.

02.5. Выявить дефекты и произвести необходимый ремонт вала 13, осей 7 и 37, ролика 38, отверстий в серьге 6 и рычаге 9.

Оснастка: металлическая линейка, микрометр, штангенциркуль, молоток, напильник, шкурка.

02.6. Очистить подшипник вала 13 от грязи и старой смазки. Убедиться в отсутствии на поверхностях трения заусенцев и зазубрин. Имеющиеся заусенцы и зазубрины зачистить напильником или шкуркой.

Оснастка: напильник, шкурка.

02.7. Заполнить подшипник вала смазкой ЦИАТИМ-203 (3 объемные части) и графитом серебристым кристаллическим ГОСТ 5279-61 (1 объемная часть). Эту же смазку нанести на трущиеся поверхности.

02.8. Собрать детали согласно переходам 5 - 1, обратив внимание на:

- отсутствие перекосов;

- соответствие деталей первоначальному положению;

- наличие и исправность шайб и шплинтов.

Применение медной проволоки для шплинтов недопустимо!

02.9. Отсоединить выводы включающей катушки 7 (см. рис. 5) от зажимов в контактном ряду КР-10.

Оснастка: отвертка.

02.10. Свинтить гайки 2 со шпилек 4 и снять электромагнит.

Оснастка: гаечный ключ 17×19.

02.11. Очистить от пыли и старой смазки снятые детали, осмотреть, обратив внимание на:

- состояние магнитопровода и основания. Трещины заварить, места, покрытые ржавчиной, очистить и закрасить. Места стыков магнитопровода и основания очистить от краски, лака, грязи;

- состояние латунной шайбы 12 и ее крепление винтами 13. Винты должны быть затянуты до отказа и раскернены в шлиц в двух местах;

- состояние поверхности втулки 14. Заусенцы и зазубрины аккуратно снять напильником или шкуркой.

- состояние гильзы 11. Вмятины вырихтовать, эллиптичность устранить;

- состояние поверхности сердечника 1. Ржавчину, краску снять с помощью напильника, шкурки. Протереть сердечник тряпкой, смоченной в бензине и смазать тонким слоем смазки ЦИАТИМ-203;

- состояние резиновых прокладок 21 в нижней части основания и их крепление. Резиновые прокладки должны крепиться к основанию с помощью металлических планок и двух винтов, развальцованных в отверстиях основания. Высота резиновых прокладок с металлическими планками должна обеспечивать расстояние между латунной шайбой и верхним торцом сердечника, равное 81 мм.

Оснастка: ветошь, кисть, напильник, шкурка.

02.12. Выявить дефекты и произвести необходимый ремонт штока 10 и пружины 9 в соответствии с приложением 8 (пп. 7 и 8).

Шток 10 ввернут в сердечник и застопорен. При необходимости длина штока может регулироваться ввертыванием или вывертыванием его из тела сердечника.

Оснастка: круглогубцы, напильник, отвертка.

02.13. Проверить сопротивление включающей катушки, которое должно быть 3,096 - 4,101 Ом при Uн = 220 В и 0,874 - 1,028 Ом при Uн = 110 В.

Оснастка: мост ММВ.

02.14. Проверить сопротивление изоляции включающей катушки и подводящих проводов мегомметром (сопротивление должно быть не ниже 1 МОм).

Оснастка: мегомметр 1000 В.

02.15. Собрать электромагнит включения согласно переходам 10 - 9, обратив внимание на плотность прилегания в стыках деталей магнитной системы.

ОПЕРАЦИЯ 03

РЕМОНТ ОТКЛЮЧАЮЩЕГО МЕХАНИЗМА

Узел 02. Привод ПЭ-11

Трудозатраты - 0,8 чел.-ч

Состав звена: электрослесарь 4-го разряда - 1 чел.

03.1. Расшплинтовать и вынуть ось 43 (см. рис. 3), освободив при этом ролик 32 с шайбами 27.

Оснастка: плоскогубцы.

03.2. Расшплинтовать и вынуть ось 39, освободив при этом отключающую собачку 30 с пружиной 31, шайбами 28 и рукояткой ручного отключения 41.

Необходимо соблюдать осторожность, так как пружина имеет предварительное сжатие!

03.3. Снятые детали очистить от грязи и старой смазки, при необходимости промыть бензином.

Оснастка: ветошь.

03.4. Выявить дефекты и произвести необходимый ремонт осей 39, 43, ролика 32, отключающей собачки 30, пружины 31 и отверстий в серьге 11.

Оснастка: шкурка, металлическая линейка, микрометр, штангенциркуль, молоток, круглогубцы, напильник.

03.5. Нанести на места трения тонкий слой смазки ЦИАТИМ-203.

03.6. Собрать детали в обратной последовательности.

Положение отключающей собачки не регулируется, и она занимает рабочее положение под воздействием пружины, установленной на оси.

Зазор в процессе зацепления между плечиком отключающей собачки 30 и роликом 32 регулируется ограничительным болтом 47.

03.7. Отсоединить выводы отключающей катушки 9 (см. рис. 4) и цепи блок-контактов 1 от зажимов в контактном ряду КР-10 (20, см. рис. 5).

Оснастка: отвертка.

03.8. Свинтить гайки 3 (см. рис. 4) со шпилек 2, отсоединить и отвести в сторону КР-10, снять электромагнит.

Оснастка: ключ 12×14.

03.9. Удалить шплинт 21 и вынуть из гильзы 11 сердечник 13, освободив при этом текстолитовые шайбы 16, пружины 17 и 20, подвижный контакт 19.

Оснастка: плоскогубцы.

03.10. Очистить от пыли и старой смазки снятые детали, осмотреть, обратив внимание на:

- состояние крышек 7 и 12, кожуха 8 и скобы 15, неподвижного 18 и подвижного 19 контактов. Ржавые и окисленные места деталей очистить. Места стыков кожуха и крышек очистить от краски, лака, грязи.

Механические повреждения устранить, негодные детали заменить;

- состояние гильзы 11.

Вмятины вырихтовать, окисления устранить. Грязь и засохшую смазку удалить промывкой бензином, протереть насухо;

- состояние поверхности сердечника 13 и тяги 22.

Ржавчину, краску, зазубрины и заусенцы снять с помощью напильника, шкурки. Протереть сердечник и стержень тряпкой, смоченной в бензине. Проверить надежность стопорения тяги 22 винтом 10;

- состояние фетровой прокладки 14, текстолитовых шайб 16.

Шайбы не должны иметь изломов, трещин и выкрашивания.

Дефектные шайбы заменить.

Фетровую прокладку при потере формы и эластичности заменить. Новую прокладку приклеить к скобе 15 бакелитовым клеем.

Оснастка: напильник, шкурка, кисть и ветошь.

03.11. Выявить дефекты и произвести необходимый ремонт штока 6, пружин 17 и 20 в соответствии с приложением 7.

Оснастка: круглогубцы, отвертка, напильник.

03.12. Проверить сопротивление отключающей катушки, которое должно быть 80,96 / 95,04 Ом при 110 / 220 В.

Оснастка: мост ММВ.

03.13. Проверить сопротивление изоляции отключающей катушки и подводящих проводов, которое должно быть не ниже 1 МОм, мегомметром напряжением 1000 В.

03.14. Смазать металлические детали, включая сердечник, тонким слоем смазки ЦИАТИМ-203.

03.15. Собрать электромагнит в обратной последовательности и проверить:

а) полный ход сердечника, который должен быть 18 - 20 мм.

Ход сердечника регулируется изменением толщины фетровой прокладки 14 или шайбы 5.

Оснастка: металлическая линейка.

б) длину штока 6, которая должна быть 38-2 мм.

Допускается окончательную длину штока устанавливать при регулировке пределов действия электромагнита;

в) полный ход блок-контакта (18,5 мм) и зазор между торцом пружины 20 и подвижным контактом 19, который должен быть 2 - 3 мм. Регулировку произвести изменением толщины шайбы под шплинтом 21 либо путем ввертывания или вывертывания тяги 22 из тела сердечника. После регулировки хода блок-контакта тягой тягу засверлить под винт 10 с тем, чтобы завернуть его заподлицо с сердечником.

Оснастка: отвертка.

ОПЕРАЦИЯ 04

РЕМОНТ ЗАПИРАЮЩЕГО МЕХАНИЗМА

Узел 02. Привод ПЭ-11

Трудозатраты - 0,4 чел.-ч

Состав звена: электрослесарь 4-го разряда - 1 чел.

04.1. Расшплинтовать и вынуть ось 1 (см. рис. 3), освободив при этом удерживающую собачку 4 с пружиной 3 и шайбами 15; 16. Соблюдать осторожность, так как пружина имеет предварительное сжатие!

Оснастка: плоскогубцы.

04.2. Расшплинтовать и вынуть ось 37, освободив при этом ролик 38 с втулкой 35.

Оснастка: ветошь.

04.3. Снятые детали очистить от грязи и старой смазки. При необходимости промыть бензином.

04.4. Выявить дефекты и произвести необходимый ремонт оси 37, ролика 38, отверстий в серьгах 5 и 6, удерживающей собачки 4 и пружины 3 в соответствии с приложением 7.

Оснастка: шкурка, пластилин, молоток, металлическая линейка, микрометр, штангенциркуль, напильник.

04.5. Нанести тонким слоем на узлы трения смазку ЦИАТИМ-203.

04.6. Произвести сборку деталей в обратной последовательности.

Примечания: 1. Положение запирающей собачки не регулируется, она занимает рабочее положение под воздействием пружины, установленной на оси. 2. Положение упора (оси 37) запирающей собачки не регулируется.

ОПЕРАЦИЯ 05

РЕМОНТ МЕХАНИЗМА СВОБОДНОГО РАСЦЕПЛЕНИЯ

Узел 02. Привод ПЭ-11

Трудозатраты - 0,4 чел.-ч

Состав звена: электрослесарь 4-го разряда - 1 чел.

05.1. Расшплинтовать и вынуть ось 42 (рис. 3) с втулками 26, 34, пружиной 33, шайбами 24 и ось 37 с втулками 35 и роликом 38, освободив при этом механизм свободного расцепления, состоящий из серег 5 и 11, соединенных осью 23.

Соблюдать осторожность, так как пружина имеет предварительное сжатие!

Оснастка: плоскогубцы.

05.2. Расшплинтовать и вынуть ось 23 с шайбами 21.

05.3. Снятые детали очистить от грязи и старой смазки. При необходимости промыть бензином.

Оснастка: ветошь.

05.4. Выявить дефекты и произвести необходимый ремонт осей 23, 37, 42 отверстий в серьгах 5, 11 и пружины 33 в соответствии с приложением 7.

Оснастка: металлическая линейка, микрометр, штангенциркуль, молоток.

05.5. Проверить состояние ограничительного болта 47 с гайкой 46 и шайбой 45.

Болт не должен иметь искривлений по длине, повреждений рабочей поверхности головки и резьбовой части.

Негодные болт и гайку заменить.

05.6. Нанести тонким слоем на места трения смазку ЦИАТИМ-203.

05.7. Произвести сборку деталей.

ОПЕРАЦИЯ 06

РЕВИЗИЯ УЗЛОВ, РАЗБОРКА КОТОРЫХ НЕ ПРОИЗВОДИЛАСЬ

Узел 02. Привод ПЭ-11

Трудозатраты - 0,5 чел.-ч

Состав звена: электрослесарь 4-го разряда - 1 чел.

06.1. Удалить старую смазку из узлов трения. При необходимости ветошь смочить бензином.

06.2. Произвести проверку и подтяжку всех ослабленных болтовых соединений привода.

Оснастка: гаечный ключ 12×14, 17×19, отвертка.

06.3. Проверить правильность положения и крепления деталей механизмов привода.

06.4. Нанести тонким слоем на узлы трения смазку ЦИАТИМ-203.

06.5. Проверить работу и регулировку привода и блок-контактов.

06.6. Снять у контактора включения 11 (см. рис. 2) дугогасительные камеры и проверить:

- чистоту контактов, симметричность расположения подвижных контактов по отношению к неподвижным;

- надежность нажатия контактов, свободное движение якоря и прилегание его к сердечнику;

- жесткость пружины и надежность крепления контактора и всех подсоединений к нему;

- состояние катушки контактора.

При повреждении обмотки или выводов катушку заменить.

Оснастка: напильник, шлифовальная шкурка.

06.7. Надеть дугогасительные камеры, убедиться в отсутствии застреваний контактов.

06.8. Устранить обнаруженные дефекты в силовых цепях и цепях вторичной коммутации.

06.9. Устранить дефекты шкафа привода и произвести его окраску.

ОПЕРАЦИЯ 07

РЕГУЛИРОВКА ПРИВОДА

Узел 02. Привод ПЭ-11

Трудозатраты - 0,8 чел.-ч

Состав звена: электрослесарь 4-го разряда - 1 чел.

07.1. В положении привода «Откл.» болтом 47 (см. рис. 3) отрегулировать зазор между роликом 32 и плечиком отключающей собачки 30.

Оснастка: гаечный ключ 12×14.

07.2. Измерить пластинчатым щупом величину этого зазора (он должен быть 0,5 - 1 мм).

Оснастка: щуп.

07.3. После регулировки ограничительный болт 47 установить гранями вдоль оси механизма и зафиксировать гайкой 46.

Оснастка: гаечный ключ 12×14.

07.4. Поднять рычагом ручного включения сердечник 1 (см. рис. 5) со штоком 10 в верхнее крайнее положение.

Оснастка: рычаг ручного включения.

07.5. Замерить пластинчатым щупом зазор между плечиками удерживающей собачки 4 (см. рис. 3) и осью 37, который должен быть 1 - 1,5 мм. При отклонении зазора от нормы регулировку производить ввертыванием или вывертыванием штока 10 (см. рис. 5) сердечника 1. После установки необходимого зазора шток засверлить и законтрить стопорами 22.

Оснастка: щуп.

07.6. В положении привода «Вкл.» замерить пластинчатым щупом зазор между головкой болта 47 (см. рис. 3) и осью 23, который должен быть 0,5 - 1 мм.

07.7. Проверить визуально (в положении привода «Вкл.»):

- зацепление между плечиком отключающей собачки 30 и роликом 32, который должен быть расположен в средней части плечика;

- зацепление между плечиками удерживающей собачки 4 и осью 37, которое должно быть на расстоянии не менее 1/4 длины плечика.

07.8. Проверить угол расцепления отключающего механизма (см. рис. 5). Угол расцепления α = 15°, полный угол поворота рукоятки β = 60°.

07.9. Проверить ход сердечника 13 (см. рис. 4) со штоком 6, для чего, медленно перемещая сердечник от руки (например, с помощью отвертки) заметить положение, при котором происходит расцепление отключающего механизма. После этого сердечник должен иметь запас хода не менее 2 - 3 мм.

При несоответствии произвести регулировку длины штока 6, ввертывая или вывертывая его из тела сердечника. После установки размера шток засверлить под винт 10 с тем, чтобы завернуть его заподлицо с сердечником.

Оснастка: отвертка.

07.10. Произвести регулировку блок-контактов КБВ и КБО (см. рис. 6), при которой включенному положению привода соответствует отключенное положение контакта КБВ и включенное положение контакта КБО;

Оснастка: отвертка, плоскогубцы, гаечный ключ 12×14.

Для обеспечения нормальной работы привода величины зазоров между собачками и храповиками у блок-контактов должны соответствовать зазорам, указанным на рис. 7.

Оснастка: щуп.

Рис. 7. Регулируемые зазоры быстродействующих контактов:

а - блок-контакт КБВ; I - включен; II - отключен; б - блок-контакт КБО; I - отключен; II - включен. Величина западания собачки 2 - 3 мм

Блок-контакт КБВ в цепи обмотки контактора размыкается в конце включения [при ходе штока 10 (см. рис. 5) 78-2 мм].

Цепь отключения замыкается при включении на ходе штока ЭВ 52 мм.

Оснастка: линейка.

Регулирование момента замыкания и размыкания блок-контактов КБВ и КБО производить при медленном (ручном) включении и отключении привода. Регулирование производить изменением длины тяг или рычагов, соединяющих блок-контакты с валом привода.

В разомкнутом положении разрыв между подвижными и неподвижными контактами должен быть 4 - 5 мм с каждой стороны подвижного контакта.

07.11. Произвести регулировку блок-контактов КСА, для чего:

- проверить фиксацию замыкания и размыкания подвижных и неподвижных контактов в обоих положениях привода. В отключенном положении зазор между контактами должен быть не менее 3 - 5 мм;

- подсоединение тяг к КСА производить после предварительного опробования замыкания соответствующих контактов КСА в обоих крайних положениях привода;

- установить угол поворота валика КСА (90°) подбором длины тяги или длины плеча рычага.

Оснастка: плоскогубцы, отвертка.

07.12. По окончании регулировки КБВ, КБО и КСА:

- затянуть контргайки на всех резьбовых соединениях передаточных звеньев;

- проверить, чтобы рычаг 6 (см. рис. 6) был ввернут в вал привода не менее чем на 5 витков резьбы;

- проверить, чтобы нарезная часть тяг заходила в гайки на всю высоту гаек;

- проверить надежность цепей через все контакты;

- смазать смазкой ЦИАТИМ-203 оси шарниров передаточных механизмов и всех трущихся частей приводного механизма и блок-контактов.

Внимание! Во избежание несчастных случаев в процессе регулировки привода с выключателем отключающую собачку привода укрепить стальной планкой 6×20×60 и болтом 17 (см. рис. 5).

При отключениях планку удалять.

ОПЕРАЦИЯ 08

РАСШИНОВКА ВЫКЛЮЧАТЕЛЯ

Узел 01. Выключатель

Трудозатраты - 1,0 чел.-ч

Состав звена: электрослесари 3-го разряда - 1 чел., 2-го разряда - 1 чел.

08.1. Свинтить гайки 45 (см. рис. 1). При свинчивании гаек 45 во избежание провертывания стержня во втулках необходимо удерживать наконечник ключом за имеющиеся на наконечнике стержня запиленные места либо свинчивание производить при включенном положении выключателя.

Оснастка: гаечный ключ 46.

08.2. Опустить шлейфы и подвязать их к металлоконструкциям.

Оснастка: веревка.

ОПЕРАЦИЯ 09

СЛИВ МАСЛА. ОБЩАЯ РАЗБОРКА ВЫКЛЮЧАТЕЛЯ

Узел 01. Выключатель

Трудозатраты - 4,0 чел.-ч

Состав звена: электрослесари 2-го разряда - 1 чел., 3-го разряда - 1 чел.

09.1. Снять проволоку 2 (см. рис. 1) на колпачке 1, снять колпачок с маслоспускной пробки, открыть маслоспускное отверстие.

Оснастка: трубный рычажный ключ, плоскогубцы.

09.2. Слить масло в подготовленную емкость. При этом проверить работу маслоуказателей.

Оснастка: емкость под масло.

09.3. Вывинтить трубу 13 газоотвода из соединительной трубы 46, проверить плотность прилегания крышки и прокладки на выхлопном отверстии трубы.

Оснастка: трубный рычажный ключ.

09.4. Вывинтить болт заземления 9 с шайбой 8.

Оснастка: гаечный ключ 17.

09.5. Установить съемную лебедку 30.

Оснастка: ключ 17×19.

09.6. Зацепить трос лебедки 30 за ролики бака 29, с помощью лебедки натянуть слегка трос, свинтить гайку 6 с болта 7, снять шайбу 5, опустить бак 29 до полного ослабления троса, снять трос с роликов бака.

09.7. Вывинтить болт 23 с шайбой 24, снять скобу 22.

Оснастка: гаечный ключ 17.

09.8. Ослабить болты 9 (рис. 9) с шайбами 10, снять контакт с гасительной камерой 3, экраном 18 и комплектовым башмаком 16.

Оснастка: гаечный ключ 17.

09.9. Свинтить гайки 12 (см. рис. 1) с болтов 11, снять конденсаторный ввод 33 и прокладку 20 (переход 9 выполняется только при необходимости).

Оснастка: гаечный ключ 22, 24.

09.10. Свинтить гайку 37 (см. рис. 1), снять пружину 39 с ушка 38.

Оснастка: гаечный ключ 17, отвертка, плоскогубцы.

09.11. Вывинтить болт 42, опустить цилиндр 44 со стаканом 40 и пружиной 41.

Оснастка: гаечный ключ 17.

09.12. Расшплинтовать шплинт 35, вынуть ось 34, снять штангу 36 с рычага-вилки 56 (рис. 8)*; переход 12 выполняется только при необходимости.

* См. вклейку.


Рис. 8. Комплектовая крышка:

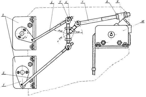
1 - планка; 2 - болт М10×25; 3 - шайба пр. 10Н; 4 - шпонка 10×8×63 мм; 5 - пробка; 6, 45, 53, 58 - прокладки; 7, 10 - винт М8×16; 8, 60 - шайбы; 9 - винт М4×10; 11 - установочное кольцо; 12, 28, 38, 57 - валы; 13 - вилка; 14 - шпонка 8×10×40 мм; 15 - винт М8×30; 16, 24 - гайки М8; 17 - болт М16×35; 18 - подшипник; 19 - шайба пр. 16Н; 20 - гайка М16; 21 - болт М16×90; 22 - шайба пр. 12Н; 23, 67, 71 - болты М12×40; 24 - гайка М8; 25 - винт 8×20; 26, 31 - крышки; 7, 33, 37 - двойные рычаги; 29 - соединительная муфта; 30 - тяга; 32, 42, 50, 54 - оси; 34, 62, 64, 66, 68, 70, 72, 74, 76 - гайки М12; 35 - ограничительный винт; 36 - глухая гайка; 39 - заглушка; 40 - шайба 14/28×1 мм; 41 - войлок (технический тонкошерстный 10×20×1585 мм ГОСТ 288-61); 43, 51 - ролики; 44, 52 - оси роликов; 46 - шплинт 3,2×20 мм; 47 - ось диаметром 12×50 мм; 48 - серьга; 49 - рычаг; 55 - коробка; 56 - рычаг-вилка; 59 - винт М4×10; 61, 75 - болт М12×30; 63, 73 - болт М12×60; 65, 69 - болт М12×80; 67, 71 - болт М12×40


Переходы 1 - 12 выполнить для двух других фаз.

Оснастка: плоскогубцы, выколотка, слесарный молоток.

ОПЕРАЦИЯ 10

РАЗБОРКА И РЕВИЗИЯ ГАСИТЕЛЬНОГО УСТРОЙСТВА. РЕМОНТ КОНТАКТОВ

Узел 01. Выключатель

Трудозатраты - 2,0 чел.-ч

Состав звена: электрослесари 2-го разряда - 1 чел., 3-го разряда - 1 чел.

10.1. Свинтить гайку 12 (рис. 9) с винта 13, освободить проводник 23.

Оснастка: гаечный ключ 10.

Рис. 9. Устройство дугогасительное:

1 - болт М8×16; 2 - шайба 9/16×1,5 мм; 3 - гасительная камера; 4 - траверса; 5 - гайка М20; 6 - шайба пр. 20М; 7 - винт М6×20; 8 - неподвижный контакт; 9 - болт М10×55; 10 - шайба пр. 10Н; 11 - гайка М10; 12 - гайка М6; 13 - винт М6×30; 14 - пружина; 15 - гибкая связь; 16 - комплектовый башмак; 17 - винт М6×10; 18 - экран; 19 - ось; 20 - болт М8×20; 21 - планка 9/18×23 мм; 22 - гайка М6; 23 - проводник; 24 - гайка М8×20; 25 - гайка М6×15

10.2. Вывинтить болты 1, крепящие экран 18 к камере 3, снять экран. Детали сложить на противень.

Оснастка: гаечный ключ 14, противень.

10.3. Вывинтить болты 11 (рис. 10), 16 с шайбами 17, снять планку 12, хомут 14, колодку 15, гибкую связь 13, все детали сложить на противень.

Оснастка: гаечные ключи 14, 17, противень.


Рис. 10. Гасительная камера:

1 - нижняя накладка; 2, 4, 5 - прокладки; 3 - пластина; 6 - верхняя накладка; 7 - винт М6×10; 8 - ось; 9 - контакт; 10 - башмак; 11 - болт М8×20; 12 - стопорная планка 9/18 - 23 мм; 13 - гибкая связь; 14 - хомут; 15 - колодка; 16 - болт М10×55; 17 - шайба пр. 10Н; 18 - колпачок; 19, 21 - болт М20; 20 - гайка М20


10.4. Вывинтить стопорный винт 7, выбить ось 8, снять контакт 9, детали сложить на противень.

Оснастка: отвертка, выколотка, молоток, противень.

10.5. Тщательно осмотреть экран 18 (см. рис. 9) дугогасительного устройства. Во избежание случайного повреждения металлической обкладки не следует снимать наружный изоляционный лист. Металлическую обкладку осматривать только при необходимости. Обкладка (станиоль, алюминиевая фольга, шоопировка) не должна иметь надрывов и трещин. В случае наличия подобных дефектов установить новую станиолевую обкладку или шоопированный экран. При отсутствии данных деталей допускается установка обкладки из жести, предварительно облуженной в местах контактов. В такой обкладке делаются прорези и отгибаются лепестки, с помощью которых обкладка крепится на листе электрокартона (рис. 11).

Рис. 11. Обкладка из жести для экрана выключателя ВМД-35

10.6. Проверить правильность расположения крепежных отверстий на листах экрана. Центры верхней пары отверстий должны отстоять на 110 ± 2 ми от верхнего края, а центры нижних отверстий - на 20 ± 2 мм.

Оснастка: линейка 150 мм.

10.7. Камеру 3 (см. рис. 9) очистить от грязи, промыть в чистом «сухом» трансформаторном масле. Убедиться в отсутствии ожогов, следов электрических разрядов, расслоений или короблений. При наличии дефектов произвести разборку гасительной камеры, согласно переходам 9 - 10.

Оснастка: ветошь.

10.8. Свинтить гайки 20 (см. рис. 10), снять прокладки 2, 4, 5; пластину 3; накладки 1, 6. Выявить дефекты согласно приложению 7. Дефектные детали заменить.

Оснастка: гаечный ключ 30.

10.9. Подобрать комплект прокладок 2, 4, 5, пластин 3 и накладок 1, 6. Установить вышеперечисленные детали на болты 21 в строгой последовательности согласно рис. 10, выдержав при этом размер 125+5 мм. Навинтить гайки 20.

Оснастка: штангенциркуль, гаечный ключ 30.

Примечание. Стальные стяжные болты 21 (установлены у некоторых выключателей) заменить на текстолитовые.

10.10. Осмотреть штангу 36 (см. рис. 1), убедиться в отсутствии трещин и сколов; дефектную штангу заменить. Подвесить штангу к рычагу-вилке 56 (см. рис. 8) с помощью оси 34 (см. рис. 1), установить шплинт 35, развести концы шплинта.

Оснастка: плоскогубцы, молоток.

10.11. Осмотреть подвижные контакты. При наличии оплавлений и раковин на контактных поверхностях опилить их напильником так, чтобы при опиловке не нарушить профиль контактов.

Контактные поверхности из меди или ее сплавов очистить от грязи и окисления с помощью напильника, шлифовальной шкурки или кардоленты. После зачистки удалить опилки, промыть детали в бензине, протереть. После опиловки на контактных поверхностях не должно оставаться раковин глубже 0,5 мм.

Подвижные контакты осматриваются и ремонтируются без снятия со штанги. При необходимости снятие подвижного контакта произвести согласно переходам 12, 13.

Оснастка: шкурка шлифовальная, ветошь, кардолента, напильники № 2, 4.

10.12. Свинтить гайку 5 (см. рис. 9), ослабить гайку 25, вывинтить стопорный винт 7 и снять траверсу 4 с ножом.

Оснастка: гаечные ключи 30 и 10, отвертка.

10.13. Надеть траверсу 4 на штангу, ввинтить стопорный винт 7, навинтить гайку 25, навинтить гайку 5 с шайбой 6, отрегулировать ход контакта 235+2-10 мм.

Оснастка: гаечные ключи 30 и 10, отвертка, линейка 1000 мм.

10.14. Осмотреть неподвижные контакты, убедиться в отсутствии оплавлений, раковин. При обнаружении последних опилить их напильником. Очистить от грязи и окислений. Удалить опилки, промыть контакты в бензине, протереть.

Оснастка: напильники № 2, 4, шлифовальная шкурка, ветошь.

10.15. Осмотреть контактные пружины 14 (см. рис. 9) в нормальном (несжатом) и сжатом состояниях. Выявить дефекты пружин согласно приложению 7. Заменить дефектные пружины новыми заводского изготовления.

10.16. Проверить состояние изоляционного колпачка 18 (см. рис. 10). При наличии разрывов и трещин на колпачке заменить его.

10.17. Осмотреть нижние кромки боковых граней неподвижных контактов 8 (см. рис. 9) и верхние кромки приливов на башмаке 16. Если эти кромки не имеют овала, то их необходимо опилить.

Оснастка: напильники № 2, 4, шлифовальная шкурка.

10.18. Осмотреть рычаг-вилку 56 (см. рис. 8), серьгу 48, двойные рычаги 27 и 33, рычаг 49, ролик 43 на отсутствие трещин, изломов. При наличии значительных дефектов у вышеперечисленных деталей ремонт их на месте не рекомендуется. Рекомендуется заменить фазу выключателя или весь выключатель с последующим ремонтом механизма выключателя в условиях мастерских.

10.19. Все трущиеся детали смазать тонким слоем смазки ЦИАТИМ-203.

Оснастка: кисть.

10.20. Свинтить гайку 16, вывинтить винт 15, выбить шпонку 14, снять вилку 13.

Оснастка: выколотка, молоток, отвертка, гаечный ключ 14.

10.21. Вывинтить болты 17 и снять подшипник 18.

Оснастка: гаечный ключ 24.

10.22. Осмотреть вилку 13, подшипник 18, вал 12 и убедиться в отсутствии трещин, изломов, выкрашиваний. При обнаружении значительных дефектов детали заменить. Следы коррозии снять шлифовальной шкуркой. Все трущиеся детали смазать тонким слоем смазки ЦИАТИМ-203.

Оснастка: шлифовальная шкурка, кисть.

10.23. Установить подшипник 18, ввинтить болты 17.

Оснастка: гаечный ключ 24.

10.24. Установить вилку 13, вставить шпонку 14, ввинтить винт 15, навинтить гайку 16.

Оснастка: гаечный ключ 14, отвертка, выколотка, молоток.

10.25. Расчленить вал выключателя с валом привода. Выбить штифт, ослабить винты, сдвинуть вилку привода, снять промежуточную вилку и промежуточный диск.

Переходы 1 - 19 повторить для двух других фаз.

Оснастка: отвертка, выколотка, молоток.

ОПЕРАЦИЯ 11

СНЯТИЕ И УСТАНОВКА ТРАНСФОРМАТОРОВ ТОКА

Узел 01. Выключатель

Трудозатраты - 1,0 чел.-ч

Состав звена: электрослесари 2-го разряда - 1 чел., 3-го разряда - 1 чел.

11.1. Вывинтить винты 5 (рис. 12), отключить внешние и внутренние концы, подключенные к трансформатору тока 6.

Оснастка: отвертка.

Рис. 12. Крепление изолятора и трансформатора тока:

1 - гайка М12; 2, 8 - шайба; 3 - контактный ряд КР-2; 4 - винт М6×22; 5 - винт М6×12; 6 - трансформатор тока; 7 - гайка М10; 9, 14 - скобы комплектовые; 10 - нижний фланец; 11, 12 - изоляционные шайбы; 13 - верхний фланец

11.2. Отвинтить гайки 7 с шайбами 8, снять нижний фланец 10, изоляционную шайбу 11, трансформатор тока 6, изоляционную шайбу 12; верхний фланец 13.

Оснастка: гаечный ключ 17.

11.3. Осмотреть изоляционные шайбы 11 и убедиться в отсутствии порывов и срезов. При обнаружении дефектов шайбы заменить.

11.4. Выявить дефекты гаек, болтов и резьбовых соединений согласно приложению 7.

Примечание. Снятие трансформаторов тока производить только при необходимости их замены или сушки.

11.5. Произвести переходы 2 - 1 в обратной последовательности.

11.6. Повторить переходы 1 - 5 для двух других фаз.

ОПЕРАЦИЯ 12

РЕМОНТ ВВОДОВ

Узел 01. Выключатель

Трудозатраты - 2,0 чел.-ч

Состав звена: электрослесари 2-го разряда - 1 чел., 3-го разряда - 1 чел.

12.1. Вывинтить стопорные винты 2 (рис. 13, см. вклейку), отвинтить гайки 1 и 30, колпак 4 с наконечником 29.

Оснастка: отвертка, гаечный ключ 46.


Рис. 13. Конденсатный ввод:

1, 30 - гайки М30; 2 - стопорные винты М6×15; 3 - гайка М20; 4 - колпак; 5 - болт М6×12; 6, 15, 22 - гайки М6; 7, 16, 20 - фланцы; 8 - шайба; 9 - компаундная масса; 10 - фарфоровая покрышка; 11 - портландцемент; 12, 25, 27, 28 - прокладка; 13 - кожух; 14 - винт М6×30; 17 - бандаж; 18 - конденсаторная втулка; 19 - штифт; 21 - токоведущий стержень; 23 - шайба 6,5/11×1 мм; 24 - винт М6×12; 26 - центрирующая шайба; 29 - наконечник


12.2. Вывинтить стопорный винт 2 из гайки 3, отвинтить гайку 3, снять прокладку (латунную шайбу) 27, центрирующую шайбу 26 и прокладку 25.

Оснастка: отвертка, гаечный ключ 30.

Примечания: 1. Переходы 1 и 2 производить при включенном положении выключателя во избежание провертывания токоведущего стержня 21 в конденсаторной втулке 18.

2. Вводы выключателей выпуска до 1954 г. заливались массой (мастикой) типа Э-3, не проверявшейся на морозостойкость. В ряде энергосистем в различные годы производилась перезаливка вводов, однако проверка массы на морозостойкость производилась не всегда. Если по указанным вводам отсутствуют данные о проверке массы на морозостойкость, то такие вводы необходимо заменить.

Значительное количество вводов выключателей выпуска до 1953 г. было выпущено с плохой герметизацией головок вводов. Если по ним отсутствуют данные о выполнении герметизации головок вводов, то герметизацию необходимо произвести вне зависимости от местности, где выключатель установлен.

12.3. Проверить состояние мастики в конденсаторном вводе. Поверхность мастики должна быть гладкой, без пузырей и полностью покрывать торец конденсаторной втулки 18. При наличии трещин, пузырей и т.п. на поверхности мастики ввод заменить.

12.4. Осмотреть прокладку 28 в месте прохода токоведущего стержня 21 через центрирующую шайбу 26. При наличии разрывов, срезов или потере упругости прокладку заменить.

12.5. Прокладку 28 изготовить из масло-бензостойкой резины в виде конуса (толщиной 11 - 12 мм), пропитать бакелитовым лаком и установить в коническую выточку центрирующей шайбы 26 (рис. 14).

Рис. 14. Уплотнение головки ввода выключателя

Обозначения см. рис. 13

12.6. Осмотреть уплотнение (герметизацию) в месте соприкосновения торца фарфоровой покрышки 10 с центрирующей шайбой 26. При обнаружении порывов, срезов, потере упругости уплотнения заменить прокладками из маслоупорной морозостойкой резины толщиной не менее 6 - 10 мм. Резиновая прокладка 25, предварительно зачищенная, покрытая бакелитовым лаком и подвергнутая воздушной сушке в течение 24 - 30 ч, устанавливается между центрирующей шайбой 26 и фарфоровой покрышкой 10.

Примечания: 1. Установка прокладок с непросохшим лаком недопустима, так как приводит к склеиванию металла и фарфора, после чего повторное вскрытие головки ввода невозможно без поломок и разрушений.

2. Чтобы во время сборки прокладка не сдвинулась со своего места, достаточно с одной стороны промазать ее лаком.

3. Применение прокладок из неэластичных материалов (клингерит, свинец) недопустимо.

12.7. Протереть фарфоровую покрышку 10 чистой ветошью, смоченной в бензине, убедиться в отсутствии трещин, сколов, выкрашиваний. Допускаются сколы не более 10 - 12 см на краях одной юбки ввода.

Сколы очистить и покрыть слоем олифы или масляной краски.

При значительных сколах или трещинах фарфоровую покрышку заменить.

Оснастка: кисть, ветошь.

12.8. Отвинтить гайки 22 с шайбами 23 и винтами 24, снять кожух 13. Осмотреть армировочные швы. Армировка не должна иметь трещин и выкрашивания, через нее не должна проникать заливочная масса ввода. Глубокие выкрашивания армировочных швов (более 1/4 глубины армировочного паза) можно устранить подармировкой замазкой того же состава, что и основная.

Непосредственно на месте подармировку ввода хорошего качества выполнить трудно, учитывая короткие сроки ремонта. Поэтому ввод с глубоким выкрашиванием армировочных швов следует заменить новым. Поверхностные неглубокие выкрашивания армировочных швов устраняются шпаклевкой шва замазкой с последующей покраской шва масляной краской.

Оснастка: отвертка, ключ гаечный 10.

12.9. Осмотреть бакелитовую втулку, убедиться в отсутствии царапин и повреждений лакового покрова. Если такие повреждения обнаружены, то места повреждений должны быть вытерты насухо (удалено масло), зачищены шлифовальной шкуркой, обезжирены бензином.

Оснастка: ветошь, шлифовальная шкурка.

12.10. Покрыть места повреждения маслостойким лаком воздушной сушки. Допускается применение бакелитового или глифталевого лака с сушкой на воздухе не менее 2 - 3 ч.

Оснастка: кисть.

12.11. Установить кожух 13, закрепить его винтами 24, гайками 22 с шайбами 23.

12.12. Установить на фарфоровую покрышку 10 прокладку 25, центрирующую шайбу 26, прокладку (латунную шайбу) 27.

12.13. Навинтить гайку 3 на токоведущий стержень до тех пор, пока прокладка 28 не будет сжата на 60 - 70 % своей первоначальной высоты. Это дает возможность компенсировать температурные изменения длины деталей ввода и одновременно дает необходимое уплотнение.

Гайка 3, зажимающая прокладку, ставится на паклю с суриком и после затяжки фиксируется стопорным винтом 2.

Оснастка: гаечный ключ 30, отвертка, пакля.

12.14. Установить колпак 4 с наконечником 29, навинтить гайки 1, 30, ввинтить стопорные винты 2.

Оснастка: гаечный ключ 46, отвертка.

Примечание. При ограниченном сроке вывода в ремонт оборудования, ремонт ввода на месте не производить. В этом случае ввод, подлежащий ремонту, заменить новым, а ремонт его производить в условиях мастерских.

12.15. Проложить прокладку 20 (см. рис. 1) на отверстие крышки под фланец конденсаторного ввода 33, поднять ввод на выключатель, установить осторожно в отверстие крышки, центрировать до совпадения осей отверстий. Отрегулировать окончательно положение ввода, окончательно закрепить ввод на крышках болтами 11, гайками 12 с шайбами 10. Во избежание перекосов гайки 12 навинчивать поочередно по диагонали.

Оснастка: гаечные ключи 22 и 24.

ОПЕРАЦИЯ 13

СБОРКА МАСЛЯНОГО БУФЕРА И НАПРАВЛЯЮЩЕГО ЦИЛИНДРА

Узел 01. Выключатель

Трудозатраты - 1,5 чел.-ч

Состав звена: электрослесари 2-го разряда - 1 чел.; 3-го разряда - 1 чел.; 4-го разряда - 1 чел.

13.1. Перед сборкой все детали тщательно очистить от грязи, пыли, промыть в бензине, насухо протереть. Все металлические детали смазать тонким слоем смазки ЦИАТИМ-203.

Оснастка: ветошь, плоскогубцы.

13.2. Собрать и установить на место цилиндр 44 (см. рис. 1) со стаканом 40 и пружиной 41. Центрировать до совпадения отверстий стакана с отверстиями коробки 55 (см. рис. 8), выверить отвесом, отрегулировать перпендикулярность оси цилиндра 44 (см. рис. 1) к горизонтальной плоскости.

Отрегулировать свободное вращение цилиндра 44 вокруг штанги 36, закрепить цилиндр, ввинчивая постепенно болты 42 с шайбами 43.

Ввинтить ушко 38 и законтрить гайкой 37.

Оснастка: отвес, гаечный ключ 17.

13.3. Заправить пружину 39 в ушко 38 и проверить ее работу.

13.4. Установить скобу 22, закрепить болтами 23 с шайбами 24.

Повторить переходы 1 - 4 для двух других фаз.

Оснастка: гаечный ключ 17.

ОПЕРАЦИЯ 14

СБОРКА ГАСИТЕЛЬНОГО УСТРОЙСТВА. РЕГУЛИРОВКА

Узел 01. Выключатель

Трудозатраты - 3,0 чел.-ч

Состав звена: электрослесари 2-го разряда - 1 чел.; 3-го разряда - 1 чел.; 4-го разряда - 1 чел.

14.1. Перед сборкой все детали очистить от грязи, пыли, промыть в бензине, насухо протереть.

Оснастка: ветошь.

14.2. Установить контакт 9 (см. рис. 10) в прорезь башмака 10, проверить равномерность распределения зазоров между контактом и направляющими башмака; в случае необходимости установить шайбу между контактом и направляющими башмака; вставить ось 8; совместить резьбовое отверстие в контакте 9 с несквозным отверстием в оси 8 и ввинтить винт 7.

Оснастка: отвертка, молоток.

14.3. Предварительно прикрепить гибкую связь 13 к колодке 15, установить колодку 15 и хомут 14 на башмак 10, закрепить вторые концы гибких связей с помощью болтов 11 и стопорной планки 12, установить камеру на зачищенный стержень ввода. Окончательно закрепить гибкую связь болтами 16.

Оснастка: гаечный ключ 17.

14.4. Установить колпачок 18 (см. рис. 10) и пружину 14 (см. рис. 9).

14.5. Проверить установочные размеры камеры:

а) с помощью отвеса измерить отклонение от вертикали дугогасительной камеры. Допускается отклонение от вертикали на ±1 мм на полную высоту камеры.

Оснастка: отвес, линейка 150 мм.

б) измерить с помощью штангенциркуля диаметр штанги 36 (см. рис. 1).

Оснастка: штангенциркуль ШЦ-Ш 0 - 500 мм;

в) измерить расстояние C между камерой и штангой;

г) определить расстояние L между камерой и осью штанги как сумму , которое должно быть равно 80 ± 1 мм.

Оснастка: штангенциркуль.

14.6. Проверить правильную центровку камеры относительно подвижных контактов, для чего выключатель включить вручную до подхода подвижных контактов к неподвижным. Подвижные контакты должны перемещаться в камере, не касаясь ее стенок. Положение камеры регулируется ее поворотом вокруг токоведущего стержня.

14.7. Измерить вжим и одновременность замыкания контактов в фазе и между фазами (рис. 15), для чего:

а) выключатель включить вручную до соприкосновения подвижных контактов с неподвижными, что определяется по зажиганию лампы. На штанге 36 (см. рис. 1) против нижнего торца направляющей трубы (цилиндра) сделать карандашом первую отметку, соответствующую этому положению. Затем выключатель довключить до положения «Вкл.». При этом на изолирующей штанге 36 сделать вторую отметку.

Оснастка: измерительная линейка 150 мм.

Расстояние между отметками соответствует вжиму, который должен быть 12 ± 2 мм;

б) на штанге 36 при проверке вжима нанести отметки, соответствующие замыканию контактов в одной и другой камерах. Эти отметки должны быть близки друг к другу. Лампы, включенные на одну и другую камеры одной фазы, должны загораться почти одновременно. Разновременность замыкания контактов одной фазы допускается не более 2 мм по ходу штанги. В случае неправильного вжима или большей разновременности производится регулировка контактной системы фазы. Для этого одну или обе камеры поднимают или опускают на токоведущих стержнях вводов на несколько миллиметров. При этом должны быть выдержаны установочные размеры и соблюдена центровка камер. Вместо перемещения камер в отдельных случаях достаточно переместить подвижный контакт;

в) описанным выше методом определить разновременность замыкания контактов между фазами, которая должна быть не более 4 мм. Это означает, что от замыкания контактов в первой камере одной из фаз (загорание первой лампы) до замыкания контактов в последней камере (загорание последней лампы) ход штанги выключателя должен быть не более 4 мм.

Рис. 15. Схема для определения разновременности замыкания контактов выключателя:

1 - подвижный контакт; 2 - щиток с лампами; 3 - рубильник

14.8. Измерить ход подвижных контактов. Измерение производить только для средней фазы. На изолирующей штанге делается отметка в отключенном и включенном положениях. Расстояние между отметками есть ход подвижных контактов, который должен быть 235+2-10 мм.

Оснастка: измерительная линейка 1000 мм.

14.9. Измерить сопротивление токоведущей цепи фазы (между выводами фазы включенного выключателя без баков). Сопротивление должно быть не более 410 мкОм. Если общее переходное сопротивление больше 410 мкОм в воздушной среде, то производится поэлементная проверка переходного сопротивления. Ориентировочные величины сопротивления приведены в таблице.

Оснастка: микрометр М 246.

Примечание. Измерения производить при замкнутой вторичной обмотке трансформаторов тока на рабочую нагрузку или накоротко.

Левая сторона

Правая сторона

Ввод

Стержень (колодка)

Гибкая связь

Подвижный контакт

Траверса

Ввод

Стержень (колодка)

Гибкая связь

Подвижный контакт

62

2

40

80

40

62

2

40

80

14.10. Измерить скорости движения подвижных контактов при включении и отключении (приложение 9).

14.11. Измерить угол диэлектрических потерь изоляции выключателя при опущенных баках, который должен быть не более 0,06 (6 %).

14.12. Измерить сопротивление изоляции каждой из токоведущих частей выключателя в отдельности. Измеренное сопротивление изоляции должно быть не менее 1000 МОм.

Оснастка: мегомметр МС-0,5.

14.13. Проверить действие приводного механизма выключателя. Выключатель вместе с приводом медленно включать рычагом ручного включения. При этом проверить, нет ли участков, где подвижная система заедает и чувствуется увеличение мускульного усилия, требующегося для включения. В процессе включения в течение всего хода несколько раз ослаблять усилие на рычаге ручного включения, создавая возможность обратного движения подвижной системы выключателя.

Проверять, не произойдет ли в каком-либо промежуточном положении останов (зависание) подвижной системы выключателя. Если при опробовании выявится заедание приводного механизма в положении «Вкл.», то проверить правильность положения рычагов приводного механизма во включенном положении выключателя.

Для этого приводной механизм расчленить с передаточным механизмом от привода и свинтить глухую гайку 36 (см. рис. 8), гайку 34 и вывинтить ограничительный винт 35.

Оснастка: гаечный ключ 19, отвертка.

Выключатель включить вручную. В этом положении ограничительный винт 35 средней фазы ввинчивать в крышку до тех пор, пока выключатель не отключится. Затем ограничительный винт 35 ввинтить еще на 1 - 2 оборота и закрепить гайкой 34. Выключатель вновь включить вручную до упора в ограничительный винт и удержать в таком положении. При этом ограничительные винты на крайних фазах ввинтить до упора в рычаги приводного механизма и закрепить их гайками 34. Повторить переходы 1 - 13 для двух других фаз. Установить экран 18 (см. рис. 9), ввинтить болты 1, крепящие экран 18 к камере 3.

14.14. Установить на винт 13 проводник 23, навинтить гайку 12 на винт 13.

Примечание. Проводник должен идти непосредственно к винту 13 комплектового башмака 16 и располагаться внутри объема, ограниченного экраном.

Нельзя располагать проводник между наружным и внутренним листами экрана.

ОПЕРАЦИЯ 15

РЕМОНТ МАСЛОУКАЗАТЕЛЯ

Узел 01. Выключатель

Трудозатраты - 1,5 чел.-ч

Состав звена: электрослесари 2-го разряда - 1 чел., 3-го разряда - 1 чел., 4-го разряда - 1 чел.

15.1. Снять колпачок 8 (рис. 16) со стержня 2, свинтить гайку 7 с шайбой 6, снять крышку 5 и шайбу 4 с трубки 3, снять шайбу 1 со стержня 2, вывинтить стержень 2 из основания 9, вваренного в стенку бака выключателя.

Оснастка: гаечный ключ 10, плоскогубцы.

Рис. 16. Маслоуказатель:

1, 4 - шайба; 2 - стержень; 3 - трубка; 5 - крышка; 6 - шайба 6,5/11×1 мм; 7 - гайка М6; 8 - колпачок; 9 - основание

15.2. Осмотреть шайбы 1, 4, убедиться в отсутствии порывов, срезов, при их обнаружении или потере упругости шайбы 1, 4 заменить.

15.3. Осмотреть стеклянную трубку, убедиться в отсутствии сколов, трещин; при их обнаружении трубку заменить. Проверить состояние отметок уровня масла.

15.4. Осмотреть колпачок 8, шайбу 6, крышку 5, стержень 2, убедиться в отсутствии сколов, выкрашиваний, трещин. При их обнаружении детали заменить.

15.5. Проверить все резьбовые соединения согласно приложению 7.

15.6. Собрать маслоуказатель в обратной последовательности согласно переходу 1. Повторить переходы 1 - 6 для двух других фаз.

ОПЕРАЦИЯ 16

РЕМОНТ БАКОВ И СОЕДИНИТЕЛЬНЫХ ТРУБ

Узел 01. Выключатель

Трудозатраты - 1,5 чел.-ч

Состав звена: электрослесари 2-го разряда - 1 чел., 3-го разряда - 1 чел., 4-го разряда - 1 чел.

16.1. Бак 29 (см. рис. 1) очистить от грязи, промыть бензином, протереть.

Оснастка: ветошь.

16.2. Вынуть фанерные обкладки из бака. Осмотреть места крепления фанерной обкладки к рейкам. Гвозди должны быть деревянными.

16.3. Осмотреть бак и соединительные трубы, убедиться в отсутствии трещин, вмятин. Трещины заварить, вмятины отрихтовать.

16.4. Установить в бак 29 фанерную обкладку, при этом деревянные соединительные бруски должны быть расположены так, чтобы их оси находились на расстоянии около 80 мм от малой оси эллиптического сечения бака.

Оснастка: линейка 150 мм.

16.5. Осмотреть уплотнения швов между соединительными трубами 46 и крышками выключателя при необходимости заменить, при наличии незначительных дефектов швы промазать замазкой и покрасить масляной краской. Повторить переходы 1 - 5 для двух других фаз.

Оснастка: кисть.

ОПЕРАЦИЯ 17

ОКОНЧАТЕЛЬНАЯ СБОРКА ВЫКЛЮЧАТЕЛЯ

Узел 01. Выключатель

Трудозатраты - 1,5 чел.-ч

Состав звена: электрослесари 2-го разряда - 1 чел., 3-го разряда - 1 чел., 4-го разряда - 1 чел.

17.1. Освободить тросик и одеть его на ролики бака 29 (см. рис. 1) и с помощью лебедки 30 поднять бак, центрируя относительно контактов и дугогасительных камер, закрепить бак болтами 7, гайками 6 с шайбами 5.

Переход 1 повторить для остальных фаз.

Оснастка: гаечный ключ 30.

17.2. Замерить наибольший вращающий момент вала 12 (см. рис. 8), который должен быть не более 21 кгс · м, для чего рычагом ручного включения включить выключатель. За свободный конец рычага ручного включения зацепить динамометр и замерить удерживающее усилие. Вращающий момент определится как произведение плеча и усилия P (рис. 17).

Оснастка: динамометр, рычаг ручного включения.

Рис. 17. Схема измерения вращающегося момента:

1 - динамометр; 2 - рычаг ручного включения; 3 - вилка выключателя

17.3. Установить трубу 13 (рис. 1) газоотвода на соединительную муфту.

Оснастка: трубный рычажный ключ.

17.4. Зашпаклевать щели между вводами и крышкой.

17.5. Зачистить место под болт заземления 9; установить болт заземления 9 с шайбой 8, смазав смазкой ЦИАТИМ-203.

Оснастка: гаечный ключ.

17.6. Открытые токоведущие части на вводах смазать смазкой ЦИАТИМ-203.

17.7. Залить баки маслом, установить пробки и уплотнительные шайбы, проверить уплотнения; в случае необходимости улучшить их.

17.8. Установить и закрепить колпачок 1 на пробке маслоспускного отверстия.

Оснастка: плоскогубцы.

Покрасить выключатель. Повторить переходы 1 - 9 для двух других фаз.

ОПЕРАЦИЯ 18

РЕВИЗИЯ ПЕРЕДАТОЧНОГО МЕХАНИЗМА

Узел 01. Выключатель

Трудозатраты - 0,6 чел.-ч

Состав звена - электрослесарь 4-го разряда - 1 чел.

18.1. Очистить от грязи, засохшей смазки, ржавчины и проверить состояние вилки выключателя 5 (рис. 18), вилки привода 2, промежуточного диска 4, промежуточной вилки 3, регулировочных винтов 7 и конусных штифтов 8.

Рис. 18. Передаточный механизм от привода к выключателю:

1 - вал привода; 2 - вилка привода; 3 - промежуточная вилка; 4 - промежуточный диск; 5 - вилка выключателя; 6 - вал выключателя; 7 - регулировочный винт; 8 - штифт

Вилки не должны иметь раковин, трещин и изломов.

Регулировочные болты не должны иметь искривлений, вмятин, забоев в резьбовой части.

Размер конусных штифтов должен быть 6×60 мм. Посадка штифтов должна быть плотной, а штифты входить в отверстия не менее чем на 2/3 своей длины.

Дефектные детали заменить.

Оснастка: ветошь.

18.2. Проверить соосность валов привода 1 и вала выключателя 6.

Расстояние между концами валов должно быть 55 - 60 мм.

18.3. Установить промежуточный диск 4, промежуточную вилку 3, подвинуть вилку привода на конец вала 1; совместить отверстия в вилке 2 и вале 1, установить штифт 8, ввинтить винты 7.

Оснастка: слесарный молоток, выколотка, отвертка.

18.4. Проверить правильность сочленения передаточного механизма:

- выступы вилки 2 должны быть зажаты по центру пазов промежуточной вилки 3;

- вилки привода и промежуточная вилка в продольном направлении должны иметь зазор 2 мм;

- между торцом винта 7 и плоскостью каждого зуба вилки 2 должен быть зазор около 0,5 мм;

- положение вилки 2 в пазу промежуточной вилки 3 должно быть отрегулировано винтами 7 так, чтобы в положении привода «Вкл.» был выдержан зазор 1,5 мм между рычагом приводного механизма выключателя и ограничительным винтом.

Для возможности измерения зазора в ограничительном винте средней фазы по ее оси должно быть просверлено отверстие диаметром 2 - 2,5 мм.

Зазор между ограничительным винтом и рычагами измерить следующим образом:

а) в положении выключателя «Вкл.» через отверстие в ограничительном винте измерить расстояние от верхнего торца ограничительного винта до рычага приводного механизма;

б) рычагом ручного включения довести выключатель в положение до упора рычага в ограничительный винт и снова игольчатым щупом измерить расстояние между торцом ограничительного винта и рычагом.

Зазор между рычагом и ограничительным винтом определяется как разность двух предыдущих измерений.

Оснастка: игольчатый щуп.

18.5. Смазать детали передаточного механизма тонким слоем смазки ЦИАТИМ-203.

ОПЕРАЦИЯ 19

ИСПЫТАНИЯ И РЕГУЛИРОВКА ВЫКЛЮЧАТЕЛЯ (ОКОНЧАТЕЛЬНАЯ)

Узел 01. Выключатель

Трудозатраты - 1,8 чел.-ч

Состав звена - электрослесари 2-го разряда - 1 чел., 3-го разряда - 1 чел., 4-го разряда - 1 чел.

19.1. Измерить угол диэлектрических потерь изоляции выключателя при поднятых и залитых маслом баках.

Оснастка: мост ММВ.

Угол диэлектрических потерь должен быть не более 0,08 (8 %).

Разница при испытании с поднятым и опущенным баками должна быть не более 0,02 (2 %).

Большая разница свидетельствует об увлажнении внутрибаковой изоляции и в первую очередь изоляционных листов экрана.

В этом случае экраны заменяются заведомо сухими запасными. Если при повторном испытании с замененными экранами tg δ не снизил своего значения, то необходимо заменить камеры и взять пробу масла из баков выключателя для определения tg δ масла.

19.2. Испытать изоляцию выключателя повышенным напряжением 95 кВ переменного тока.

При испытании изоляции не должны наблюдаться перекрытия и пробои.

19.3. Измерить время включения и отключения выключателя.

Собственное время отключения выключателя (с момента подачи команды на отключение до расхождения контактов) должно быть не более 0,06 с.

Время включения 0,35 с (не более) при 0,06 с.

Оснастка: электрический секундомер.

ОПЕРАЦИЯ 20

ПРОВЕРКА РАБОТЫ И ИСПЫТАНИЯ ПРИВОДА С ВЫКЛЮЧАТЕЛЕМ

Узел 01. Выключатель

Трудозатраты - 2,4 чел.-ч

Состав звена - электрослесари: 2-го разряда - 1 чел., 3-го разряда - 1 чел., 4-го разряда - 1 чел.

20.1. Проверить работу механизма свободного расцепления в двух-трех положениях рычажной системы, для чего:

- рычагом ручного включения привода механизм включения привести в положение, близкое к положению «Вкл.», и воздействовать на механизм свободного расцепления с помощью электромагнита отключения 30 или рычага для ручного отключения. При этом выключатель должен отключиться;

- рычагом ручного включения привода привести сердечник со штоком электромагнита включения (ЭВ) в верхнее крайнее положение и воздействовать на механизм отключения. При этом выключатель также должен отключиться.

20.2. Проверить срабатывание ЭВ привода при 1,0Uн; 0,8Uн; 1,1Uн и 30 при Uн, 0,65Uн, 1,2Uн.

Произвести два - три опробования на каждом уровне напряжения, но не более 10 раз подряд.

20.3. Измерить напряжение на зажимах катушки ЭВ при включении выключателя, которое должно быть не менее 90 % Uн. В режиме заряда батареи и при питании привода по разомкнутому кольцу допускается снижение напряжения на зажимах катушки в момент включения до 80 % Uн.

20.4. Опробовать действие блокировки от «прыгания», для чего включить выключатель от ключа управления и, не отпуская рукоятки, замкнуть цепь отключения. Выключатель должен один раз отключиться и оставаться отключенным все время, пока замкнута цепь на включение.

20.5. Произвести проверку и испытания цепей вторичной коммутации в соответствии с требованиями сборника «Объем и нормы испытаний электрооборудования» и действующих инструкций.

20.6. Подключить шинные спуски.

Навинтить гайки 45 (см. рис. 1).

Оснастка: гаечный ключ 46.

Приложение 1

ПЕРЕЧЕНЬ ИНСТРУМЕНТОВ, НЕОБХОДИМЫХ ДЛЯ КАПИТАЛЬНОГО РЕМОНТА ВЫКЛЮЧАТЕЛЯ ВМД-35/600

Наименование инструмента

Условное обозначение инструмента

ГОСТ

Количество, шт.

Ключ гаечный с открытыми зевами двусторонний:

 

 

 

S = 8×10 мм

7811-0003

ГОСТ 2339-71

2

S = 12×14 мм

7811-0021

ГОСТ 2839-71

2

S = 14×17 мм

7811-0022

ГОСТ 2839-71

2

S = 17×19 мм

7811-0023

ГОСТ 2839-71

2

S = 22×24

7811-0025

ГОСТ 2839-71

2

Ключ гаечный с открытым зевом односторонний:

 

 

 

S = 30 мм

7811-0142

ГОСТ 2841-71

2

S = 46 мм

7811-0146

ГОСТ 2841-71

2

Ключ трубный рычажный № 1

1/4 - 1″

ГОСТ 6813-39

1

Плоскогубцы комбинированные длиной 200 мм

200

ГОСТ 5547-52

2

Круглогубцы длиной 160 мм

7814-0114

ГОСТ 7283-73

1

Плоский тупоносый напильник:

 

 

 

L = 300 мм № 4

2820-0029

ГОСТ 1465-69

1

L = 100 мм № 2

2820-0002

ГОСТ 1465-69

1

Отвертка слесарно-монтажная типа Б 200×1,0

200×1,0

ГОСТ 17199-71

1

Молоток слесарный стальной типа 1 массой 400 г

7850/0051

ГОСТ 2310-70

1

Линейка измерительная металлическая:

 

 

 

L = 150 мм

1-150

ГОСТ 427-56

1

L = 300 мм

1-300

ГОСТ 427-56

1

L = 1000 мм

1-1000

ГОСТ 427-56

1

Уровень брусковый L = 150 мм

 

ГОСТ 9392-60

1

Штангенциркуль с двусторонними губками типа ЩЦ-II L = 200 мм

 

ГОСТ 166-63

1

Микрометр типа МК с пределами измерений 0 - 25 мм

 

ГОСТ 6507-60

1

Щуп L = 100 мм с набором № 4

 

ГОСТ 882-64

1

Отвес ОТ-100

 

ГОСТ 7948-71

1

Кисть КФ-25

 

ГОСТ 10597-70

2

Кисть КФК-6

 

ГОСТ 10597-70

4

Выколотка с медным наконечником D = 8 мм, L = 100 мм

С 7851-2021

-

1

Щуп игольчатый (изготовить из стальной проволоки Æ 1,5 мм)

-

-

1

Приложение 2

ПЕРЕЧЕНЬ ПРИБОРОВ, ПРИМЕНЯЕМЫХ ПРИ КАПИТАЛЬНОМ РЕМОНТЕ ВЫКЛЮЧАТЕЛЯ ВМД-35/600

Наименование

ГОСТ, ОСТ, ТУ

Количество, шт.

Мост переносный типа ММВ

ГОСТ 13216-67

1

Комбинированный прибор Ц4312

ГОСТ 8711-60

1

Мегомметр типа М1101М (1000 В)

ГОСТ 8038-60

1

Мегомметр МС-5 (2500 В)

ГОСТ 8038-60

1

Мост МД-16 или Р525

25-04-737-70

1

Микрометр М246

25-04-909-69

1

Трансформатор напряжения НОМ-10

ГОСТ 1983-67

1

ЛАТР 1

 

1

Динамометр образцовый переносный типа ДОР 5-50ктс

ГОСТ 9500-60

1

Трансформатор 220/12

-

1

Виброграф 12В

-

1

Шнур-удлинитель электрический

-

1

Вольтметр типа Э-58 0 - 300 В

ГОСТ 8711-60

1

Шестиламповая схема

-

1

Электросекундомер

-

1

Приложение 3

ПЕРЕЧЕНЬ ЗАПАСНЫХ ЧАСТЕЙ, НЕОБХОДИМЫХ ДЛЯ КАПИТАЛЬНОГО РЕМОНТА ВЫКЛЮЧАТЕЛЯ ВМД-35/600

Наименование

Номер чертежа

Количество, шт.

Катушка включающая 110/220 В

5БП.522.009-1

1

Катушка отключающая 110/220 В

5БП.522.009-2

5БП.520.238

1

1

Собачка удерживающая

5БП.272.012

1

Собачка отключающая

5БП.272.013

1

Серьга комплектовая

5БП.471.019-2

1

Серьга

8БП.471.154

2

Шайба немагнитная

8БП.950.071

1

Пружина

8БП.281.113

1

Контакт неподвижный

8БП.551.087

4

Контакт подвижный

8БП.551.086

1

Контакт поворотный для КСА

5БП.551.787

8

Контакт поворотный для КБО, КБВ

5БП.551.323

2

Ввод конденсаторный

5БП.516.327.1

1

Трансформатор тока

6БП.176.081.083

1

Штанга

5БП.743.065

1

Лебедка съемная

6БП.773.006

1

Цилиндр

5БП.268.210

1

Изоляция бака

5БП.750.510

1

Контакт

8БП.551.259

1

Камера гасительная

5БП.740.123

1

Траверса

П.566.025

1

Гибкая связь

2С-548

1

Экран

5БП.790.001

1

Приложение 4

ПЕРЕЧЕНЬ МАТЕРИАЛОВ, НЕОБХОДИМЫХ ДЛЯ КАПИТАЛЬНОГО РЕМОНТА ВЫКЛЮЧАТЕЛЯ ВМД-35/600

Наименование материалов

ГОСТ

Количество, шт.

Масло трансформаторное, кг

ГОСТ 082-68

400

Смазка ЦИАТИМ-203, кг

ГОСТ 8773-63

0,5

Графит «П», кг

ГОСТ 8295-57

0,05

Бензин авиационный Б-70, кг

ГОСТ 1012-72

3,0

Ветошь обтирочная, кг

ГОСТ 5354-68

5,0

Шкурка шлифовальная разная, м2

ГОСТ 5009-68

0,5

Краска желтая, красная, зеленая, черная, серая

ГОСТ 9640-61

По необходимости

Картон электроизоляционный ЭМ (1,0)

ГОСТ 4194-68

То же

Резина листовая техническая:

 

 

50 мм

ГОСТ 7338-65

-»-

12 мм

Лак бакелитовый

ГОСТ 901-56

-»-

Шплинты разные

ГОСТ 397-66

-»-

Олифа оксоль

ГОСТ 190-68

-»-

Шпаклевка

ГОСТ 10277-62

-»-

Краска масляная земляная густотертая (сурик железный)

ГОСТ 8866-58

-»-

Пакля смоляная ленточная

ГОСТ 16183-70

-»-

Пластилин

-

-»-

Приложение 5


1 - наружный осмотр выключателя и привода (операция 01); 2 - ревизия и ремонт привода. Выявление дефектов (операции 02 - 07); 3 - ревизия передаточного механизма (операция 18); 4 - ремонт вводов (операция 12); 5 - снятие и установка трансформаторов тока (операция 11); 6 - разборка и ревизия гасительного устройства (операция 10); 7 - слив масла. Общая разборка выключателя (операция 09); 8 - расшиновка выключателя (операция 08); 9 - сборка масляного буфера и направляющего цилиндра (операция 13); 10 - сборка гасительного устройства. Регулировка (операция 14); 11 - ремонт маслоуказателей (операция 15); 12 - ремонт баков и соединительных труб (операция 16); 13 - окончательная сборка выключателя (операция 17); 14 - испытания и регулировка выключателя (окончательная, операция 19); 15 - проверка работы и испытания привода с выключателем (операция 20)

Примечание. В кружке над чертой указано: - номер события, соответствующий номеру технологической операции; под чертой слева - суммарное время, затраченное на выполнение технологической операции от начала ремонта; под чертой справа - разряд и количество человек в звене.


При повторной операции к номеру события приписывается буква (А, В, С), указывающая полное обозначение выключателя.

Между кружками под чертой указывается количество человек в звене и время, затраченное одним электромонтером.

Приложение 6

РЭУ _____________________________

Предприятие ______________________

Подстанция _______________________

Присоединение ____________________

Технический акт
капитального ремонта выключателя ВМД-35/600

Заводской №______________________________ Год изготовления _________________

Причина ремонта ___________________________________________________________

(плановый, внеочередной)

Дата предыдущего ремонта __________________________________________________

Начало ремонта ____________________________________________________________

(дата, время)

Окончание ремонта _________________________________________________________

(дата, время)

Число отключений КЗ между капитальными ремонтами __________________________

I. Привод ПЭ-11

а) данные о ремонте

Наименование операции

Отметка о выполнении

Состояние после ремонта

Ремонт включающего механизма

 

 

Ремонт отключающего механизма

 

 

Ремонт запирающего механизма

 

 

Ремонт механизма свободного расцепления

 

 

Ревизия привода

 

 

б) данные о регулировке и испытаниях

Данные

Норма

Результаты замера

Зазор между роликом и отключающей защелкой, мм

0,5 - 1,0

 

Зазор между осью и удерживающей защелкой, мм

1 - 1,5

 

Ход сердечника ЭВ, мм

81

 

Ход сердечника ЭО, мм

18 - 20

 

Запас хода сердечника ЭО после расцепления отключающего механизма, мм

2 - 3

 

Полный ход блок-контакта ЭО, мм

18,5

 

Сопротивление включающей катушки

Uн = 110 В, 0,874 ÷ 1,028 Ом

Uн = 220 В, 3,096 ÷ 4,101 см

 

Сопротивление отключающей катушки

110/220 В, 80,96/95,04 Ом

 

Сопротивление изоляции включающей катушки

1,0 МОм

 

Сопротивление изоляции отключающей катушки

1,0 МОм

 

II. Выключатель

а) данные о ремонте

Наименование операции

Отметки о ремонте

Фаза А

Фаза В

Фаза С

Разборка и ревизия частичного устройства. Ремонт контактов

 

 

 

Ремонт (замена) трансформаторов тока

 

 

 

Ремонт вводов

 

 

 

Ремонт масляного буфера

 

 

 

Ремонт баков и баковой изоляции

 

 

 

Ревизия передаточного механизма

 

 

 

б) Данные о регулировке и испытаниях

Данные

Норма

Результата замера

Фаза А

Фаза В

Фаза С

Ход подвижной части (траверсы), мм.................................

235+2-10

 

 

 

Ход в контактах (вжим), мм.................................................

12 ± 2

 

 

 

Разновременность замыкания и размыкания контактов в пределах фазы (не более), мм..............................................

2

 

 

 

Разновременность замыкания и размыкания контактов между фазами (не более), мм...............................................

4

 

 

 

Переходное сопротивление, на включенном полюсе, 10-6 Ом (в воздушной среде).....................................................

410

 

 

 

Зазор между ограничительным винтом и рычагами приводного механизма выключателя, мм..........................

1,5

 

 

 

Максимальная скорость:

 

 

 

 

а) включения, м/с (при Uн)....................................................

2,5 ± 0,3

 

 

 

б) отключения, м/с (при Uн).................................................

3,1 ± 0,3

 

 

 

Сопротивление изоляции подвижных и направляющих частей не менее, МОм...........................................................

1000

 

 

 

III. Данные о совместной работе привода с выключателем

Операция

Величина напряжения оперативного тока

Работа привода (четкая, привод не работает)

Работа механизма свободного расцепления в двух - трех положениях рычажной системы

-

 

Действие блокировки от «прыгания»

-

 

Проверка срабатывания ЭВ при:

 

 

1,0Uн

 

 

0,8Uн

 

 

1,1Uн

 

 

Проверка срабатывания ЭО при:

 

 

1,0Uн

 

 

0,65Uн

 

 

1,2Uн

 

 

Проверка времени движения подвижных частей выключателя:

 

 

при замыкании контактов

Не более 0,35 с

 

при размыкании контактов

Не более 0,06 с

 

Опробование работы выключателя при напряжении на зажимах катушки:

 

 

1,1Uн

 

 

1,0Uн

 

 

0,8Uн

 

 

IV. Данные о масле

Дата взятия пробы

Место взятия пробы

Данные испытаний

Номер протокола

Марка масла, залитого в выключатель

Uпр

КОН

Реакция

всп

 

 

 

В ходе ремонта заменены детали, узлы:

__________________________________________________________________________

__________________________________________________________________________

Замечания по ремонту, указанные эксплуатационному персоналу:

__________________________________________________________________________

__________________________________________________________________________

__________________________________________________________________________

__________________________________________________________________________

Выключатель из ремонта

сдал производитель работ ______________________                        (                            )

(подпись, дата)

Выключатель из ремонта

привял начальник (мастер)

эксплуатационного участка ______________________                     (                            )

(подпись, дата)

Приложение 7

ОБЩИЕ ТЕХНОЛОГИЧЕСКИЕ УКАЗАНИЯ ПО ВЫЯВЛЕНИЮ ДЕФЕКТОВ ДЕТАЛЕЙ

I. Цилиндрические пружины

1. Цилиндрические винтовые пружины подлежат отбраковке при наличии трещин и надломов.

2. Неравномерность шага витка по всей длине пружины допускается не более 10 %, за исключением концевых поджатых витков у пружин, работающих на сжатие.

3. Неперпендикулярность обработанных торцов к оси пружины допускается не более 5 мм на длине 100 мм и кривизна в свободном состоянии не более 4 % длины пружин, работающих на сжатие, и не более 6 % длины пружин, работающих на растяжение.

4. Потеря упругости пружин допускается в пределах 5 - 10 % номинальной величины.

II. Уплотнения

1. Самоподжимные сальники непригодны к дальнейшей работе, если они имеют следующие дефекты:

а) вмятины, глубокие риски и другие механические повреждения корпуса крышки;

б) неплотную посадку манжеты сальника в корпусе;

в) трещины, прорезы, надрывы, грубые заусенцы и глубокие риски на поверхности манжеты, соприкасающейся с валом;

г) обрыв или повреждение пружины.

2. Все войлочные сальники и уплотнения при капитальном ремонте подлежат замене.

III. Уплотнительные прокладки

1. Картонные и паронитовые прокладки не должны иметь вырванных мест и разрывов.

2. Неравномерность толщины прокладки не должна превышать 0,1 мм по всей длине.

3. Поверхность прокладки должна быть ровной, чистой, без складок и морщин.

4. У резиновых прокладок не должно быть трещин, срезов, остаточной деформации. При наличии вышеперечисленных дефектов или потере упругости прокладки подлежат замене.

IV. Болты, шпильки, гайки, резьбовые соединения

1. Состояние резьбы необходимо проверять внешним осмотром и навертыванием (вывертыванием) от руки новой гайки (болта).

2. На резьбе не допускаются вмятины, забоины, выкрашивание, срыв более двух ниток.

3. Болты и шпильки не должны иметь изгиба и выработки.

4. На головках болтов и гайках грани и углы не должны быть смятыми или срубленными. При износе граней более 0,5 мм (номинального размера) болт или гайка отбраковываются.

5. Отверстия для шплинтов в болтах и шпильках не должны быть забиты и заметно увеличены.

6. При разборке исправные шпильки из деталей вывертывать не следует. Тугую и плотную посадку шпилек проверяют остукиванием. Если при этом слышен дребезжащий звук, шпильку следует вывернуть, посадку восстановить.

7. Стопорные отгибные шайбы при капитальном ремонте подлежат замене. Пружинные шайбы, бывшие в эксплуатации, могут быть использованы повторно только в том случае, если они не потеряли своей упругости, которая характеризуется величиной развода концов шайб. Нормальный развод шайбы равен двойной ее толщине, допустимый - полуторной.

V. Цилиндрические установочные штифты и их гнезда

При ослаблении посадки или износе установочных штифтов отверстия развертывают и штифты заменяют другими с увеличенным диаметром.

VI. Шпонки, шпоночные пазы

1. Осмотреть шпонку. При наличии вмятин, сколов, задиров заменять ее.

2. При нарушении стенок шпоночного паза допускается увеличение его по ширине не более 15 %, с постановкой новой шпонки, с посадкой по заводским чертежам.

3. При износе, требующем увеличения ширины шпоночного паза более 15 %, вал заменить.

Приложение 8

ВЫЯВЛЕНИЕ ДЕФЕКТОВ И РЕМОНТ ДЕТАЛЕЙ ПРИВОДА

1. Осмотреть корпус механизма 14 (рис. 3). Корпус не должен иметь трещин. В стальных основаниях трещины заварить. Заварка трещин в литом основании не рекомендуется.

2. Проверить искривление вала 13 и осей 1, 7, 23, 37, 39, 42, 43 по линейке (отвесу, стеклу).

Допускается искривление вала или оси в средней его части или на концах не более 0,2 - 0,3 мм. Правку вала и осей производить в холодном состоянии легкими ударами молотка на устойчивой опоре (или с помощью рычага).

Для предотвращения повреждения деталей на опору и под молоток (рычаг) ставить деревянные или свинцовые прокладки. Дефектные детали заменить.

3. Проверить диаметр и эллиптичность вала 13 и осей 1, 7, 23, 37, 39, 42, 43 с помощью микрометра.

Уменьшение диаметра вала или осей по сравнения с первоначальным и эллиптичность детали в месте износа допускается не более 0,4 мм. Дефектные детали заменить.

4. Проверить диаметр отверстий и их эллиптичность в серьгах 5, 6, 11 и других деталях.

Увеличение диаметра отверстий по сравнению с первоначальным и их эллиптичность допускается не более чем на 0,4 мм. Дефектные детали заменить.

5. Убедиться в отсутствии на поверхностях трения вала и осей задиров и заусенцев. Задиры и заусенцы снимать аккуратно напильником, или шкуркой, стараясь не задеть рабочую часть поверхности. Дефектные детали заменить.

6. Проверить у удерживающей 4 и отключающей 30 собачек, у роликов 32, 38 и оси 37 следующие виды износа:

- задиры и заусенцы на поверхностях зацепления;

- седловины и вмятины на поверхностях зацепления;

- эллиптичность роликов и осей.

Задиры и заусенцы на поверхностях зацепления собачек, роликов и осей устранять согласно позиции 5 настоящего приложения.

Седловины и вмятины на рабочих поверхностях собачек, роликов и осей допускаются глубиной до 1 мм (рис. 19).

Рис. 19. Седловина:

1 - упор (ролик, ось); 2 - собачка

Глубину седловины на рабочих поверхностях собачек контролировать измерением высоты горба пластилинового слепка с седловины.

Глубину вмятины на рабочих поверхностях роликов и осей определять измерением наименьшего диаметра в месте вмятины.

Проверить эллиптичность роликов.

Забракованные собачки, ролики и оси заменить на запасные заводского изготовления.

Опиловка седловин и вмятин на рабочих поверхностях собачек, роликов и осей запрещается.

7. Проверить состояние пружин 3, 31, 33 (см. рис. 3), 9 (см. рис. 5); при наличии трещин, сколов, надломов, остаточной деформации пружины заменить.

При замене пружин не применять инструмент, имеющий режущую кромку (кусачки, бокорезы и др.).

8. Осмотреть штоки сердечников ЭВ и ЭО. Штоки 10 сердечников электромагнитов (см. рис. 5) и 6 (см. рис. 4) не должны иметь:

- искривлений;

- заусенцев и задиров на конце;

- выработки рабочей поверхности торца.

Устранение искривлений штоков, а также снятие заусенцев и задиров производится так же, как валов и осей.

Выработка рабочей поверхности штока допустима глубиной до 1 мм. Измерение глубины выработки поверхности штока производится так же, как и собачек.

При выработке рабочей поверхности больше допустимой произвести ее опиловку напильником. Длину штока установить при регулировании пределов действия электромагнита. После установки размера шток засверлить и застопорить.

Приложение 9

ИЗМЕРЕНИЕ СКОРОСТИ ДВИЖЕНИЯ ПОДВИЖНЫХ КОНТАКТОВ

Измерение скоростей движения подвижных контактов производить при опущенных баках.

1. Измерение скорости движения подвижных контактов выключателя при включении и отключении производится с помощью электромагнитного вибратора.

2. Под стопорную гайку 25 (см. рис. 9) подвижного контакта 4 крепится линейка. При движении штанги на включение или отключение имеете со штангой движется линейка с бумагой. При этом неподвижно установленный вибратор записывает виброграмму, по которой определяется скорость движения подвижных контактов выключателя. Установка вибратора на выключателе показана на рис. 20.

Рис. 20. Установка приспособления для измерения скорости отключения и включения выключателя (бак опущен):

1 - подвижные контакты; 2 - штанга; 3 - линейка; 4 - направляющая труба; 5 - вибратор; 6 - держатель вибратора

3. Расшифровка виброграммы.

Длина волны L зависит от скорости движения подвижного контакта. Чем быстрее движется контакт, тем больше длина волны виброграммы. Средняя скорость движения подвижного контакта определяется как

где t = 0,01 с.

Если длину волны измерить в сантиметрах, а скорость в метрах на секунду, то

т.е. средняя скорость движения подвижного контакта (м/с) на любом участке численно равна длине волны виброграммы (см) на этом участке. Виброграммы снимаются при номинальном напряжении на приводе (рис. 21).

Рис. 21. Волна виброграммы:

L - длина волны

Для регулировки выключателя снимаются виброграммы «включение» и «отключение».

На рис. 22 в качестве примера представлена виброграмма «отключение».

Рис. 22. Разбивка виброграммы на пролеты

При записи виброграммы ход линейки приспособления на рис. 20 соответствует ходу подвижного контакта (S1 = 235 мм), а скорость движения подвижного контакта равна скорости движения линейки приспособления и определяется по виброграмме. Для этого производится разбивка виброграммы на пролеты, равные длинам волн. Расстановка отметок ведется с первой (считая от конца B) вершины. Средние скорости движения подвижных контактов (м/с), численно равные длине пролетов (см), обозначаются на виброграмме в пролетах.

При разметке на пролеты и анализе виброграммы необходимо учитывать следующее:

а) отметки необходимо наносить точно у вершин волн, так как неточность в один миллиметр приводит к ошибке в определении скорости на 0,1 м/с;

б) значение средней скорости в пролете следует относить не к середине пролета, а к промежуточной обратной вершине O2 (рис. 23) виброграммы, где ставится дополнительная отметка;

в) скорость в пролете справа и слева от дополнительной отметки не равна средней скорости.

Рис. 23. Определение скорости в пролете:

L, L′, L- днище пролетов; O1, O2, O3 - вершины виброграммы

Показателем изменения скорости является прирост Δ длины пролета при переходе от рассматриваемого пролета к соседнему. Если длина данного пролета L, а длина соседних пролетов L′ и L″, то Δ′ = L- L и Δ″ = L- L. Если соседний пролет больше (L′ > L или L> L), то прирост Δ имеет знак плюс и наоборот. На длине L мм пролета скорость изменяется примерно на величину Δ/L, а на расстоянии lx от дополнительной отметки скорость движения может быть определена как

где Vx - в м/с.

L, lx, Δ - в см. причем прирост Δ должен быть взят соответствующего значения и знака (+ или -).

Виброграмму можно разделить на две части - в первой части скорость движения возрастает от начального нулевого значения до максимального значения; во второй части скорость движения уменьшается от максимального до конечного нулевого значения. Следовательно, при рассмотрении первой части виброграммы длина пролета должна постепенно возрастать до максимального значения, а во второй - убывать.

На виброграмме не должно быть участков, где после увеличения скорости длина пролетов начинает уменьшаться, затем вновь увеличиваться. Если такие участки имеются, это свидетельствует о провале скорости (местном замедлении), что недопустимо.

По виброграмме определяют максимальные скорости для данной операции Vо.м. Эти скорости не должны отличаться от нормированных. Наибольшая скорость включения выключателя ВМД-35 - 2,5 ± 0,3 м/с. Наибольшая скорость отключения выключателя ВМД-35 - 3,1 ± 0,3 м/с.

По виброграмме можно определить время движения подвижных контактов. Если виброграмма имеет n пролетов, то полное время движения подвижных контактов равно



© 2013 Ёшкин Кот :-)