Информационная система
«Ёшкин Кот»

XXXecatmenu

МИНИСТЕРСТВО ВНУТРЕННИХ ДЕЛ
РОССИЙСКОЙ ФЕДЕРАЦИИ

ГОСУДАРСТВЕННАЯ ПРОТИВОПОЖАРНАЯ СЛУЖБА

НОРМЫ ПОЖАРНОЙ БЕЗОПАСНОСТИ

 

ПОЖАРНАЯ ТЕХНИКА.
СРЕДСТВА ИНДИВИДУАЛЬНОЙ ЗАЩИТЫ
РУК ПОЖАРНЫХ.
ОБЩИЕ ТЕХНИЧЕСКИЕ ТРЕБОВАНИЯ.
МЕТОДЫ ИСПЫТАНИЙ

НПБ 182-99

 

МОСКВА 1999

 

Разработаны Главным управлением Государственной противопожарной службы (ГУГПС) МВД России (А.И. Жук, Д.П. Игнатьев) и Всероссийским научно-исследовательским институтом противопожарной обороны (ВНИИПО) МВД России (Н.П. Копылов, В.В. Пивоваров, В.И. Логинов, С.Ю. Семенов, И.Д. Игнатова).

Внесены и подготовлены к утверждению отделом пожарной техники и вооружения ГУГПС МВД России.

Утверждены и введены в действие приказом ГУГПС МВД России от 7 июня 1999 г. № 43.

Дата введения в действие 1 сентября 1999 г.

 

 

МИНИСТЕРСТВО ВНУТРЕННИХ ДЕЛ

РОССИЙСКОЙ ФЕДЕРАЦИИ

ГОСУДАРСТВЕННАЯ ПРОТИВОПОЖАРНАЯ СЛУЖБА

НОРМЫ ПОЖАРНОЙ БЕЗОПАСНОСТИ

ПОЖАРНАЯ ТЕХНИКА. СРЕДСТВА

ИНДИВИДУАЛЬНОЙ ЗАЩИТЫ РУК ПОЖАРНЫХ.

ОБЩИЕ ТЕХНИЧЕСКИЕ ТРЕБОВАНИЯ.

МЕТОДЫ ИСПЫТАНИЙ

FIRE ENGINEERING. INDIVIDUAL

PROTECTIVE EQUIPMENT OF HAND FOR FIREMEN.

GENERAL TECHNICAL REQUIREMENTS.

TEST METHODS

НПБ-182

Дата введения 01.09.99

I. ОБЛАСТЬ ПРИМЕНЕНИЯ

1. Настоящие нормы определяют общие технические требования и методы испытаний средств индивидуальной защиты кистей рук пожарных (далее - СИЗР), а также материалов и тканей, используемых для их изготовления.

2. Нормы распространяются на выпускаемые и вновь разрабатываемые СИЗР, предназначенные для применения в комплекте с боевой одеждой пожарных, и не распространяются на средства защиты рук специального назначения, а также на средства защиты рук, входящие в комплект специальной защитной одежды от повышенных тепловых воздействий и специальной защитной одежды изолирующего типа.

3. Настоящие нормы могут применяться при сертификационных испытаниях средств индивидуальной защиты рук, в том числе и приобретенных за рубежом.

II. ОПРЕДЕЛЕНИЯ

4. В настоящих нормах применяют следующие термины с соответствующими определениями.

4.1. Средства индивидуальной защиты рук пожарных - изделия, предназначенные для защиты кистей рук пожарных от вредных факторов окружающей среды, возникающих при тушении пожаров и проведении связанных с ними первоочередных аварийно-спасательных работ (повышенных температур, теплового излучения, контакта с нагретыми поверхностями, механических воздействий: прокола, пореза и т.п., воздействия воды и растворов поверхностно-активных веществ), а также от неблагоприятных климатических воздействий (отрицательных температур, осадков, ветра) и используемые в комплекте с боевой одеждой пожарных.

4.2. Крага - часть СИЗР, которая расположена выше запястья и обеспечивает дополнительную защиту от тепловых факторов и механических воздействий, а также фиксацию изделия на кисти руки.

4.3. Напалок - элемент конструкции СИЗР, предназначенный для дополнительной защиты пальца от тепловых факторов и механических воздействий.

4.4. Фурнитура СИЗР - детали и комплектующие изделия (в том числе из металла и текстильных материалов), используемые в качестве застежек, накладок, дополнительных креплений и отделки СИЗР.

4.5. Накладка на ладонную часть - элемент конструкции СИЗР, предназначенный для обеспечения дополнительной защиты рук от механических воздействий (порезов, проколов и т.п.) и изготавливаемый из материалов, обладающих повышенной износоустойчивостью.

4.6. Материал верха СИЗР - наружный слой пакета материалов и тканей, используемых для изготовления СИЗР, который обеспечивает защиту кистей рук пожарных от высоких температур окружающей среды, контакта с нагретыми поверхностями и открытым пламенем, а также от воды и агрессивных сред.

4.7. Водонепроницаемый слой СИЗР - слой, который входит в состав пакета материалов и тканей, используемых для изготовления СИЗР, и предназначен для защиты теплоизоляционной подкладки и внутреннего слоя от попадания воды и жидких агрессивных сред.

4.8. Теплоизоляционная подкладка - слой, который входит в состав пакета материалов и тканей, используемых для изготовления СИЗР, обладает низкой теплопроводностью и предназначен для защиты кистей рук от конвективного тепла, а также от неблагоприятных климатических воздействий.

4.9. Внутренний слой - слой, который входит в состав пакета материалов и тканей, используемых для изготовления СИЗР, предназначен для обеспечения гигиенических свойств изделия и выполняет функцию подкладки.

5. Перечень использованных в настоящих нормах стандартов и других нормативных документов приведен в приложении.

6. Конструктивное исполнение СИЗР и применяемые для их изготовления материалы и фурнитура должны соответствовать требованиям настоящих норм.

III. ОБЩИЕ ПОЛОЖЕНИЯ

7. СИЗР, изготавливаемые отечественными производителями, должны пройти все стадии разработки, предусмотренные ГОСТ 2.103, ГОСТ 15.001, все виды испытаний (включая межведомственные приемочные) и иметь полный комплект конструкторских и эксплуатационных документов на их серийное производство, согласованных с ГУГПС МВД России. Отечественные изготовители СИЗР должны иметь лицензию на их производство, выданную ГУГПС.

8. Зарубежные производители изделий должны представлять эксплуатационную документацию на русском языке.

9. Материалы (ткани), используемые для изготовления СИЗР, должны иметь гигиенический паспорт (сертификат) или разрешение Минздрава России на их применение (кроме материалов из натуральных волокон).

IV. ТРЕБОВАНИЯ К КОНСТРУКЦИИ

10. Пакет материалов и тканей, используемых для изготовления СИЗР, должен состоять из материала верха, водонепроницаемого слоя, теплоизоляционной подкладки и внутреннего слоя. Допускается совмещение материала верха и водонепроницаемого слоя (материал с полимерным покрытием); водонепроницаемого слоя, теплоизоляционной подкладки и внутреннего слоя. Для ладонной части СИЗР допускается использовать в качестве накладки дополнительный слой материала, отвечающего требованиям п. 20 настоящих норм.

11. СИЗР должны изготавливаться не менее трех условных размеров в зависимости от длины и окружности кисти.

12. Конструкция СИЗР и используемые материалы должны защищать от проникновения на внутреннюю поверхность изделия воды, поверхностно-активных веществ и агрессивных сред.

13. Конструкция верхней части СИЗР (краг) должна быть совместима с конструкцией нижней части рукавов куртки (напульсников) боевой одежды пожарных, выпускаемой по конструкторской документации, согласованной с ГУГПС, и не должна создавать неудобств при надевании изделий и выполнении в них различных видов работ (п. 33).

14. Конструкция и материалы СИЗР должны обеспечивать комфортные условия для рук пожарного независимо от погодных условий. Комфортность изделий оценивается в соответствии с п. 34.

15. СИЗР должны выполняться в виде перчаток или двупалых рукавиц. При условии соблюдения требований настоящих норм допускается изготавливать СИЗР в виде рукавиц с одним напалком.

16. СИЗР могут быть дополнены крагами. Если в конструкции изделия краги не предусмотрены, верхний край СИЗР должен заходить за линию сгиба запястья не менее чем на 40 мм.

17. Фурнитура, расположенная на материале верха, не должна соприкасаться с внутренним слоем изделия.

18. В конструкции СИЗР должны быть предусмотрены элементы, обеспечивающие фиксацию изделия на запястье.

19. Конструкция СИЗР должна позволять пожарному выполнять все необходимые виды работ при тушении пожаров, а также обеспечивать возможность осуществлять управление средствами индивидуальной защиты органов дыхания (п. 33).

20. Материалы ладонной части СИЗР должны обладать повышенной износоустойчивостью и стойкостью к механическим воздействиям (проколам, порезам и т.п.). При необходимости для усиления ладонной части могут использоваться накладки. Основные показатели материалов ладонной части и накладок должны соответствовать приведенным в табл. 1.

Таблица 1

Основные показатели материалов ладонной части и накладок

Наименование показателя

Значение показателя

Метод испытаний

1. Устойчивость к истиранию, циклов, не менее

10000

ГОСТ 16218.8

2. Устойчивость к многократному изгибу, циклов, не менее

10000

ГОСТ 8978

3. Жесткость при изгибе, Н, не более

0,4

ГОСТ 10550

4. Устойчивость к проколу, Н, не менее

80

ГОСТ 12.4.118

5. Сопротивление порезу, Н/мм, не менее

20

ГОСТ 12.4.141

Примечание. Испытания проводят на материале верха, в случае использования накладок испытания проводят на образцах, состоящих из материала верха и материала накладки.

V. ТРЕБОВАНИЯ К ЭКСПЛУАТАЦИОННЫМ ПОКАЗАТЕЛЯМ

21. Требования к эксплуатационным показателям материалов и тканей

21.1. Требования, предъявляемые к теплофизическим показателям материалов и тканей, используемых для изготовления СИЗР, изложены в табл. 2.

Таблица 2

Теплофизические показатели материалов и тканей

Наименование показателя

Значение показателя

Метод испытаний (пункты настоящих норм)

Примечание

1. Устойчивость к воздействию температуры 300 °С, с, не менее

300

24

Испытания проводят на материале верха

2. Устойчивость к воздействию теплового потока плотностью:

 

25

Испытания проводят на пакете материалов

5 кВт/м2, с, не менее

240

 

40 кВт/м2, с, не менее

5

 

3. Устойчивость к воздействию открытого пламени, с, не менее

15

26

 

4. Устойчивость к контакту с нагретыми до 400 °С твердыми поверхностями, с, не менее

10

27

 

Примечание. Испытания по показателям табл. 2 проводят также на образцах с фрагментами швов и фурнитурой, которая установлена на СИЗР. Количество данных образцов должно составлять не менее 50 % от общего количества образцов, установленного в методе испытаний.

21.2 Физико-механические показатели материалов и тканей СИЗР должны соответствовать показателям, указанным в табл. 3.

Таблица 3

Физико-механические показатели материалов и тканей

Наименование показателя

Значение показателя

Метод испытаний

Примечание

1. Поверхностная плотность, г/м2, не более

600

ГОСТ 3811, ГОСТ 17073

Испытания проводят на материале верха

2. Разрывная нагрузка:

 

ГОСТ 3813, ГОСТ 17316

по основе, Н, не менее

700

по утку, Н, не менее

600

3. Сопротивление раздиранию:

 

ГОСТ 3813, ГОСТ 17074

по основе, Н, не менее

60

по утку, Н, не менее

60

4. Усадка после намокания и высушивания, %, не более

5

ГОСТ 8710, ГОСТ 8972

5. Усадка после нагревания, %, не более

5

п. 24 настоящих норм

6. Морозостойкость, °С, не выше

минус 50

ГОСТ 15162

7. Водонепроницаемость, мм вод. ст., не менее*

800

п. 28 настоящих норм

8. Устойчивость к воздействию слабых (до 20 %) кислот и щелочей (H2SO4, HCL, NaOH), объем стока при нулевом проникновении, %, не менее**

80

п. 29 настоящих норм

Испытания проводят на пакете материалов

* Испытания проводят только для материалов с полимерными покрытиями.

** Испытания проводят на образцах с фрагментами швов.

22. Требования к эксплуатационным показателям СИЗР

22.1. СИЗР должны обеспечивать защиту кистей рук пожарного от повышенных тепловых и механических воздействий в соответствии с табл. 1 - 3 настоящих норм.

22.2. Для обеспечения требований п. 12 настоящих норм швы, выполненные на материале верха СИЗР, должны быть герметизированы. Водонепроницаемость изделия проверяют в соответствии с методом, изложенным в п. 32.

22.3. Масса одной пары изделия должна составлять не более 0,6 кг. Проверка массы в соответствии с п. 31.

22.4. СИЗР должны обеспечивать возможность свободного движения кистей рук пожарного, захвата и удержания предметов при тушении пожаров и проведении связанных с ними первоочередных аварийно-спасательных работ (п. 33).

VI. МЕТОДЫ ИСПЫТАНИЙ

23. Подготовка образцов

23.1. Число и размеры образцов для различных видов испытаний определяются в соответствии с методиками для этих видов испытаний.

23.2. Отбор образцов для испытаний материала верха осуществляется следующим образом: от рулона материала отрезают точечную пробу требуемого размера, отступив от конца рулона не менее 1500 мм, от кромочного края не менее 50 мм.

Образцы должны иметь однородную поверхность без видимых дефектов лицевой и изнаночной сторон.

23.3. Допуск на линейные размеры образцов определяется применяемыми средствами измерения.

23.4. Все материалы перед испытаниями должны быть выдержаны в климатических условиях по ГОСТ 10681.

23.5. Образцы готовых изделий перед испытаниями должны быть выдержаны при температуре (20 ± 2) °С и относительной влажности (70 ± 5) % в течение 24 ч.

24. Метод определения устойчивости материала верха СИЗР к воздействию температуры 300 °С (табл. 2, п. 1) и усадки после нагревания (табл. 3, п. 5)

24.1. Отбор образцов

На испытания отбирают не менее 14 образцов материала верха, вырезанных по основе (6 образцов) и утку (8 образцов), размером 220×70 мм. Каждый образец сшивается по короткой стороне, после чего ему придается форма цилиндра.

24.2. Испытательное оборудование и средства измерения:

а) установка, представляющая собой электропечь с принудительной вентиляцией воздуха:

объем рабочей камеры, м3, не менее................................................................... 0,01

рабочая температура, °С, не менее...................................................................... 300

максимальные отклонения температуры установившегося температурного режима, °С, не более................................................................................................................. ±5.

В случае использования электропечи с открытыми нагревательными элементами проводят экранирование образца от воздействия теплового потока тканью с металлизированным покрытием, толщина ткани (2 ± 1) мм;

б) секундомер с погрешностью измерения не более 5 с за время не более 1 ч.

24.3. Порядок проведения испытаний

Создают в камере температуру 300 °С. Открывают дверь камеры и устанавливают в ней образец, закрепленный на держателе таким образом, чтобы он находился в центре объема печи. Время установки образца не более 5 с. Закрывают дверцу и с этого момента отсчитывают время выдержки. По истечении 300 с открывают дверцу и вынимают образец.

У каждого образца материала верха по окончании опытов измеряют линейные размеры (длину и ширину). Метод определения линейных размеров по п. 30 настоящих норм.

24.4. Оценка результатов испытаний

Для каждого образца материала верха определяют коэффициент усадки после нагревания (по основе и утку) по формуле

                                                       (1)

где l0 - длина (ширина) образца до испытаний, м, lП - длина (ширина) образца после испытаний, м.

Материал верха СИЗР считается выдержавшим испытания, если на всех образцах не произошло:

разрушения материала (оплавления, обугливания, прогара и т.п.);

отслоения покрытия от тканевой основы (для материалов с полимерным пленочным покрытием);

воспламенения;

снижения физико-механических показателей (разрывной нагрузки и сопротивления раздиранию) более чем на 30 % от нормативного значения.

Коэффициент усадки материала верха по основе и утку должен составлять не более 5 %.

25. Метод определения устойчивости материалов и тканей СИЗР к воздействию теплового потока (табл. 2, п. 2)

25.1. Испытательное оборудование и средства измерения

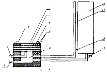
25.1.1. Испытания проводят на лабораторной установке, принципиальная схема которой приведена на рис. 1.

25.1.2. В качестве источника излучения используют радиационную панель размером 200×150 мм с нагревательным элементом из нихромовой проволоки.

25.1.3. Для измерения плотности теплового потока используют датчик теплового потока с диапазоном измерения от 5 до 100 кВт/м2 и погрешностью измерений не более 8 %, который выводится на вторичный прибор с классом точности не более 0,15.

Рис. 1. Принципиальная схема установки для определения устойчивости материалов и тканей СИЗР к воздействию теплового потока:

1 - платформа; 2 - груз; 3 - нити; 4 - датчик теплового потока; 5 - зажим; 6 - термоэлектрический преобразователь; 7 - держатель; 8 - экран; 9 - заслонка; 10 - система охлаждения; 11 - радиационная панель; 12 - образец

Датчик теплового потока помещают в держатель образца. На поверхности держателя устанавливают металлизированную ткань толщиной до 1 мм (металлизацией к держателю), которая имеет центральное сквозное отверстие диаметром 15 мм. На ткани крепят три термопары типа ХК (хромель-копель), ГОСТ Р 50431, под углом 120° друг к другу на расстоянии (20 ± 2) мм от центра датчика. Для крепления их пришивают нитками в месте спая на длину не менее 5 мм. Термопары используют для измерения температуры на внутренней поверхности пакета материалов.

25.2 Отбор образцов

На испытания отбирают не менее 14 образцов размером 210×70 мм. В число образцов должны быть включены все материалы и ткани, входящие в состав изделия. Материал верха вырезают по основе (6 образцов) и утку (8 образцов). Если для тыльной и ладонной части СИЗР используют различные материалы или ладонная часть имеет накладки, отбирают по 14 образцов пакетов тыльной и ладонной части изделия.

25.3. Порядок проведения испытаний

25.3.1. Включают радиационную панель и систему охлаждения. Прогревают радиационную панель в течение (25 ± 5) мин.

25.3.2. Поднимают защитную заслонку для доступа теплового потока к датчику. Отодвигают датчик теплового потока от радиационной панели на расстояние, при котором значение плотности потока на наружной поверхности образца равно 5 кВт/м2. Опускают заслонку. Фиксируют расстояние от экрана до держателя на платформе. Закрепляют испытываемый образец на рамке с помощью зажимов, обеспечив его натяжение с помощью груза массой (200 ± 10) г и нитей. Поднимают заслонку и выдерживают образец под действием теплового потока установленной плотности в течение 240 с. Измеряют температуру на внутренней поверхности образца (для образцов пакетов материалов тыльной части СИЗР). За температуру на внутренней поверхности принимают среднеарифметическое значение показаний трех термопар.

25.3.3. Изменяя расстояние между радиационной панелью и датчиком с образцом, обеспечивают плотность теплового потока 40 кВт/м2 (табл. 2, п. 2) и проводят испытания, повторяя процедуру, описанную в п. 25.3.2.

25.4. Оценка результатов испытаний

25.4.1. Пакет материалов ладонной части СИЗР считают выдержавшим испытания, если на всех образцах не произошло:

разрушения наружной поверхности и внутренних слоев пакета (оплавления, обугливания, прогара и т.д.);

отслоения покрытия от тканевой основы (для материалов с полимерным пленочным покрытием);

изменения линейных размеров материала верха (усадки более 5 %);

воспламенения;

снижения физико-механических показателей (разрывной нагрузки и сопротивления раздиранию) материала верха более чем на 30 % от нормативного значения.

25.4.2. Пакет материалов тыльной части СИЗР считается выдержавшим испытания, если на всех образцах не произошло:

разрушения наружной поверхности и внутренних слоев пакета (оплавления, обугливания, прогара и т.д.);

отслоения покрытия от тканевой основы (для материалов с полимерным пленочным покрытием);

изменения линейных размеров материала верха (усадка более 5 %);

воспламенения;

увеличения среднеарифметического значения температуры на внутренней поверхности композиции слоев СИЗР до значений, превышающих 50 °С в нормированное время;

снижения физико-механических показателей (разрывной нагрузки и сопротивления раздиранию) материала верха более чем на 30 % от нормативного значения.

26. Метод определения устойчивости материалов и тканей СИЗР к воздействию открытого пламени (табл. 2, п. 3)

26.1. Устойчивость к воздействию открытого пламени проверяют по ГОСТ Р 50810 с учетом следующих дополнений.

26.1.1. Расстояние между установочными шпильками рамки составляет: по ширине 40 мм, по длине 110 мм.

26.1.2. На испытания отбирают не менее 5 образцов материала верха и 5 образцов пакетов размером 60×140 мм. Если материал верха имеет полимерное покрытие, то длина образца увеличивается на величину подгиба (50 мм).

26.1.3. При поверхностном зажигании испытания проводят на пакете материалов СИЗР, состоящем из всех материалов и тканей, входящих в состав изделия. Образцы пакетов подготавливают к испытаниям так же, как описано в п. 25.2.

26.1.4. При кромочном зажигании испытания проводят на материале верха. В случае испытаний материала с полимерным пленочным покрытием кран образца подгибают в сторону полимерного покрытия на величину не менее 50 мм и прошивают термостойкими нитками либо зажимают стальными зажимами.

26.2. Оценка результатов испытаний

26.2.1. Материал верха считают выдержавшим испытания, если время остаточного горения и время остаточного тления составило не более 2 с.

26.2.2. Пакет материалов считают выдержавшим испытания, если время остаточного горения и время остаточного тления составило не более 2 с и отсутствуют разрушения входящих в состав пакета материалов теплоизоляционной подкладки и внутреннего слоя (обугливание, прогар и т.п.).

27. Метод определения устойчивости СИЗР к контакту с нагретой до 400 °С твёрдой поверхностью (табл. 2, п. 4)

27.1. Отбор образцов

На испытания отбирают не менее 5 образцов СИЗР любого размера.

27.2. Испытательное оборудование и средства измерения:

а) электропечь, которая имеет следующие характеристики:

объём рабочей камеры, м3, не менее......................................................................... 0,004

рабочая температура, °С, не менее.............................................................................. 400

максимальные отклонения температуры установившегося температурного режима, °С, не более.......................................................................................................................... ±5;

б) контактирующая пластина из керамических материалов, которая имеет следующие габаритные размеры, мм:

длина......................................................................................................................... 140 ± 3

ширина...................................................................................................................... 140 ± 3

высота........................................................................................................................... 6 ± 3;

в) термопары типа ТХК (хромель-копелевый) или ТХА (хромель-алюмелевый), ГОСТ Р 50431, используемые для измерения температуры контактирующей поверхности и температуры на внутренней поверхности СИЗР.

Термопару, предназначенную для измерения температуры контактирующей пластины, устанавливают таким образом, чтобы место ее спая касалось контактирующей поверхности пластины. При этом термопару сверху экранируют от окружающей среды при помощи металлизированной кремнеземной ткани толщиной (2 ± 1) мм.

Термопару, предназначенную для измерения температуры на внутренней поверхности испытываемого образца, устанавливают на поверхности ладонной части макета кисти руки. Масса макета должна составлять (1,5 ± 0,1) кг;

г) термопары, которые выводят на вторичный прибор для измерения рабочей температуры с классом точности не более 0,5 и пределами измерений от 0 до 600 °С;

д) секундомер с погрешностью измерения не более 5 с за время не более 1 ч.

27.3. Порядок проведения испытаний

27.3.1. Надевают испытываемый образец на макет кисти руки таким образом, чтобы термоэлектрический преобразователь, установленный на макете, располагался в центре ладонной части изделия. Для изоляции внутренней поверхности образца от воздействия температуры в рабочей камере скрепляют верхнюю часть СИЗР (краги) при помощи зажима или термостойких ниток.

27.3.2. Устанавливают температуру контактирующей поверхности, находящейся в рабочей камере, 400 °С и поддерживают ее в течение всего опыта. Открывают дверь камеры и устанавливают в ней испытываемый образец таким образом, чтобы ладонная часть изделия соприкасалась с поверхностью пластины. Время установки образца не более 5 с. Закрывают дверцу и с этого момента отсчитывают время выдержки. Одновременно фиксируют температуру на внутренней поверхности образца. Через 10 с открывают дверцу и вынимают образец.

27.3.3. За температуру на внутренней поверхности образца принимают ее максимальное значение, полученное за время опыта.

27.4. Оценка результатов испытаний

СИЗР считают выдержавшими испытания, если на всех образцах не произошло:

разрушения материала верха и внутреннего слоя изделия (оплавления, обугливания, прогара и т.д.);

отслоения покрытия от тканевой основы (для материалов с полимерным пленочным покрытием);

воспламенения;

повышения значения температуры на внутренней поверхности изделия более 50 °С в течение опыта.

28. Метод определения водонепроницаемости материалов СИЗР (табл. 3, п. 7)

28.1. Отбор образцов

Испытаниям подвергают не менее 5 образцов, состоящих из материала верха и водонепроницаемого слоя, и имеющих форму круга диаметром от 180 до 185 мм.

28.2. Порядок проведения испытаний

28.2.1. Схема установки приведена на рис. 2.

Рис. 2. Схема установки для определения водонепроницаемости материалов СИЗР:

1 - сливной кран; 2 - кран для удаления воздуха из испытательной камеры; 3 - кольцо для зажима образца или пакета материалов; 4 - трубка для определения уровня воды в испытательной камере и слива; 5 - образец или пакет материалов; 6 - «барашки»; 7 - резиновые прокладки; 8 - испытательная камера; 9 - основание камеры; 10 - емкость с водой, создающая давление на образец; 11 - трубка со шкалой делений для измерения давления на образец; 12 - крепление трубки со шкалой делений к емкости с водой; 13 - кран подачи воды в испытательную камеру

28.2.2. Основание зажимного приспособления испытательной камеры заполняют до краев водой. Перемещая линейку, совмещают деление «0» на шкале линейки с уровнем воды в мерной трубке. Образец, обращенный наружной стороной вниз, вкладывают в основание зажимного приспособления, закрывают кольцом и плотно прижимают с помощью «барашков». Открывают кран, расположенный между емкостью с водой и испытательной камерой, в течение 60 с давление на образец доводят до (1000 ± 5) мм вод. ст. и далее образец выдерживают под давлением в течение 60 с.

28.2.3. По истечении указанного времени проводят осмотр внутренней поверхности образца и оценивают результаты испытаний.

Образец считают выдержавшим испытания, если на его внутренней поверхности отсутствуют капли или следы воды.

29. Метод определения устойчивости материалов и тканей СИЗР к воздействию кислот и щелочей (табл. 3, п. 8)

Устойчивость к воздействию кислот и щелочей пакета, состоящего из материала верха, водонепроницаемого слоя, теплоизоляционной подкладки и внутреннего слоя, определяют по EN 368.

30. Метод определения линейных размеров (п. 24.3)

Линейные размеры определяют при помощи линейки (ГОСТ 17435) с ценой деления не более 1 мм. Погрешность измерений не более ±1 мм.

31. Метод определения массы СИЗР (п. 22.3)

Массу определяют путем взвешивания на весах с пределами измерения от 0,02 до 3,0 кг с погрешностью ±0,005 кг.

32. Метод определения водонепроницаемости СИЗР (п. 22.2)

32.1. Отбор образцов

На испытания отбирают образцы готовых изделий в количестве не менее двух пар каждого условного размера.

32.2. Испытательное оборудование и средства измерения:

емкость для воды вместимостью не менее 25 л и высотой не менее 0,5 м;

хлопчатобумажные трикотажные перчатки;

термометр с ценой деления 1 °С и пределом измерения 50 °С для измерения температуры воды;

секундомер с погрешностью измерения не более 5 с за время не более 1 ч.

32.3. Порядок проведения испытаний

32.3.1. Емкость заполняют водой на 2/3 части объема, температура воды должна составлять (20 ± 5) °С. Для обеспечения возможности визуальной оценки результатов испытаний в воду добавляют цветную тушь из расчета 2 г на 1 л воды.

32.3.2. Испытатель надевает СИЗР поверх хлопчатобумажных перчаток и погружает руки в емкость с водой до уровня запястья. Через интервалы времени в 10 с испытатель сжимает руки в кулаки. По истечении времени опыта (30 с) проводят визуальный осмотр внутренней перчатки.

32.4. Оценка результатов испытаний

Образцы считают выдержавшими испытания, если при испытаниях каждого из них на внутренней перчатке не обнаружено следов воды.

33. Метод проверки эргономических показателей СИЗР (п. 22.4)

33.1. Отбор образцов

На испытания отбирают не менее 10 пар готовых изделий различных размеров.

33.2. Порядок проведения испытаний

33.2.1. Испытания проводят с участием не менее 10 испытателей. Образцы СИЗР подбирают для каждого испытателя в соответствии с данными измерений длины и окружности кисти. Испытатели экипируются в боевую одежду пожарных и СИЗР и выполняют следующие виды упражнений в соответствии с Наставлением по пожарно-строевой подготовке:

проведение боевого развертывания от автоцистерны с установкой на водоисточник;

работа с шанцевым и аварийно-спасательным инструментом;

подъем по штурмовой и трехколенной лестницам;

самоспасание при помощи веревки спасательной из 4-го этажа здания.

33.2.2. Перечисленные упражнения выполняются испытателями с фиксацией времени, оно не должно превышать времени, оговоренного в Нормативах по пожарно-строевой подготовке.

33.2.3. Кроме того, испытатели выполняют в СИЗР упражнения по работе со средствами индивидуальной защиты органов дыхания: включение, выключение, переключение режимов работы.

33.2.4. По окончании опытов проводят визуальный осмотр образцов и опрос испытателей для получения их субъективных оценок. Каждый испытатель оценивает изделие по пятибалльной шкале.

Оценку изделий производят по следующим характеристикам:

удобство надевания СИЗР и фиксации их на кистях рук;

совместимость конструкции верхней части СИЗР (краг) с конструкцией рукавов куртки боевой одежды пожарных при надевании изделий;

возможность выполнения в СИЗР всех перечисленных в пп. 33.2.1 и 33.2.3 упражнений с учетом возможности свободного движения кистей рук в СИЗР, захвата и переноса различных предметов, удобства работы с различными видами пожарно-технического вооружения;

отсутствие механических повреждений образцов СИЗР.

33.3. Оценка результатов испытаний

Образцы СИЗР считаются выдержавшими испытания, если на них отсутствуют механические повреждения (проколы, порезы, разрывы материала верха и швов и т.п.) и полученные в ходе опроса испытателей оценки составляют не менее трех баллов.

34. Метод определения комфортности при работе в СИЗР (п. 14)

34.1. Отбор образцов

На испытания отбирают не менее 10 пар готовых изделий всех выпускаемых размеров. Каждому образцу СИЗР присваивают порядковый номер, который проставляют на внутренней стороне изделия.

34.2. Порядок проведения испытаний

34.2.1. Испытания проводят путем подконтрольной эксплуатации изделий в подразделениях ГПС МВД России в различных климатических условиях: в летнее и зимнее время года в зонах с умеренным и холодным климатом (категория УХЛ по ГОСТ 15150). СИЗР используют при проведении тренировочных занятий в соответствии с Наставлением по пожарно-строевой подготовке, а также при выполнении различных видов работ непосредственно при тушении пожаров и проведении связанных с ними аварийно-спасательных работ.

Срок проведения испытаний определяет разработчик или изготовитель СИЗР по согласованию с заказчиком.

34.2.2. Для каждого испытателя подбирают образец СИЗР, соответствующий данным измерений кисти.

34.2.3. После каждого занятия или выезда на пожар проводится визуальный осмотр образцов, при котором определяют наличие и характер их повреждений и пригодность изделий к дальнейшей эксплуатации. Допускается мелкий ремонт незначительных разрывов швов на материалах теплоизоляционной подкладки и внутреннего слоя. При наличии сквозных термических или механических повреждений (прогара, разрушения наружного или внутренних слоев изделия, разрезов) изделие снимают с эксплуатации, а данный факт считают отказом.

34.2.4. Испытатели оценивают комфортность работы в испытываемых изделиях на основе своих субъективных ощущений по трехбалльной шкале: 1 балл - «неудовлетворительно», 2 балла - «удовлетворительно», 3 балла - «хорошо».

Оценку изделия осуществляют по следующим характеристикам:

степень комфортности при выполнении в СИЗР различных видов работ по тушению пожаров и проведению связанных с ними первоочередных аварийно-спасательных работ;

защита от воздействия климатических факторов в различное время года;

уровень защиты от тепловых и механических факторов, в том числе при воздействии воды и растворов поверхностно-активных веществ.

34.2.5. По окончании испытаний для каждого образца определяют средний балл оценки комфортности.

34.3. Оценка результатов испытаний

Изделие считается выдержавшим испытания, если средний балл оценки комфортности всех образцов не ниже двух и за время испытаний произошло не более одного отказа.

VII. ПРАВИЛА ПРИЕМКИ

35. Приемка вновь разрабатываемых СИЗР осуществляется в соответствии с ГОСТ 15.001.

36. Каждая изготовленная партия СИЗР должна подвергаться приемо-сдаточным испытаниям.

37. Для проверки качества серийно выпускаемых СИЗР не реже одного раза в год должны проводиться периодические испытания.

38. В случае изменения конструкции СИЗР или состава пакета материалов и тканей, используемых для их изготовления, должны проводиться типовые испытания.

39. Содержание различных видов испытаний приведено в табл. 4.

Таблица 4

Виды испытаний

Номера разделов, пунктов, подпунктов настоящих норм

Сертификационные

10 - 13, 15 - 20, 21.1, 21.2 (табл. 3), пп. 1 - 3, 5, 7, 22.2 - 22.4

Межведомственные

7, 9, IV, 21, 22, VIII

Периодические и типовые

21, 22, VIII

Приемо-сдаточные

11, 12, 15 - 18, VIII

VIII. ТРЕБОВАНИЯ К МАРКИРОВКЕ, УПАКОВКЕ, ТРАНСПОРТИРОВАНИЮ И ХРАНЕНИЮ

40. Маркировка, упаковка, транспортирование и хранение СИЗР должны осуществляться в соответствии с ГОСТ 10581 с дополнениями, предусмотренными для конкретных изделий.

41. Каждое изделие должно иметь инструкцию по его эксплуатации и паспорт, составленные в соответствии с ГОСТ 2.601. Содержание эксплуатационной документации не должно противоречить нормативной документации в области организации деятельности ГПС.

IX. ГАРАНТИИ ИЗГОТОВИТЕЛЯ

42. Изготовитель гарантирует соответствие изделий требованиям технических условий на их серийное изготовление при соблюдении потребителем условий эксплуатации, транспортирования и хранения.

Гарантийный срок эксплуатации СИЗР составляет не менее двух лет и исчисляется со дня ввода их в эксплуатацию.

ПРИЛОЖЕНИЕ

ПЕРЕЧЕНЬ ИСПОЛЬЗОВАННЫХ В НОРМАХ СТАНДАРТОВ И ДРУГИХ НОРМАТИВНЫХ ДОКУМЕНТОВ

ГОСТ 2.103-68 ЕСКД. Стадии разработки.

ГОСТ 2.601-95 ЕСКД. Эксплуатационные документы.

ГОСТ 12.4.118-82 ССБТ. Пленочные полимерные материалы и искусственные кожи для средств защиты рук. Метод определения стойкости к проколу.

ГОСТ 12.4.141-84 ССБТ. Кожа искусственная и пленочные материалы для средств индивидуальной защиты. Метод определения сопротивления порезу.

ГОСТ 15.001-88 Система разработки и постановки продукции на производство. Продукция производственно-технического назначения.

ГОСТ 3811-72 Материалы текстильные. Ткани, нетканые полотна и штучные изделия. Методы определения линейных размеров, линейной и поверхностной плотностей.

ГОСТ 3813-72 Материалы текстильные. Ткани и штучные изделия. Методы определения разрывных характеристик при растяжении.

ГОСТ 8710-84 Материалы текстильные. Метод определения изменения размеров тканей после мокрой обработки.

ГОСТ 8972-78 Кожа искусственная. Методы определения намокаемости и усадки.

ГОСТ 8978-75 Кожи искусственные и пленочные материалы. Метод определения устойчивости к многократному изгибу.

ГОСТ 10550-93 Материалы текстильные. Полотна. Методы определения жесткости при изгибе.

ГОСТ 10581-91 Изделия швейные. Маркировка, упаковка, транспортирование и хранение.

ГОСТ 10681-75 Материалы текстильные. Климатические условия для кондиционирования и испытания проб и методы их определения.

ГОСТ 15150-69 Машины, приборы и другие технические изделия. Исполнения для различных климатических районов. Категории, условия эксплуатации, хранения и транспортирования в части воздействия климатических факторов внешней среды.

ГОСТ 15162-82 Кожа искусственная и синтетическая и пленочные материалы. Методы определения морозостойкости в статических условиях.

ГОСТ 16218.8-89 Изделия текстильно-галантерейные. Метод определения устойчивости к истиранию.

ГОСТ 17073-71 Кожа искусственная. Метод определения толщины и массы 1 м2.

ГОСТ 17074-71 Кожа искусственная. Метод определения сопротивления раздиранию.

ГОСТ 17316-71 Кожа искусственная. Метод определения разрывной нагрузки и удлинения при разрыве.

ГОСТ 17435-72 Линейки чертежные. Технические условия.

ГОСТ Р 50431-92 Термопары. Часть 1. Номинальные статические характеристики преобразования.

ГОСТ Р 50810-95 Пожарная безопасность текстильных материалов. Ткани декоративные. Метод испытания на воспламеняемость и классификация.

EN 368 Защитная одежда. Защита от жидких химических веществ. Метод испытаний: сопротивление материалов при проникновении жидкостей.

 

СОДЕРЖАНИЕ

 

 



© 2013 Ёшкин Кот :-)