| ||||||||||||||||||||||
Скачать Методическое пособие. Методические указания по проектированию энергоэкономичных зданий с рекуперацией тепла, обеспечивающие экономию топливо-энергетических ресурсов (ТЭР)Дата актуализации: 10.08.2017 |
| Статус: | действует |
| Название рус.: | Методическое пособие. Методические указания по проектированию энергоэкономичных зданий с рекуперацией тепла, обеспечивающие экономию топливо-энергетических ресурсов (ТЭР) |
| Дата добавления в базу: | 01.02.2017 |
| Дата актуализации: | 05.05.2017 |
| Область применения: | Методически указания распространяются на проектирование тепловой защиты ограждающих конструкций вновь возводимых, реконструируемых, капитально реконструируемых жилых и общественных здания с нормируемой температурой и относительной влажностью внутреннего воздуха; выявление показателя тепловой эффективности здания с учетом соблюдения санитарно-гигиенических требований за счет выбора более эффективного варианта наружного ограждения и повышения теплотехнической однородности наружных ограждений; применения других энергосберегающих мероприятий. |
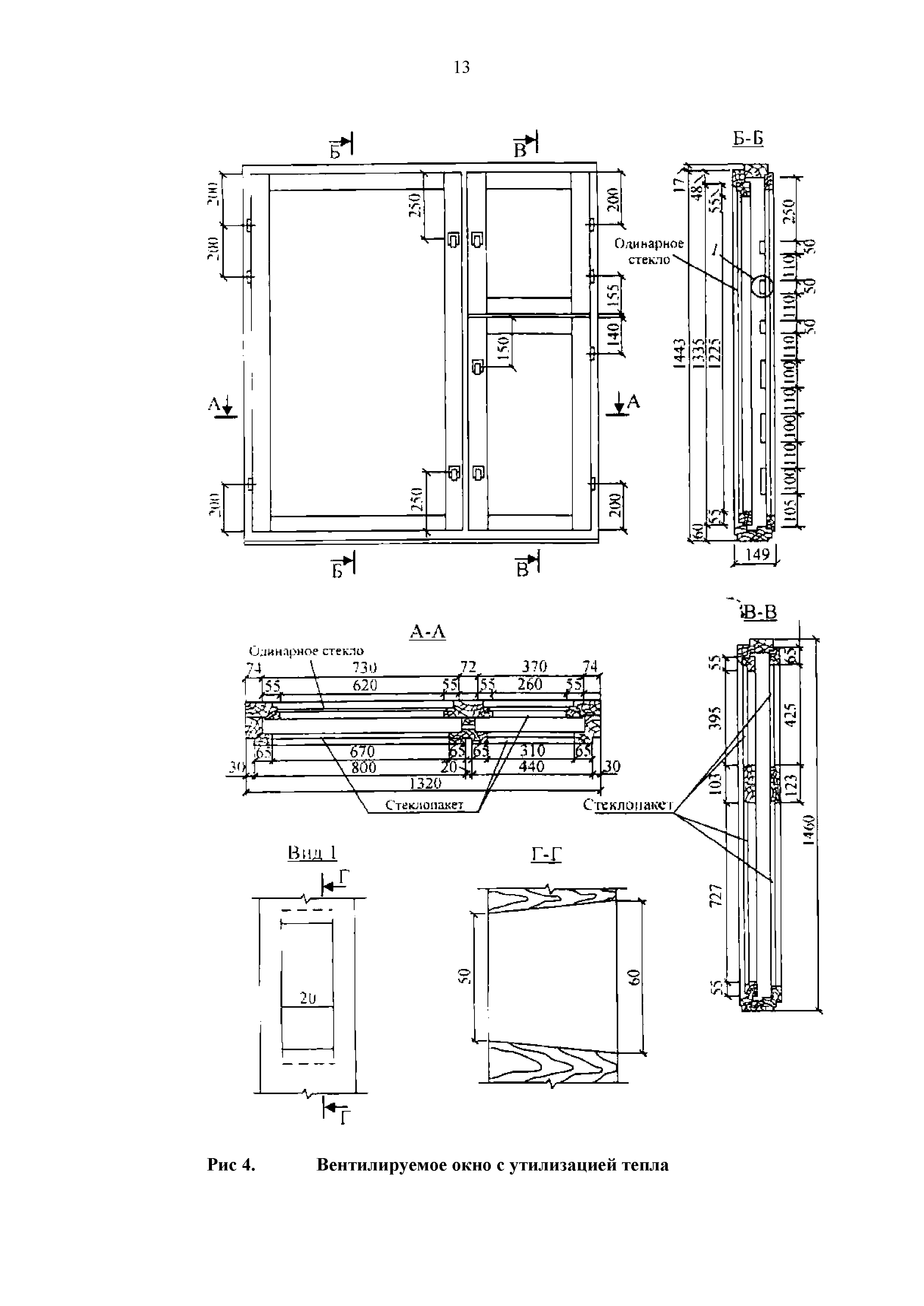
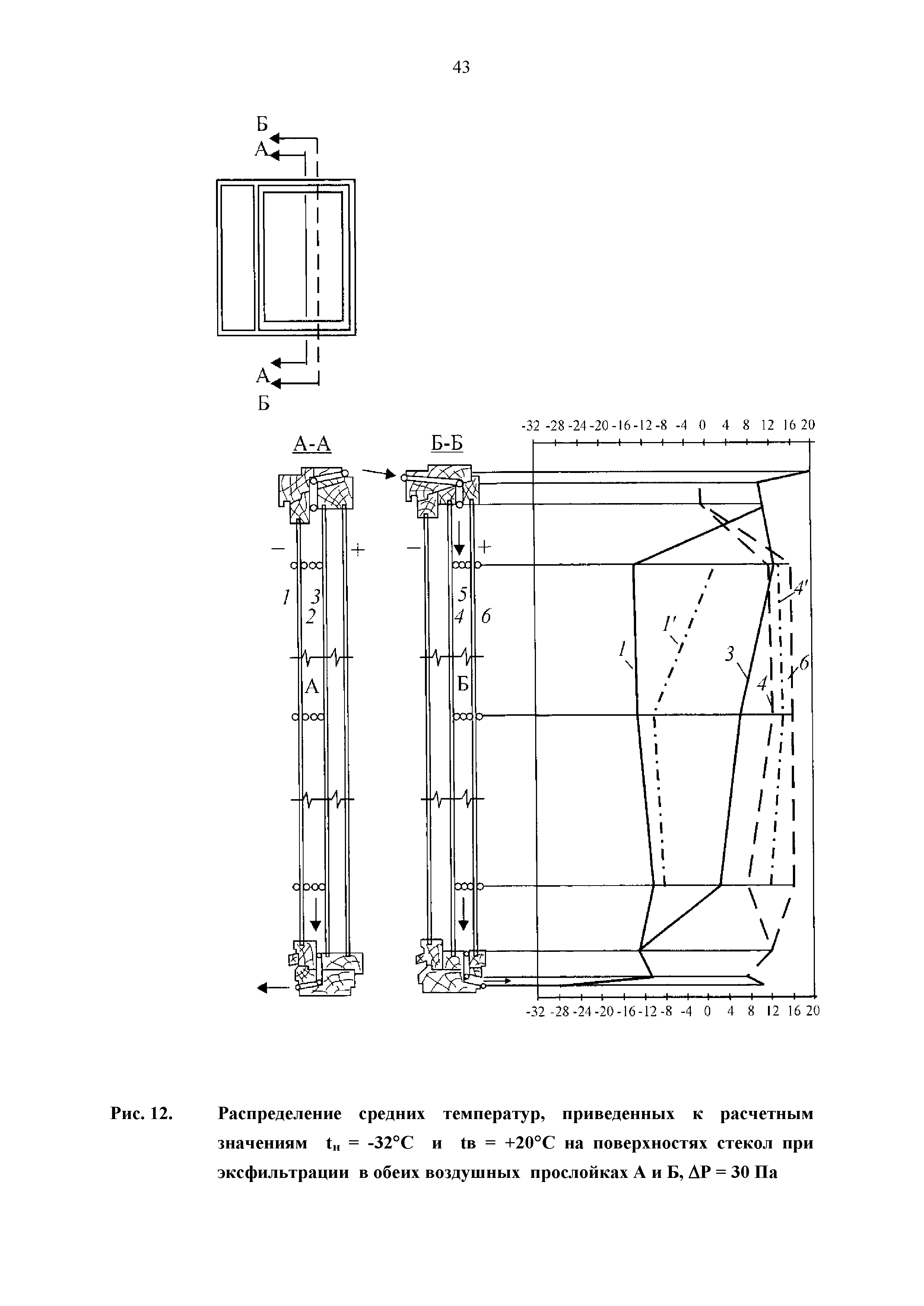
| Оглавление: | 1 Введение 2 Область применения 3 Нормативные ссылки 4 Термины и определения 5 Общие положения 6 Наружные ограждения с рекуперацией трансмиссионного тепла (НОРТ-1) 6.1 Рекомендации по применению НОРТ-1 6.2 Теплотехнический расчет НОРТ-1 (Методика расчета) 6.3 Экспериментальные исследования НОРТ-1 7 Наружные ограждения с рекуперацией трансмиссионного и вентиляционного тепла (НОРТ-2, НОРТ-п) 7.1 Рекомендации по применению НОРТ-2, НОРТ-п 7.2 Теплотехнический расчет (НОРТ-2, НОРТ-п). Методика и пример расчета 7.3 Экспериментальные исследования НОРТ-2 8 Заключение Приложение А (справочное). Перечень нормативных документов Приложение Б (обязательное). Основные термины и их определения Приложение В Приложение Г Список литературы |
| Разработан: | НИИСФ АО ЦНИИЭП жилища |
| Расположен в: | |
| Нормативные ссылки: |
|















































































