| ||||||||||||||||||||||||||||
Скачать Руководство по проектированию производственных зданий с каркасом из железобетонных конструкций для сейсмических районовДата актуализации: 10.08.2017 |
| Статус: | cправочные материалы, мп, тпр |
| Название рус.: | Руководство по проектированию производственных зданий с каркасом из железобетонных конструкций для сейсмических районов |
| Дата добавления в базу: | 12.02.2016 |
| Дата актуализации: | 05.05.2017 |
| Область применения: | Руководство распространяется на проектирование производственных зданий с каркасом из железобетонных конструкций по обычным типовым конструктивным схемам, применяемым в массовом промышленном строительстве. |
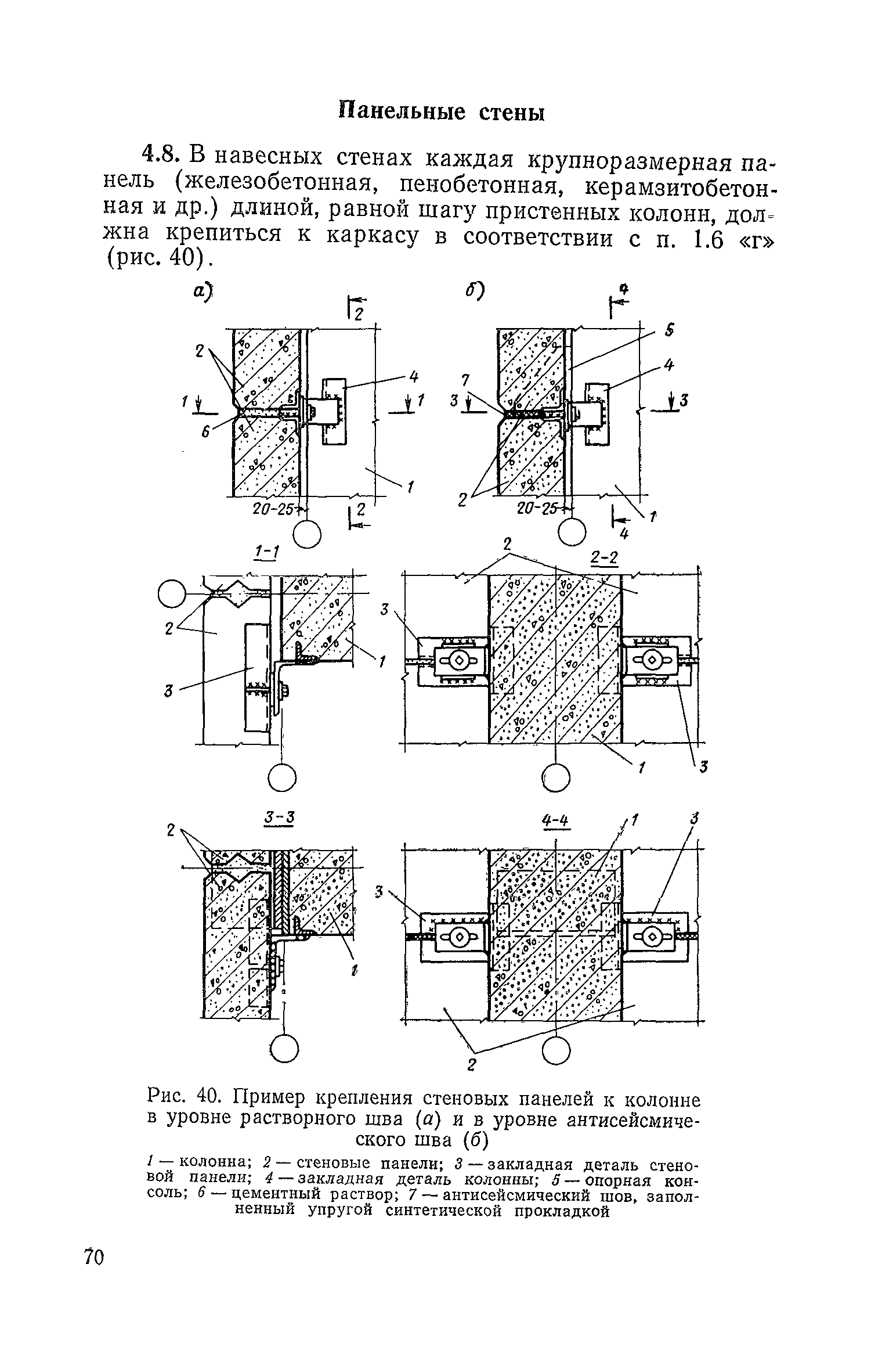
| Оглавление: | 1. Общие положения 2. Железобетонный каркас Каркас одноэтажного здания Каркас многоэтажного здания 3. Фундаменты 4. Наружные стены Панельные стены Каменные стены Приложение. Примеры расчета Пример 1. Определение усилий в каркасе одноэтажного бескранового здания от действия сейсмических нагрузок Пример 2. Определение усилий в каркасе одноэтажного здания, оборудованного мостовыми кранами, от действия сейсмических нагрузок Пример 3. Определение усилий в каркасе многоэтажного здания от действия сейсмических нагрузок Пример 4. Определение сейсмических нагрузок, действующих на каркас многоэтажного здания с учетом его поворота Пример 5. Определение усилий в стержнях железобетонной фермы от действия вертикальных сейсмических нагрузок Пример 6. Расчет жестких узлов рамы многоэтажного здания Пример 7. Расчет самонесущей кирпичной стены |
| Разработан: | ЦНИИпромзданий Госстроя СССР |
| Утверждён: | ЦНИИпромзданий Госстроя СССР (TsNIIpromzdaniy, USSR Gosstroy ) |
| Издан: | Издательство литературы по строительству (1972 г. ) |
| Расположен в: | |
| Список изменений: | |
| Нормативные ссылки: |
|
































































































































































































Текстовое изменение опечатки