| ||||||||||||||||||||||||||||||||||||
Скачать ГОСТ Р МЭК 730-1-94 Автоматические электрические управляющие устройства бытового и аналогичного назначения. Общие требования и методы испытанийДата актуализации: 10.08.2017
|
| Обозначение: | ГОСТ Р МЭК 730-1-94 |
| Обозначение англ: | GOST R IEC 730-1-94 |
| Статус: | введен впервые |
| Название рус.: | Автоматические электрические управляющие устройства бытового и аналогичного назначения. Общие требования и методы испытаний |
| Название англ.: | Automatic electrical controls for household and similar use. General requirements and test methods |
| Дата добавления в базу: | 21.05.2015 |
| Дата актуализации: | 05.05.2017 |
| Дата введения: | 01.01.1995 |
| Область применения: | Стандарт распространяется на: -автоматические электрические управляющие устройства или устройства, предназначенные для использования в, на оборудовании (или вместе с ним) бытового и аналогичного применения, включая устройства для нагрева, кондиционирования воздуха и т.п.; - автоматические электрические управляющие устройства, используемые в термоограничителях с отрицательным или положительным температурным коэффициентом; - управляющие устройства приборов, которые входят в область распространения ГОСТ 27570.0; - отдельные устройства, используемые как часть системы регулирования или устройств, которые в свою очередь составляют механически неотъемлемую часть многофункциональных управляющих устройств, имеющих неэлектрический выходной сигнал; - автоматические электрические управляющие устройства, включаемые механически или электрически, которые чувствительны к таким характеристикам, как температура, давление, время, влажность, освещенность, электростатическое воздействие, расход или уровень жидкости, электрический ток, напряжение или ускорение; - устройства со встроенными электронными частями; - пусковые реле, которые являются специфическим типом электрического автоматического управляющего устройства и применяются для включения пусковой обмотки двигателя (эти устройства могут быть встроенными в двигатель или отдельными); - ручные управляющие устройства, когда они являются электрически и (или) механически неотъемлемой частью автоматического управляющего устройства; - управляющие устройства, у которых номинальное напряжение не превышает 660 В, а номинальный ток - 63 А; - устройства регулирования, оборудованные электронными устройствами. Стандарт не распространяется на автоматические электрические управляющие устройства, предназначенные исключительно для промышленных целей. |
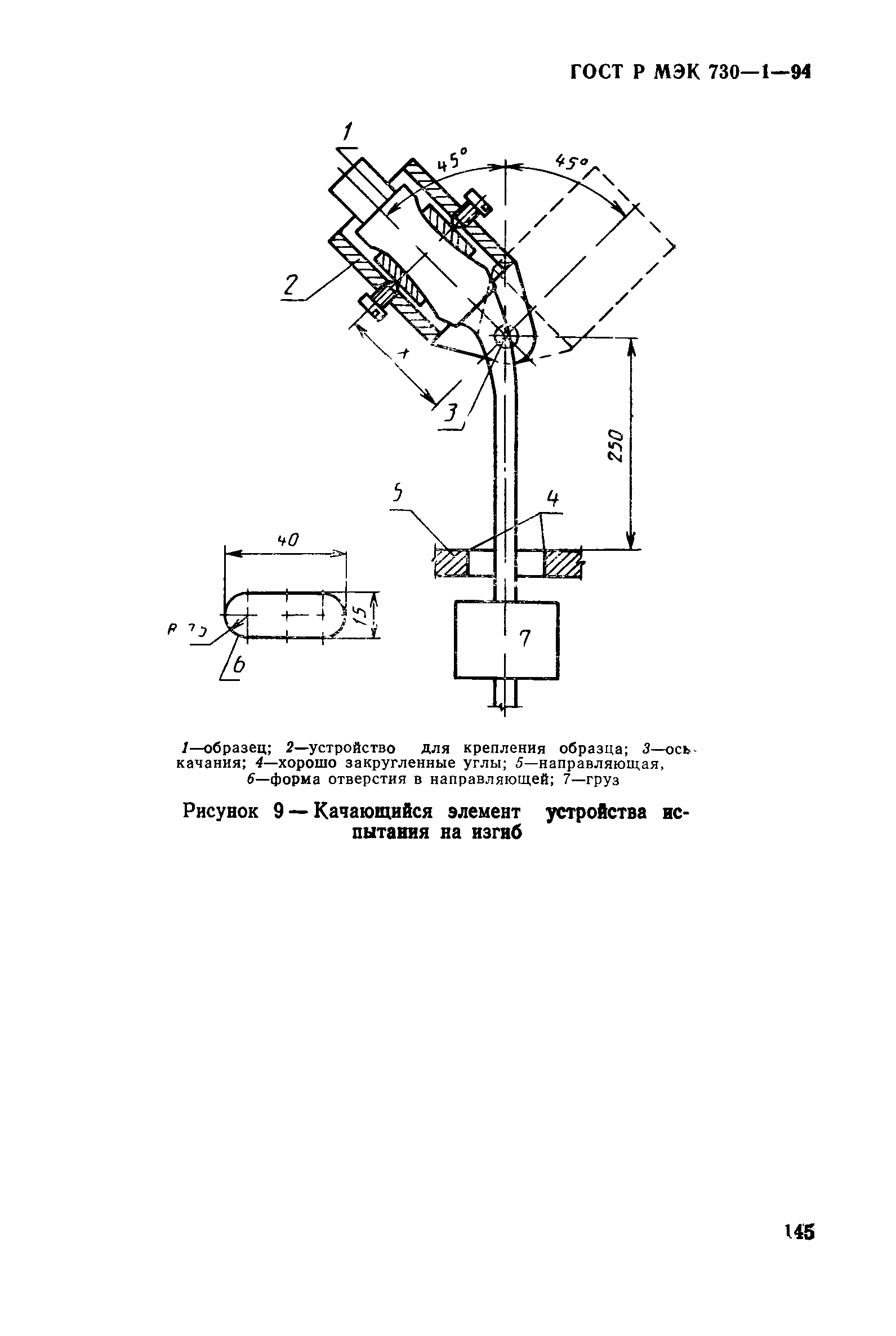
| Оглавление: | 1 Область применения 2 Определения 3 Общие требования 4 Общие положения, относящиеся к испытаниям 5 Номинальные величины 6 Классификация 7 Информация 8 Защита от поражения электрическим током 9 Заземление 10 Зажимы и соединения 11 Требования к конструкции 12 Влагостойкость 13 Сопротивление изоляции и электрическая прочность 14 Нагрев 15 Производственный допуск в отклонение 16 Климатические воздействия 17 Износостойкость 18 Механическая прочность 19 Резьбовые части и соединения 20 Пути утечки, воздушные зазоры и расстояния по изоляции 21 Теплостойкость, огнестойкость и стойкость к образованию токоведущих мостиков 22 Стойкость к коррозии 23 Подавление радиопомех 24 Комплектующие изделия 25 Нормальная работа 26 Работа в условиях помех в сети, при магнитных и электромагнитных возмущениях 27 Ненормальная работа 28 Руководство по применению электронного отключения Приложение А Стойкость маркировки к истиранию Приложение В Измерение путей утечки и воздушных зазоров Приложение С Вата, используемая для испытания ртутного выключателя Приложение Е Схема цепи для измерения тока утечки Приложение F Категории тепло- и огнестойкости Приложение G Испытания на тепло- и огнестойкость Приложение H Требования к электронным управляющим устройствам Приложение J Требования к управляющим устройствам с терморезисторами Библиографические данные |
| Разработан: | ТК 19 Бытовые электроприборы |
| Утверждён: | 16.02.1994 Госстандарт России (Russian Federation Gosstandart 30) |
| Издан: | Издательство стандартов (1994 г. ) |
| Расположен в: | |
| Список изменений: |
|
| Нормативные ссылки: |
|






































































































































































































Текстовое изменение поправка от 23.12.2003