| ||||||||||||||||||||||||||||||||||
Скачать ОСТ 16.3.949.003-75 Оборудование электросварочное. Автоматы и полуавтоматы для дуговой сварки. Ролики подающие. Конструкция, размеры и технические требованияДата актуализации: 10.08.2017
|
| Обозначение: | ОСТ 16.3.949.003-75 |
| Обозначение англ: | OST 16.3.949.003-75 |
| Статус: | не действует |
| Название рус.: | Оборудование электросварочное. Автоматы и полуавтоматы для дуговой сварки. Ролики подающие. Конструкция, размеры и технические требования |
| Дата добавления в базу: | 21.05.2015 |
| Дата актуализации: | 05.05.2017 |
| Дата введения: | 01.07.1981 |
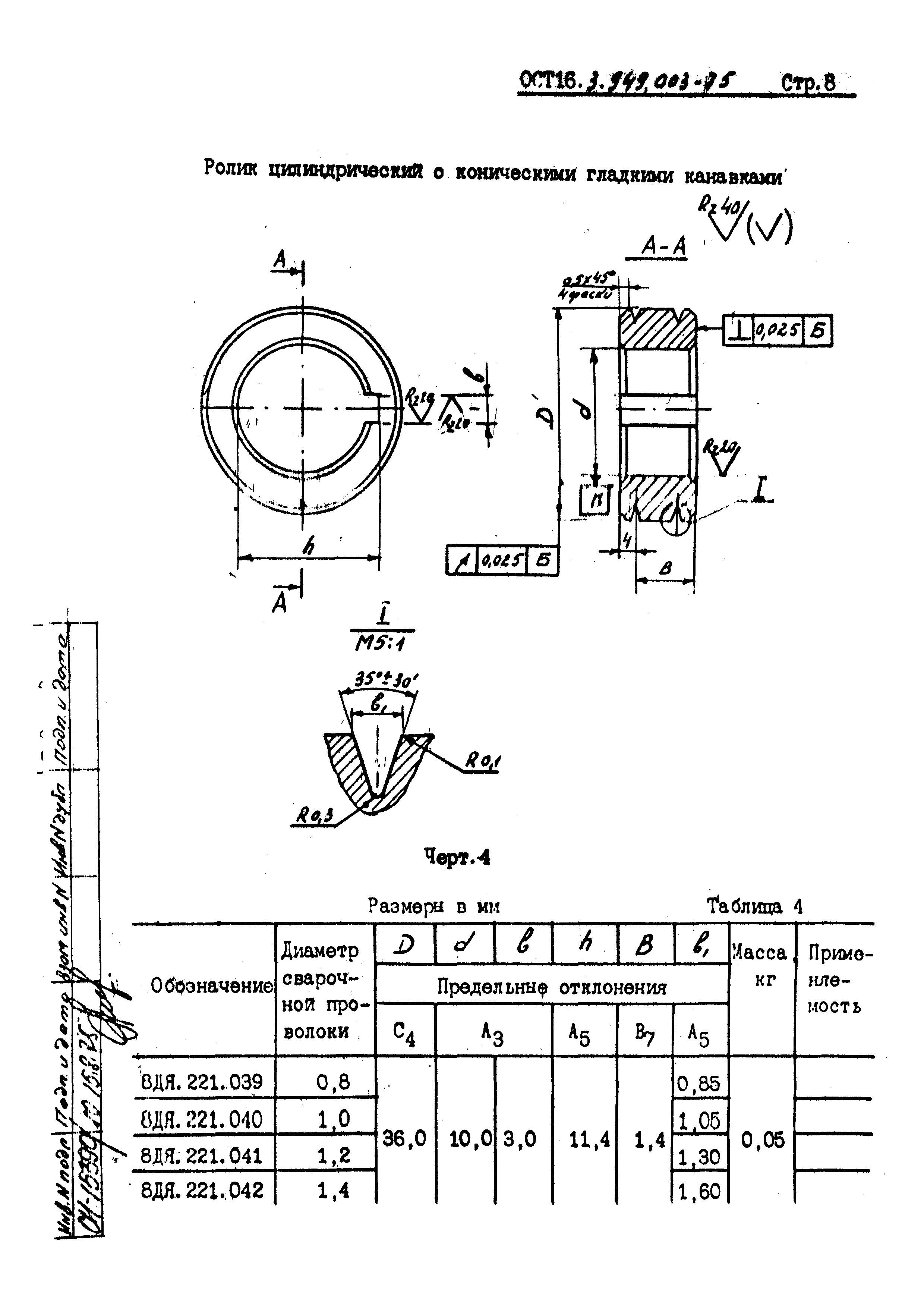
| Область применения: | Стандарт распространяется на ролики подающие для механизмов подачи сварочной проволоки диаметром от 0,8 до 6 мм к автоматам и полуавтоматам для дуговой сварки общего назначения и экспортного исполнения для стран с умеренным и тропическим климатом |
| Оглавление: | 1 Конструкции и размеры 2 Технические требования 3 Правила приемки и методы испытания 4 Маркировка, упаковка, транспортирование и хранение |
| Утверждён: | 28.07.1975 П/я А-7624 (122) |
| Принят: | 25.07.1975 П/я М-5266 15.05.1975 П/я А-3959 |
| Расположен в: | |
| Список изменений: | |
| Заменяет собой: |
|
| Нормативные ссылки: |
|





















Текстовое изменение № 1 от 01.06.1977


