| ||||||||||||||||||||||||||||||||||
Скачать Часть VIII Аэродромы для выполнения авиационно-химических работ в сельском хозяйствеДата актуализации: 10.08.2017
|
| Обозначение: | Часть VIII |
| Обозначение англ: | Часть VIII |
| Статус: | привязан к неактуализированному документу |
| Название рус.: | Аэродромы для выполнения авиационно-химических работ в сельском хозяйстве |
| Дата добавления в базу: | 01.11.2014 |
| Дата актуализации: | 05.05.2017 |
| Дата введения: | 01.01.1997 |
| Область применения: | Пособие предназначено для использования в подразделениях гражданской авиации, колхозах, совхозах и других организациях Госагропрома СССР, а также в организациях других ведомств при решении вопросов проектирования, строительства и эксплуатации аэродромов и вертодромов для выполнения авиационно-химических работ (АХР) в сельском хозяйстве |
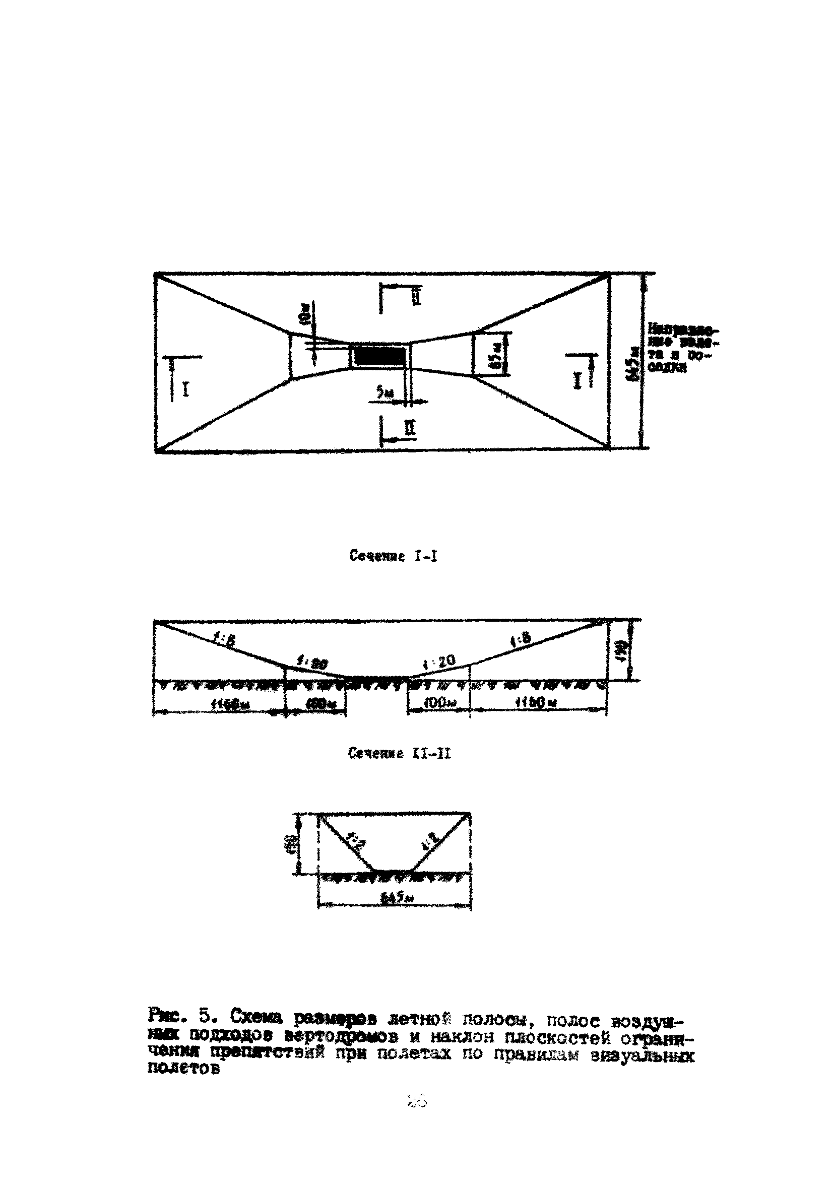
| Оглавление: | 1 Общие положения 2 Элементы летных полей аэродромов АХР 3 Элементы летных полей вертодромов АХР 4 Основные требования к служебно-технической территории 5 Инженерное оборудование и маркировка аэродромов (вертодромов) для выполнения АХР 6 Грунтовые основания 7 Аэродромные одежды 8 Содержание аэродромов (вертодромов) АХР Приложение 1. Перечень нормативных и инструктивных документов, действующих в гражданской авиации (по состоянию на 01.01.1986) Приложение 2. Перечень действующих типовых проектов (по состоянию на 01.01.1986) Приложение 3. Требования к размещению аэродромов и вертодромов в зависимости от площади обрабатываемых земель Приложение 4. Международная стандартная атмосфера (МСА) Приложение 5. Характеристики сельскохозяйственных самолетов и вертолетов Приложение 6. Перечень рекомендуемых средств авиатопливообеспечения аэродромов Приложение 7. Требования к размещению и оборудованию дегазационной площадки и мероприятия по охране окружающей среды Приложение 8. Характеристика аэродрома для выполнения АХР по типовому проекту № 506-105 Приложение 9. Характеристика вертодрома по типовому проекту № 506-115 Приложение 10. Акт проверки прочности якорных креплений Приложение 11. Модуля упругости Приложение 12. Типовые конструкции искусственных покрытий Приложение 13. Приемы расчета покрытий Приложение 14. Основные характеристики типовых плит для сборных дорожных и аэродромных покрытий Приложение 15. Технология устройства щебеночных покрытий по способу пропитки и полупропитки Приложение 16. Средний расход вяжущих для укрепления грунтов и составы смесей для устройства оснований Приложение 17. Технология устройства покрытий из оптимальных грунтовых смесей Приложение 18. Определение условной прочности грунта Приложение 19. Определение плотности и прочности снега |
| Разработан: | ГПИ и НИИ ГА Аэропроект |
| Утверждён: | 09.06.1986 ГПИ и НИИ ГА Аэропроект |
| Принят: | Министерство гражданской авиации СССР (USSR Ministry of Civil Aviation ) |
| Расположен в: | |
| Заменяет собой: |
|
| Нормативные ссылки: |
|




















































































































































