Информационная система
«Ёшкин Кот»

Скачать базу одним архивом
Скачать обновления
История создания базы
Карта сайта

Скачать ГОСТ 24755-81 Сосуды и аппараты. Нормы и методы расчета на прочность укрепления отверстий

Дата актуализации: 10.08.2017

ГОСТ 24755-81

Сосуды и аппараты. Нормы и методы расчета на прочность укрепления отверстий

Обозначение: ГОСТ 24755-81
Обозначение англ: GOST 24755-81
Статус:заменен
Название рус.:Сосуды и аппараты. Нормы и методы расчета на прочность укрепления отверстий
Название англ.:Vessels and apparatuses. Norms and methods of strenght calculation for openings reinforcement
Дата добавления в базу:21.05.2015
Дата актуализации:05.05.2017
Дата введения:01.01.1990
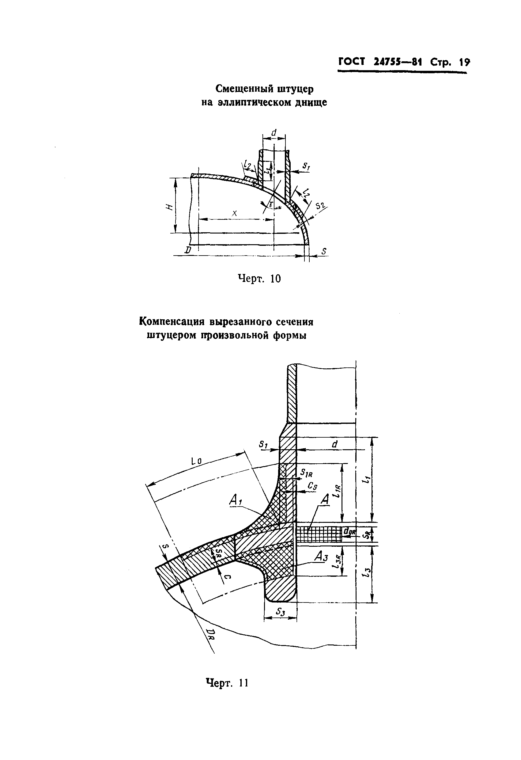
Область применения:Стандарт устанавливает нормы и методы расчета на прочность укрепления отверстий в обечайках, переходах и днищах сосудов и аппаратов, применяемых в химической, нефтеперерабатывающей и смежных отраслях промышленности, работающих под действием внутреннего или наружного давления и отвечающих требованиям ГОСТ 24306-80.
Оглавление:1. Область применения
2. Определение основных расчетных размеров и коэффициентов
3. Расчет укрепления одиночных отверстий
4. Расчет укрепления взаимновлияющих отверстий
5. Расчет укрепления отверстий в сосудах и аппаратах, работающих под наружным давлением
Приложение (справочное) Термины, использованные в стандарте, и их условные обозначения
Разработан: Министерство химического и нефтяного машиностроения
Утверждён:15.05.1981 Государственный комитет СССР по стандартам (USSR National Committee on Standards 2409)
Издан: Издательство стандартов (1981 г. )
Расположен в:Техническая документация
Чем заменён:
Нормативные ссылки:
ГОСТ 24755-81ГОСТ 24755-81ГОСТ 24755-81ГОСТ 24755-81ГОСТ 24755-81ГОСТ 24755-81ГОСТ 24755-81ГОСТ 24755-81ГОСТ 24755-81ГОСТ 24755-81ГОСТ 24755-81ГОСТ 24755-81ГОСТ 24755-81ГОСТ 24755-81ГОСТ 24755-81ГОСТ 24755-81ГОСТ 24755-81ГОСТ 24755-81ГОСТ 24755-81ГОСТ 24755-81ГОСТ 24755-81ГОСТ 24755-81ГОСТ 24755-81

© 2013 Ёшкин Кот :-) Карта сайта