Скачать РД 26-01-168-88 Уплотнения неподвижные металлические для сосудов и аппаратов на давление свыше 10 до 100 МПа (свыше 100 до 1000 кгс/см2). Методика расчета на прочность и плотностьДата актуализации: 10.08.2017 РД 26-01-168-88
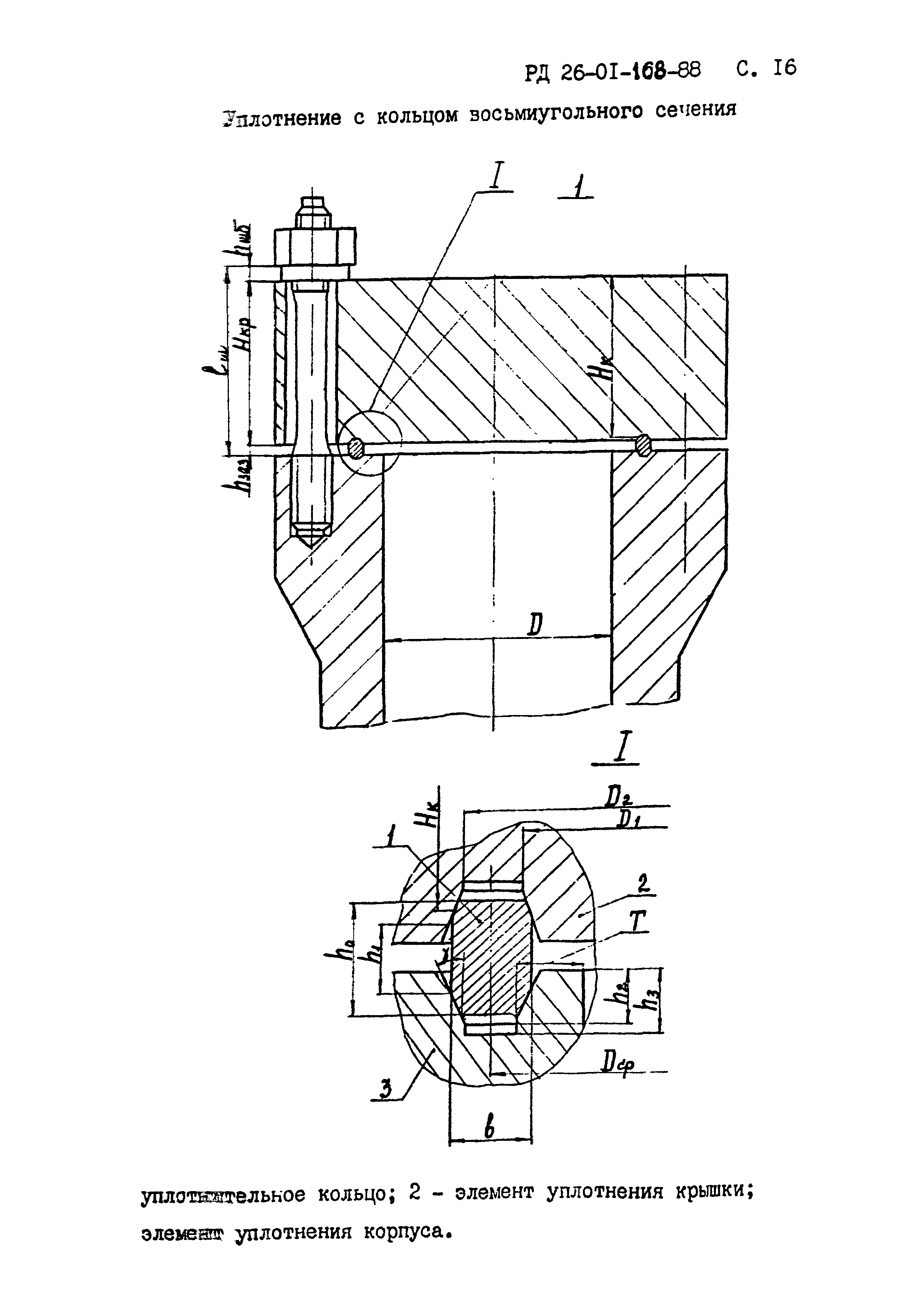
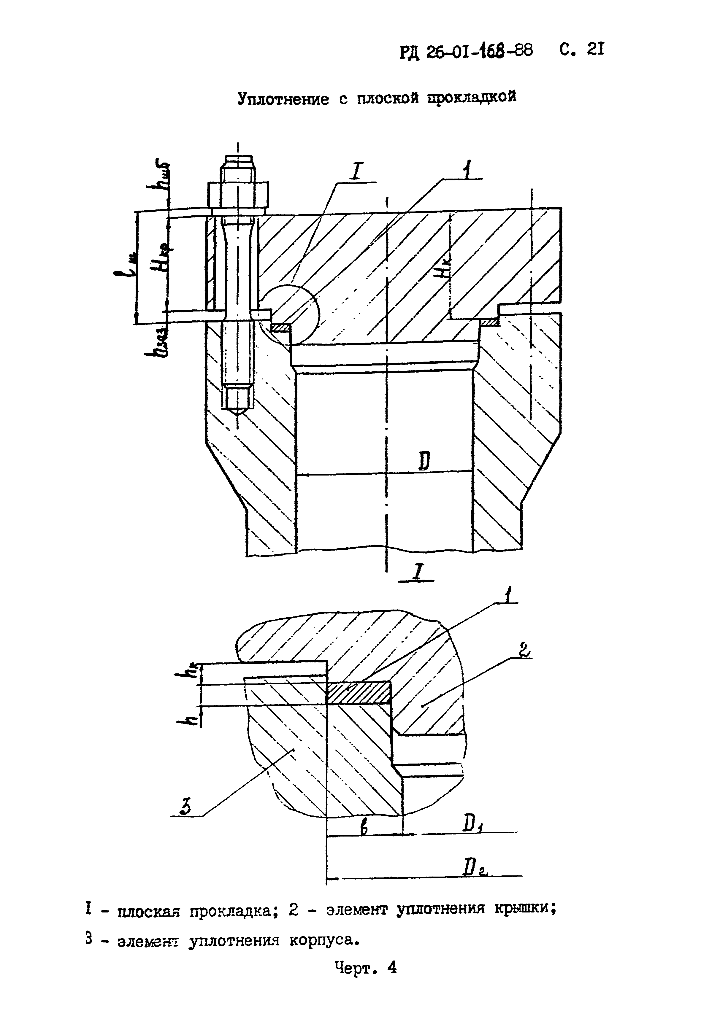
Уплотнения неподвижные металлические для сосудов и аппаратов на давление свыше 10 до 100 МПа (свыше 100 до 1000 кгс/см2). Методика расчета на прочность и плотностьОбозначение: | РД 26-01-168-88 | Обозначение англ: | RD 26-01-168-88 | Статус: | действует | Название рус.: | Уплотнения неподвижные металлические для сосудов и аппаратов на давление свыше 10 до 100 МПа (свыше 100 до 1000 кгс/см2). Методика расчета на прочность и плотность | Дата добавления в базу: | 01.09.2013 | Дата актуализации: | 05.05.2017 | Дата введения: | 01.01.1989 | Область применения: | Руководящий документ распространяется на уплотнения неподвижные металлические с кольцами двухконусного, треугольного, восьмиугольного сечений и с плоской прокладкой для сосудов и аппаратов с диаметрами уплотнения 200 - 3200 мм, работающих при статическом и малоцикловом нагружениях внутренним давлением свыше 10 до 1000 МПа (свыше 100 до 1000 кгс/см2) и расчетной температуре стенки от минус 40 градусов Цельсия до 420 градусов Цельсия. | Оглавление: | 1. Общие положения 2. Методика расчета на прочность и плотность 2.1. Уплотнение с двухконусным кольцом 2.2. Уплотнение с кольцом треугольного сечения 2.3. Уплотнение с кольцом восьмиугольного сечения 2.4. Уплотнение с плоской прокладкой Приложение 1. Условные обозначения Приложение 2. Расчетные характеристики материалов уплотнительных колец при повышенных температурах Приложение 3. Расчетные характеристики материалов крышки и фланца корпуса при повышенных температурах Приложение 4. Средние коэффициенты линейного расширения Приложение 5. Модуль упругости материалов при повышенных температурах | Утверждён: | 15.06.1988 УкрНИИхиммаш (UkrNIIkhimmash )
| Принят: | 17.06.1988 Госгортехнадзор СССР (USSR Gosgortekhnadzor 15-15/27/173) 08.06.1986 НИИХИММАШ (NIIKHIMMASH ) 02.06.1988 ГИАП (GIAP ) 09.06.1988 Управление оборудования министерства по производству минеральных удобрений 25.04.1988 ПО Уралхиммаш
| Расположен в: |
| Заменяет собой: | - ОСТ 26-01-87-78 «Уплотнения неподвижные металлические для сосудов и аппаратов на давление свыше 9,81 МПа (100 кгс/см2) до 98,1 МПа (1000 кгс/см2). Методика расчета на прочность и плотность»
| Нормативные ссылки: |   ГОСТ 14249-89 «Сосуды и аппараты. Нормы и методы расчета на прочность» ОСТ 26-01-86-88 «Уплотнения неподвижные металлические для сосудов и аппаратов на давление свыше 10 до 100 МПа (свыше 100 до 1000 кгс/см2). Типы. Конструкции и размеры. Технические требования. Правила приемки. Методы контроля» ОСТ 26-01-138-81 «Резьбовые соединения для сосудов и аппаратов на давление свыше 9,81 до 98,1 МПа (свыше 100 до 1000 кгс/см2). Типы и размеры» ОСТ 26-01-139-81 «Шпильки для резьбовых соединений сосудов и аппаратов на давление свыше 9,81 до 98,1 МПа (свыше 100 до 1000 кгс/см2). Типы. Конструкция и размеры» ОСТ 26-01-140-81 «Гайки для резьбовых соединений сосудов и аппаратов на давление свыше 9,81 до 98,1 МПа (свыше 100 до 1000 кгс/см2). Типы. Конструкция и размеры» ОСТ 26-01-141-81 «Шайбы для резьбовых соединений сосудов и аппаратов на давление свыше 9,81 до 98,1 МПа (свыше 100 до 1000 кгс/см2). Конструкция и размеры» ОСТ 26-01-142-81 «Гнезда для резьбовых соединений сосудов и аппаратов на давление свыше 9,81 до 98,1 МПа (свыше 100 до 1000 кгс/см2). Конструкция и размеры» ОСТ 26-01-143-81 «Колпачки защитные для резьбовых соединений сосудов и аппаратов на давление свыше 9,81 до 98,1 МПа (свыше 100 до 1000 кгс/см2). Конструкция и размеры» ОСТ 26-01-144-81 «Шпильки, гайки, шайбы, резьбовые гнезда, колпачки защитные для сосудов и аппаратов на давление свыше 9,81 до 98,1 МПа (свыше 100 до 1000 кгс/см2). Общие технические требования. Правила приемки. Методы испытаний. Маркировка» ГОСТ 26303-84 «Сосуды и аппараты высокого давления. Шпильки. Методы расчета на прочность»  СТ СЭВ 5206-85 «Сосуды и аппараты высокого давления. Фланцы, крышки плоские и выпуклые. Методы расчета на прочность» ОСТ 26-1046-87 «Сосуды и аппараты высокого давления. Нормы и методы расчета на прочность»
|
                                      
|