| ||||||||||||||||||||||||||
Скачать Каталог Центробежные герметичные электронасосыДата актуализации: 10.08.2017
|
| Обозначение: | Каталог |
| Статус: | действует |
| Название рус.: | Центробежные герметичные электронасосы |
| Дата добавления в базу: | 01.09.2013 |
| Дата актуализации: | 05.05.2017 |
| Область применения: | Каталог предназначен для инженерно-технических работников проектных организаций, проектирующих предприятия и насосные станции, на которых используются насосы двустороннего входа, предприятий, эксплуатирующих эти насосы, а также для работников плановых и сбытовых организаций |
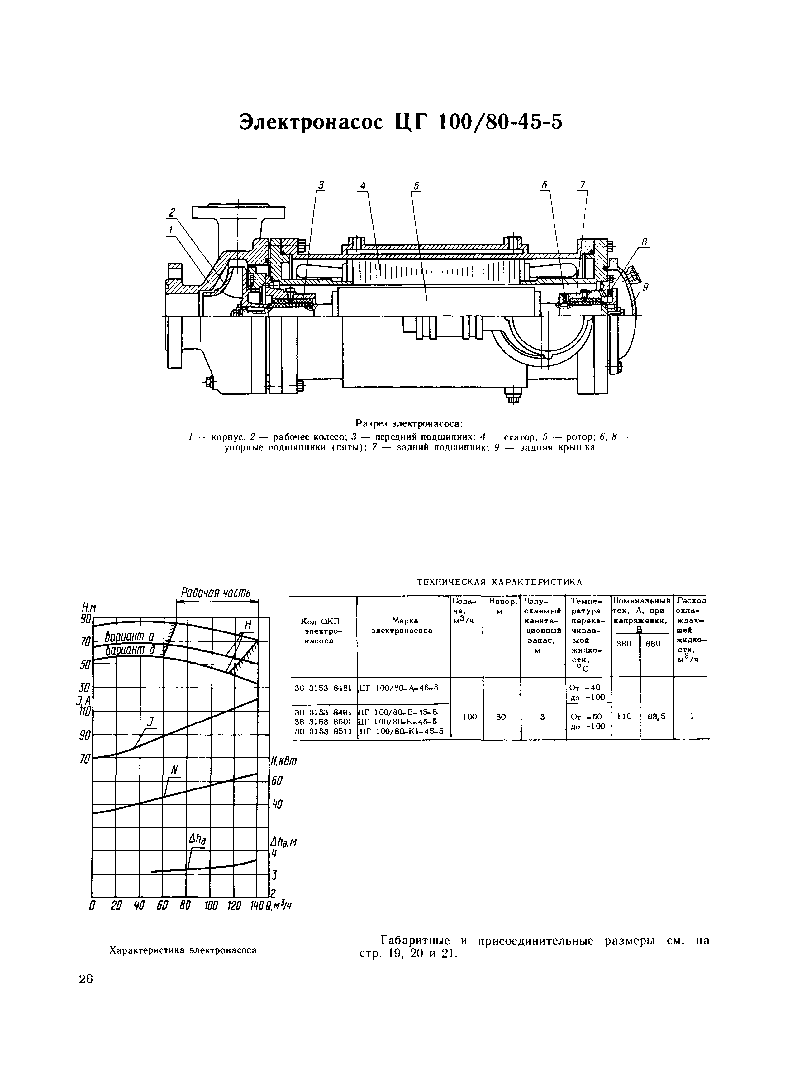
| Оглавление: | Введение Общие сведения Электронасосы по ГОСТ 2079-83 для перекачивания жидкостей температурой выше 100 градусов Цельсия Электронасосы 1 ,5ХГ-3-2,8-3; 4ХГ-12-14-3; ЦГ 12.5/50-4-6; ЦГ 25/50-7,5-6; ЦГ 25/80-15-6; ЦГ 50/50-15-6; ЦГ 100/50-30-6 Электронасос ЦГ 200/80.75-6 Электронасосы ЦГ 25/20-3-3(6); ЦГ 100/32-15-3(6); ЗЦГ 50/50.15-3(6) Электронасосы по ГОСТ 2079-83 для перекачивания жидкостей температурой до 100 градусов Цельсия Электронасосы 2ХГ-5-4.5-1(2); 2ХГ.4-10-4(5); 2ХГ-3-14-4(5); 4ХГ-12-14-2; ЦГ 12,5/50-4-4(5); ЦГ 25/50-7,5-4(5); ЦГ 50/12,5-3-1; ЦГ 50/50-15-1(4,5); 1ЦГ 50/50.15-5; ЦГ 50/80-30-4; ЦГ 100/50-30-1 Электронасосы 1,5ХГ.3-2,8-4 и 1,5ХГ-3-2.8-5 Электронасосы 1,5ХГ-6-2,8-2; 1 5ХГ-6Х2-2,8-2 и 1,5ХГ-6Ж 3-2,8-2 Электронасос ЦГ 100/80-45-5 Электронасосы ЦГ 100/125-75-4 и ЦГ 100/125-75-5 Электронасос ЦГ 200/50-45-4 Электронасосы 3ХГВ-7Х2-20-4 и 4ХГВ-6-40-5 Электронасосы ЦГ 6,3/20-1,1(2.4,5); ЦГ 6,3/32-2,2-1(2,4,5); ЦГ 25/80-15-4(5); ЗЦГ 50/50-15-1(2,4,5); ЗЦГ 100/32-15-1(2,4,5) Специальные герметичные электронасосы Электронасосы БЭН-9Ж, БЭН-10Ж, БЭН-1Ж, 1БЭН-9, 1БЭН-10, 1БЭН-11 Электронасосы БЭН-33 и БЭН-34 Электронасос БЭН-58 Электронасосы БЭН-94 и БЭН-95 Электронасос БЭН-72 Электронасос БЭН-74 |
| Разработан: | СКТБН ПО Молдавгидромаш |
| Издан: | ЦИНТИХИМНЕФТЕМАШ (1985 г. ) |
| Расположен в: | |
| Нормативные ссылки: |





















































