| ||||||||||||||||||||||||||||
Скачать ТК I-2-10 Технологические карты на строительство ВЛ 6 - 10 кВ на железобетонных опорах. Сборка на пикете железобетонных опор ВЛ 6 - 10 кВДата актуализации: 10.08.2017
|
| Обозначение: | ТК I-2-10 |
| Обозначение англ: | I-2-10 |
| Статус: | не установлен срок действия |
| Название рус.: | Технологические карты на строительство ВЛ 6 - 10 кВ на железобетонных опорах. Сборка на пикете железобетонных опор ВЛ 6 - 10 кВ |
| Дата добавления в базу: | 01.09.2013 |
| Дата актуализации: | 05.05.2017 |
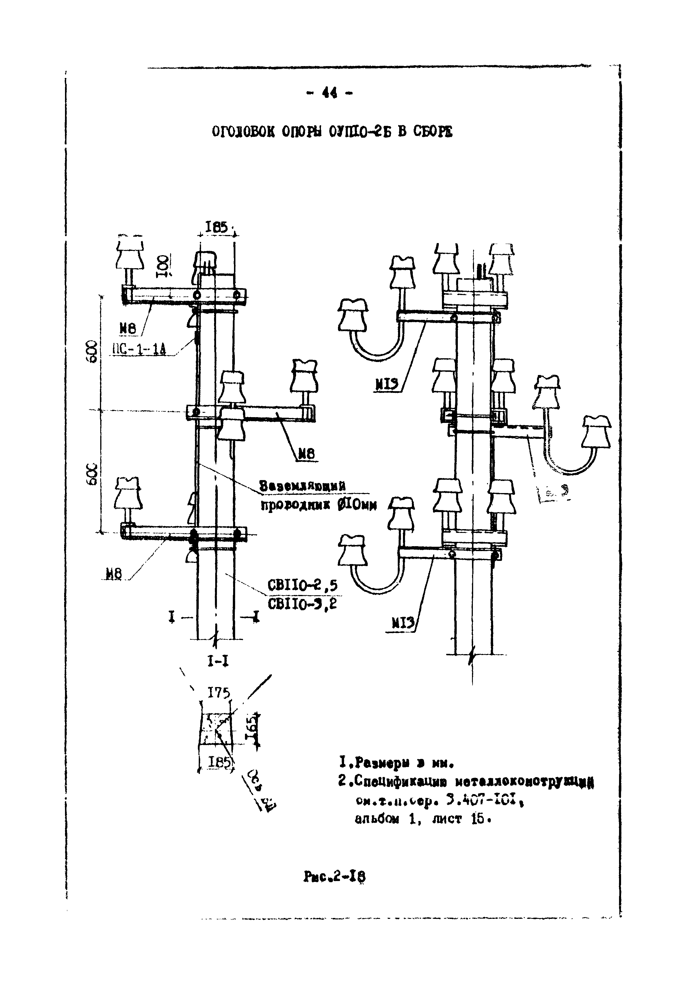
| Область применения: | Технологическая карта является руководством при сборке на пикетах промежуточных и сложных опор ВЛ 6 - 10 кВ на железобетонных стойках СВ 110-2,5 и СВ 110-3,2 (ГОСТ 23613-79), а также может быть использована при составлении проектов производства работ с привязкой к местным условиям. |
| Оглавление: | Общие положения 1. Область применения 2. Организация и технология строительного процесса 3. Технико-экономические показатели (на одну опору) 4. Материально-технические ресурсы Инструменты и приспособления |
| Разработан: | Сельэнергопроект |
| Утверждён: | 25.12.1985 Главсельэлектросетьстрой |
| Расположен в: | |
| Нормативные ссылки: |
|














































