| ||||||||||||||||||||||||||
Скачать Технические указания по проектированию, строительству и эксплуатации кабельных линий связи в районах вечной мерзлотыДата актуализации: 10.08.2017 |
| Статус: | действует |
| Название рус.: | Технические указания по проектированию, строительству и эксплуатации кабельных линий связи в районах вечной мерзлоты |
| Дата добавления в базу: | 01.09.2013 |
| Дата актуализации: | 05.05.2017 |
| Область применения: | Технические указания предназначены для проектирования, строительства и эксплуатации подземных кабельных линий связи в районах вечной мерзлоты и глубокого сезонного промерзания грунтов с использованием бронированных симметричных и коаксиальных кабелей. |
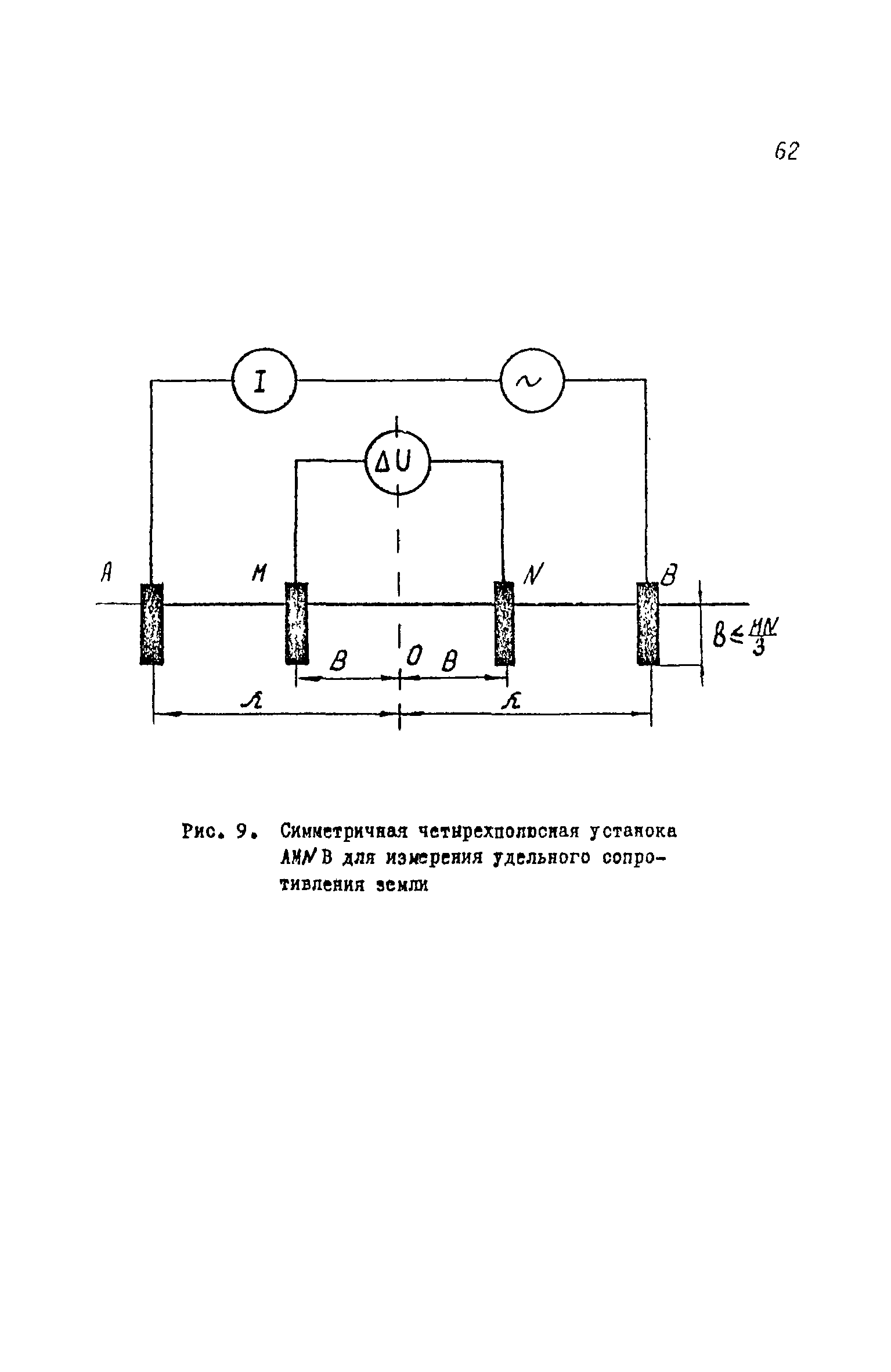
| Оглавление: | Предисловие I. Общие положения 2. Особенности изысканий в районах вечной мерзлоты и глубокого сезонного промерзания грунтов 3. Проектирование и устройство средств защиты подземных кабелей связи от воздействия мерзлотно-грунтовых процессов 4. Особенности технологии прокладки симметричных и коаксиальных кабелей Расчистка просек перед прокладкой кабелей Предварительная пропорка и планировка грунта Прокладка кабелей в оттаявших грунтах Прокладка кабелей в промерзлых грунтах Прокладка кабелей в скальных грунтах Прокладка кабелей через заболоченный участки трассы 5. Особенности эксплуатации кабельных линий в районах вечной мерзлоты 6. Оборудование заземлений в районах вечной мерзлоты 6.1. Предпроектные изыскания заземляющих устройств 6.2. Рекомендации по оборудованию заземлений Выбор рациональной среды для сооружения заземлений Естественные заземлители Выносные заземления Стержневые заземлители с искусственной обработкой грунта Протяженные горизонтальные заземлители Заземлители расположенные в местах строительства промышленных и городских сооружений 6.3 Способы предотвращения интенсивного промерзания грунта на площадке установки заземлителей Приложение 1. Форма записи наблюдений при электропрофилировании по схеме ANNB Приложение 2. Форма записи наблюдений при электроразведке по схеме ВЭЗ Список литературы |
| Разработан: | ЦНИИ связи, Киевское отделение |
| Утверждён: | 27.05.1981 Министерство связи СССР |
| Принят: | ГСС (GSS ) ЦНИИС (TsNIIS ) ГУМТС Главсвязьпроект |
| Расположен в: | |
| Нормативные ссылки: |


















































































