Информационная система
«Ёшкин Кот»

Скачать базу одним архивом
Скачать обновления
История создания базы
Карта сайта

Скачать ТУ 34-38-20111-96 Насос центробежный ЦН-400-105-У4 (3В-200х2). Технические условия на ремонт

Дата актуализации: 10.08.2017

ТУ 34-38-20111-96

Насос центробежный ЦН-400-105-У4 (3В-200х2). Технические условия на ремонт

Обозначение: ТУ 34-38-20111-96
Обозначение англ: TU 34-38-20111-96
Статус:действует
Название рус.:Насос центробежный ЦН-400-105-У4 (3В-200х2). Технические условия на ремонт
Дата добавления в базу:01.09.2013
Дата актуализации:05.05.2017
Дата введения:01.01.1997
Область применения:Технические условия (ТУ) распространяются на капитальный ремонт насоса ЦН—400—103—У4 (3В—200х2) в течение полного срока службы.
Оглавление:1. Введение
2. Общие технические требования
3. Требования к составным частям
   3.1 Корпус (карты 1-4)
      Корпус
      Кольцо уплотнительное
      Кольцо уплотняющее промежуточное
      Камера водяная
      3.1.1. Требования н отремонтированному корпусу
   3.2. Ротор (карты 5-9)
      Гайка
      Вал
      Втулка защитная
      Колесо рабочее
      Кольцо
      3.2.1. Требования к отремонтированному ротору
   3.3. Узлы опор (карты 10-11)
      Корпус подшипника
      Крышка
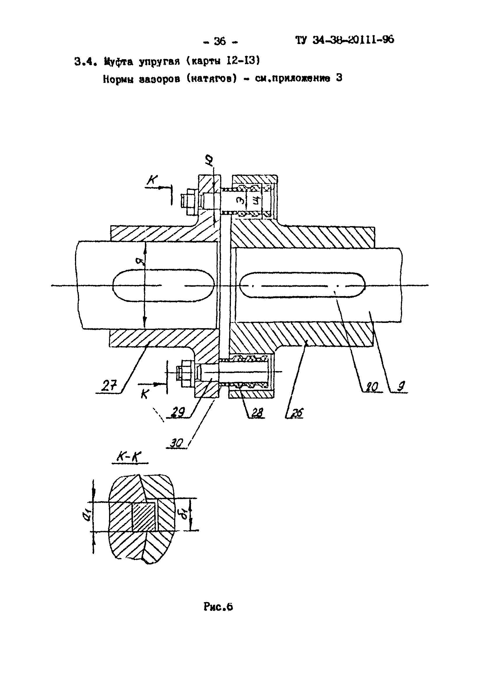
   3.4. Муфта упругая (карты 12-13)
      Полумуфты насоса и электродвигателя
      Палец
4. Требования к сборке
5 Испытания, контроль, измерения
6. Консервация
7, Маркировка
8, Упаковка, транспортирование, хранение
9. Комплектность
10. Гарантии
Приложение 1. Перечень документов, упомянутых в ТУ
Приложение 2. Материалы основных составных частей и материалы-заменители
Приложение 3. Нормы зазоров и натягов
Приложение 4. Перечень контрольного инструмента
Приложение 5. Перечень деталей, подлежащих замене, независимо от их технического состояния
Лист регистрации изменений
Разработан: АООТ ЦКБ Энергоремонт
Утверждён: РАО ЕЭС России (UES of Russia RAO )
Принят: ПО Союзтехэнерго
Союзэнергоремтрест
Сумский насосный завод
Расположен в:Техническая документация Строительство Стандарты Отраслевые стандарты и технические условия Технические условия
Заменяет собой:
  • ТУ 34-38-20111-80
Нормативные ссылки:
ТУ 34-38-20111-96ТУ 34-38-20111-96ТУ 34-38-20111-96ТУ 34-38-20111-96ТУ 34-38-20111-96ТУ 34-38-20111-96ТУ 34-38-20111-96ТУ 34-38-20111-96ТУ 34-38-20111-96ТУ 34-38-20111-96ТУ 34-38-20111-96ТУ 34-38-20111-96ТУ 34-38-20111-96ТУ 34-38-20111-96ТУ 34-38-20111-96ТУ 34-38-20111-96ТУ 34-38-20111-96ТУ 34-38-20111-96ТУ 34-38-20111-96ТУ 34-38-20111-96ТУ 34-38-20111-96ТУ 34-38-20111-96ТУ 34-38-20111-96ТУ 34-38-20111-96ТУ 34-38-20111-96ТУ 34-38-20111-96ТУ 34-38-20111-96ТУ 34-38-20111-96ТУ 34-38-20111-96ТУ 34-38-20111-96ТУ 34-38-20111-96ТУ 34-38-20111-96ТУ 34-38-20111-96ТУ 34-38-20111-96ТУ 34-38-20111-96ТУ 34-38-20111-96ТУ 34-38-20111-96ТУ 34-38-20111-96ТУ 34-38-20111-96ТУ 34-38-20111-96ТУ 34-38-20111-96ТУ 34-38-20111-96ТУ 34-38-20111-96ТУ 34-38-20111-96ТУ 34-38-20111-96ТУ 34-38-20111-96ТУ 34-38-20111-96ТУ 34-38-20111-96ТУ 34-38-20111-96ТУ 34-38-20111-96ТУ 34-38-20111-96ТУ 34-38-20111-96ТУ 34-38-20111-96ТУ 34-38-20111-96ТУ 34-38-20111-96ТУ 34-38-20111-96

© 2013 Ёшкин Кот :-) Карта сайта