Информационная система
«Ёшкин Кот»

Скачать базу одним архивом
Скачать обновления
История создания базы
Карта сайта

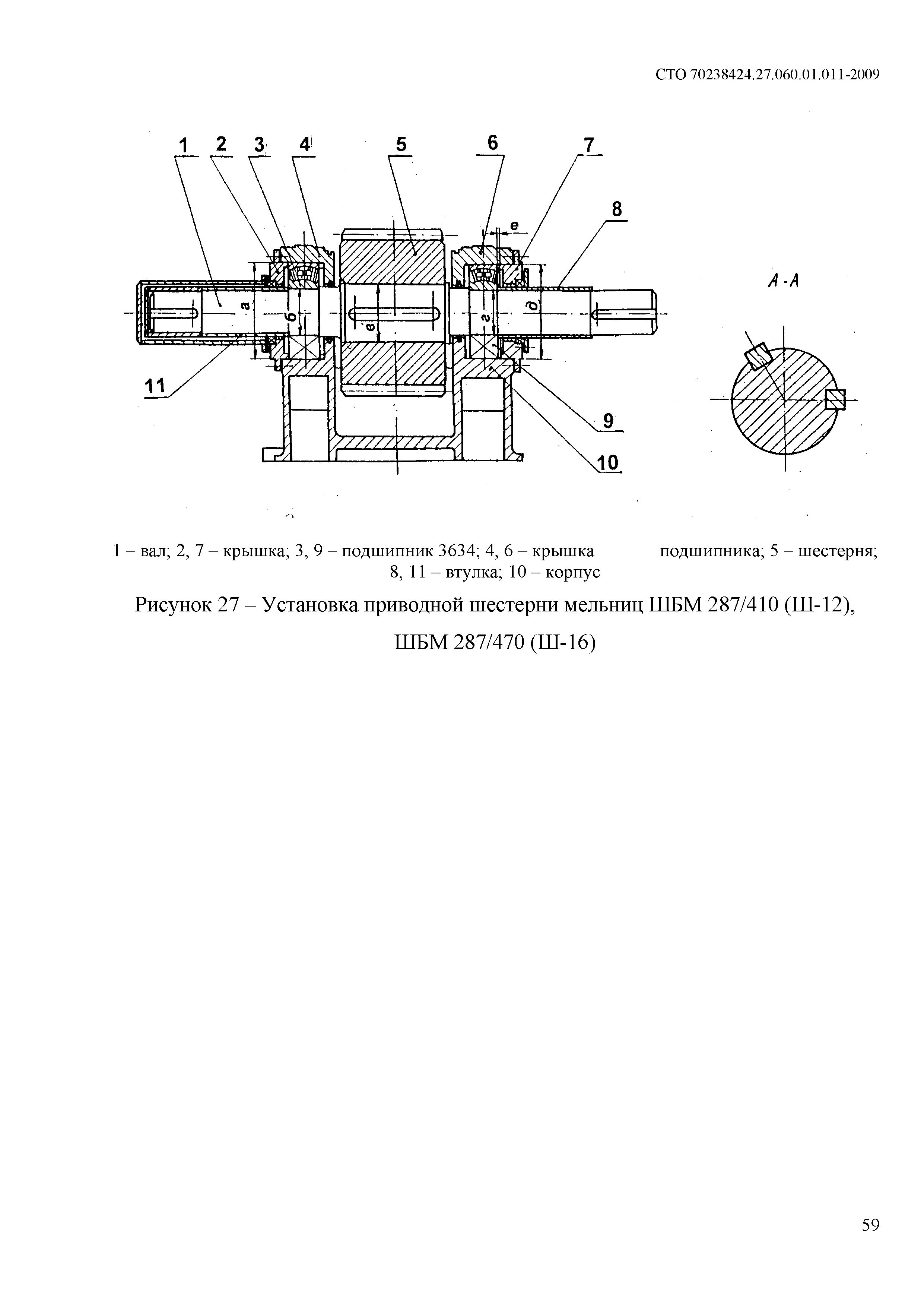
Скачать СТО 70238424.27.060.01.011-2009 Мельницы шаровые барабанные. Общие технические условия на капитальный ремонт. Нормы и требования

Дата актуализации: 10.08.2017

СТО 70238424.27.060.01.011-2009

Мельницы шаровые барабанные. Общие технические условия на капитальный ремонт. Нормы и требования

Обозначение: СТО 70238424.27.060.01.011-2009
Обозначение англ: STO 70238424.27.060.01.011-2009
Статус:проект
Название рус.:Мельницы шаровые барабанные. Общие технические условия на капитальный ремонт. Нормы и требования
Дата добавления в базу:01.10.2014
Дата актуализации:05.05.2017
Область применения:Стандарт устанавливает технические нормы и требования к ремонту шаровых барабанных мельниц, направленные на обеспечение промышленной безопасности тепловых электрических станций, экологической безопасности, повышение надежности эксплуатации и качества ремонта.
Оглавление:1 Область применения
2 Нормативные ссылки
3 Термины, определения, обозначения и сокращения
4 Общие положения
5 Общие технические сведения
6 Общие технические требования
   6.1 Требования к метрологическому обеспечению
   6.2 Требования к разборке
   6.3 Требования к очистке составных частей
   6.4 Требования к материалам
   6.5 Требования к сварным соединениям
   6.6 Требования к резьбовым соединениям и крепежным изделиям
   6.7 Требования к шпоночным соединениям
   6.8 Требования к подшипникам качения
   6.9 Требования к поверхностям под посадку
7 Требования к составным частям
   7.1 Привод мельницы
   7.2 Барабан с подшипниками
   7.3 Требования к сборке составных частей
8 Требования к отремонтированной мельнице
9 Испытания и показатели качества отремонтированной мельницы
10 Требования к обеспечению безопасности
11 Оценка соответствия
Приложение А (обязательное). Техническая характеристика мельниц
Приложение Б (рекомендуемое). Перечень средств измерения, упомянутых в стандарте
Приложение В (обязательное). Разрешённые замены материалов
Приложение Г (справочное). Нормы зазоров и натягов
Приложение Д (обязательное). Перечень деталей, подлежащих замене независимо от их технического состояния
Приложение Е (обязательное). Методы контроля и средства измерения
Библиография
Разработан: ЗАО ЦКБ Энергоремонт
Утверждён: НП ИНВЭЛ
Расположен в:Техническая документация
Нормативные ссылки:
СТО 70238424.27.060.01.011-2009СТО 70238424.27.060.01.011-2009СТО 70238424.27.060.01.011-2009СТО 70238424.27.060.01.011-2009СТО 70238424.27.060.01.011-2009СТО 70238424.27.060.01.011-2009СТО 70238424.27.060.01.011-2009СТО 70238424.27.060.01.011-2009СТО 70238424.27.060.01.011-2009СТО 70238424.27.060.01.011-2009СТО 70238424.27.060.01.011-2009СТО 70238424.27.060.01.011-2009СТО 70238424.27.060.01.011-2009СТО 70238424.27.060.01.011-2009СТО 70238424.27.060.01.011-2009СТО 70238424.27.060.01.011-2009СТО 70238424.27.060.01.011-2009СТО 70238424.27.060.01.011-2009СТО 70238424.27.060.01.011-2009СТО 70238424.27.060.01.011-2009СТО 70238424.27.060.01.011-2009СТО 70238424.27.060.01.011-2009СТО 70238424.27.060.01.011-2009СТО 70238424.27.060.01.011-2009СТО 70238424.27.060.01.011-2009СТО 70238424.27.060.01.011-2009СТО 70238424.27.060.01.011-2009СТО 70238424.27.060.01.011-2009СТО 70238424.27.060.01.011-2009СТО 70238424.27.060.01.011-2009СТО 70238424.27.060.01.011-2009СТО 70238424.27.060.01.011-2009СТО 70238424.27.060.01.011-2009СТО 70238424.27.060.01.011-2009СТО 70238424.27.060.01.011-2009СТО 70238424.27.060.01.011-2009СТО 70238424.27.060.01.011-2009СТО 70238424.27.060.01.011-2009СТО 70238424.27.060.01.011-2009СТО 70238424.27.060.01.011-2009СТО 70238424.27.060.01.011-2009СТО 70238424.27.060.01.011-2009СТО 70238424.27.060.01.011-2009СТО 70238424.27.060.01.011-2009СТО 70238424.27.060.01.011-2009СТО 70238424.27.060.01.011-2009СТО 70238424.27.060.01.011-2009СТО 70238424.27.060.01.011-2009СТО 70238424.27.060.01.011-2009СТО 70238424.27.060.01.011-2009СТО 70238424.27.060.01.011-2009СТО 70238424.27.060.01.011-2009СТО 70238424.27.060.01.011-2009СТО 70238424.27.060.01.011-2009СТО 70238424.27.060.01.011-2009СТО 70238424.27.060.01.011-2009СТО 70238424.27.060.01.011-2009СТО 70238424.27.060.01.011-2009СТО 70238424.27.060.01.011-2009СТО 70238424.27.060.01.011-2009СТО 70238424.27.060.01.011-2009СТО 70238424.27.060.01.011-2009СТО 70238424.27.060.01.011-2009СТО 70238424.27.060.01.011-2009СТО 70238424.27.060.01.011-2009СТО 70238424.27.060.01.011-2009СТО 70238424.27.060.01.011-2009СТО 70238424.27.060.01.011-2009СТО 70238424.27.060.01.011-2009СТО 70238424.27.060.01.011-2009СТО 70238424.27.060.01.011-2009СТО 70238424.27.060.01.011-2009СТО 70238424.27.060.01.011-2009СТО 70238424.27.060.01.011-2009СТО 70238424.27.060.01.011-2009СТО 70238424.27.060.01.011-2009СТО 70238424.27.060.01.011-2009СТО 70238424.27.060.01.011-2009СТО 70238424.27.060.01.011-2009СТО 70238424.27.060.01.011-2009СТО 70238424.27.060.01.011-2009СТО 70238424.27.060.01.011-2009СТО 70238424.27.060.01.011-2009СТО 70238424.27.060.01.011-2009СТО 70238424.27.060.01.011-2009СТО 70238424.27.060.01.011-2009СТО 70238424.27.060.01.011-2009СТО 70238424.27.060.01.011-2009СТО 70238424.27.060.01.011-2009СТО 70238424.27.060.01.011-2009СТО 70238424.27.060.01.011-2009СТО 70238424.27.060.01.011-2009СТО 70238424.27.060.01.011-2009СТО 70238424.27.060.01.011-2009СТО 70238424.27.060.01.011-2009СТО 70238424.27.060.01.011-2009СТО 70238424.27.060.01.011-2009СТО 70238424.27.060.01.011-2009СТО 70238424.27.060.01.011-2009СТО 70238424.27.060.01.011-2009СТО 70238424.27.060.01.011-2009СТО 70238424.27.060.01.011-2009СТО 70238424.27.060.01.011-2009СТО 70238424.27.060.01.011-2009СТО 70238424.27.060.01.011-2009СТО 70238424.27.060.01.011-2009СТО 70238424.27.060.01.011-2009СТО 70238424.27.060.01.011-2009СТО 70238424.27.060.01.011-2009СТО 70238424.27.060.01.011-2009СТО 70238424.27.060.01.011-2009СТО 70238424.27.060.01.011-2009СТО 70238424.27.060.01.011-2009СТО 70238424.27.060.01.011-2009СТО 70238424.27.060.01.011-2009СТО 70238424.27.060.01.011-2009СТО 70238424.27.060.01.011-2009СТО 70238424.27.060.01.011-2009СТО 70238424.27.060.01.011-2009СТО 70238424.27.060.01.011-2009СТО 70238424.27.060.01.011-2009СТО 70238424.27.060.01.011-2009СТО 70238424.27.060.01.011-2009СТО 70238424.27.060.01.011-2009СТО 70238424.27.060.01.011-2009СТО 70238424.27.060.01.011-2009СТО 70238424.27.060.01.011-2009СТО 70238424.27.060.01.011-2009СТО 70238424.27.060.01.011-2009СТО 70238424.27.060.01.011-2009СТО 70238424.27.060.01.011-2009СТО 70238424.27.060.01.011-2009СТО 70238424.27.060.01.011-2009СТО 70238424.27.060.01.011-2009СТО 70238424.27.060.01.011-2009СТО 70238424.27.060.01.011-2009СТО 70238424.27.060.01.011-2009СТО 70238424.27.060.01.011-2009

© 2013 Ёшкин Кот :-) Карта сайта