| ||||||||||||||||||||||||||||||||||
Скачать ОСТ 108.021.04-78 Турбины паровые стационарные. Диафрагмы сварные, аппараты направляющие. Общие технические условияДата актуализации: 10.08.2017
|
| Обозначение: | ОСТ 108.021.04-78 |
| Обозначение англ: | OST 108.021.04-78 |
| Статус: | не определен законодательством |
| Название рус.: | Турбины паровые стационарные. Диафрагмы сварные, аппараты направляющие. Общие технические условия |
| Дата добавления в базу: | 01.09.2013 |
| Дата актуализации: | 05.05.2017 |
| Дата введения: | 01.01.1979 |
| Область применения: | Стандарт устанавливает технические требования к деталям, сварным заготовкам перед механической обработкой, окончательно изготовленным сварным диафрагмам и направляющим аппаратам. Стандарт содержит требования к правилам приемки, контролю, маркировке и упаковке |
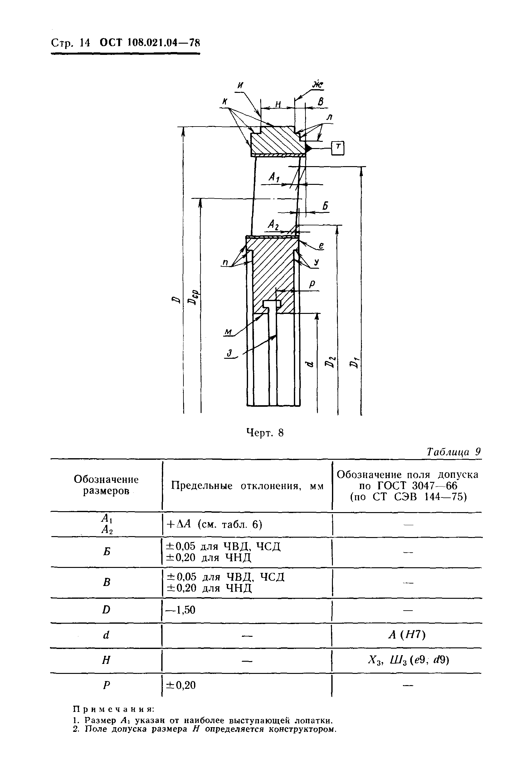
| Оглавление: | 1. Классификация сварных диафрагм и секторов направляющих аппаратов 2. Технические требования 2.1 Общие требования 2.2 Требования к материалам 2.3 Требования к окончательно изготовленным сварным диафрагмам и направляющим аппаратам 2.4 Требования к сварным диафрагмам и направляющим аппаратам до механической обработки (в сварных заготовках) 2.5 Требования к деталям сварных диафрагм и направляющих аппаратов 3. Комплектность 4. Правила приемки 5. Контроль 6. Маркировка и упаковка 6.1 Маркировка 6.2 Защита от коррозии и упаковка Приложение 1 (обязательное). Методика расчета Приложение 2 (обязательное). Предельные отклонения внутреннего и наружного радиусов межлопаточного канала в диафрагмах и направляющих аппаратах Приложение 3 (рекомендуемое). Карта измерений диафрагмы |
| Разработан: | ВПТИэнергомаш НПО ЦКТИ |
| Утверждён: | 16.06.1978 Министерство энергетического машиностроения (Ministry of Energy Machinery Manufacturing ЮК-002/4724) |
| Издан: | НПО ЦКТИ (1979 г. ) |
| Расположен в: | |
| Список изменений: | |
| Нормативные ссылки: |
|





































Текстовое изменение № 1 от 01.01.1988









