Информационная система
«Ёшкин Кот»

Скачать базу одним архивом
Скачать обновления
История создания базы
Карта сайта

Скачать Типовой проект 902-5-36.86 Альбом VI. Нестандартизированное оборудование, нетиповые технологические конструкции (эскизные чертежи общих видов)

Дата актуализации: 10.08.2017

Типовой проект 902-5-36.86

Альбом VI. Нестандартизированное оборудование, нетиповые технологические конструкции (эскизные чертежи общих видов)

Обозначение: Типовой проект 902-5-36.86
Обозначение англ: 902-5-36.86
Статус:не определен законодательством
Название рус.:Альбом VI. Нестандартизированное оборудование, нетиповые технологические конструкции (эскизные чертежи общих видов)
Дата добавления в базу:01.09.2013
Дата актуализации:05.05.2017
Дата введения:05.06.1986
Оглавление:ТП 902-5-36.86 Обложка
ТП 902-5-36.86 Титульный лист
ТП 902-5-36.86 Содержание альбома
ТП 902-5-36.86 1578.01.000 ВО Рама привода. Чертеж общего вида
ТП 902-5-36.86 1578.02.000 ВО Рама привода. Чертеж общего вида
ТП 902-5-36.86 1578.03.000 ВО Рама натяжки. Чертеж общего вида
ТП 902-5-36.86 1578.04.000 ВО Течка. Чертеж общего вида
ТП 902-5-36.86 1577.05.000 ВО Регулятор-смеситель осадка с реагентами. Чертеж общего вида. Лист 1
ТП 902-5-36.86 1577.05.000 ВО Регулятор-смеситель осадка с реагентами. Чертеж общего вида. Лист 2
ТП 902-5-36.86 1578.05.000 ВО Регулятор-смеситель осадка с реагентами. Чертеж общего вида. Лист 1
ТП 902-5-36.86 1578.05.000 ВО Регулятор-смеситель осадка с реагентами. Чертеж общего вида. Лист 2
ТП 902-5-36.86 1578.06.000 ВО Траверса. Чертеж общего вида
ТП 902-5-36.86 1578.07.000 ВО Захват. Чертеж общего вида
ТП 902-5-36.86 1578.08.000 ВО Измеритель - дозатор осадка. Чертеж общего вида. Лист 1
ТП 902-5-36.86 1578.08.000 ВО Измеритель - дозатор осадка. Чертеж общего вида. Лист 2
ТП 902-5-36.86 1578.09.000 ВО Перемешиватель. Чертеж общего вида
ТП 902-5-36.86 1578.09.000-01ВО Перемешиватель. Чертеж общего вида
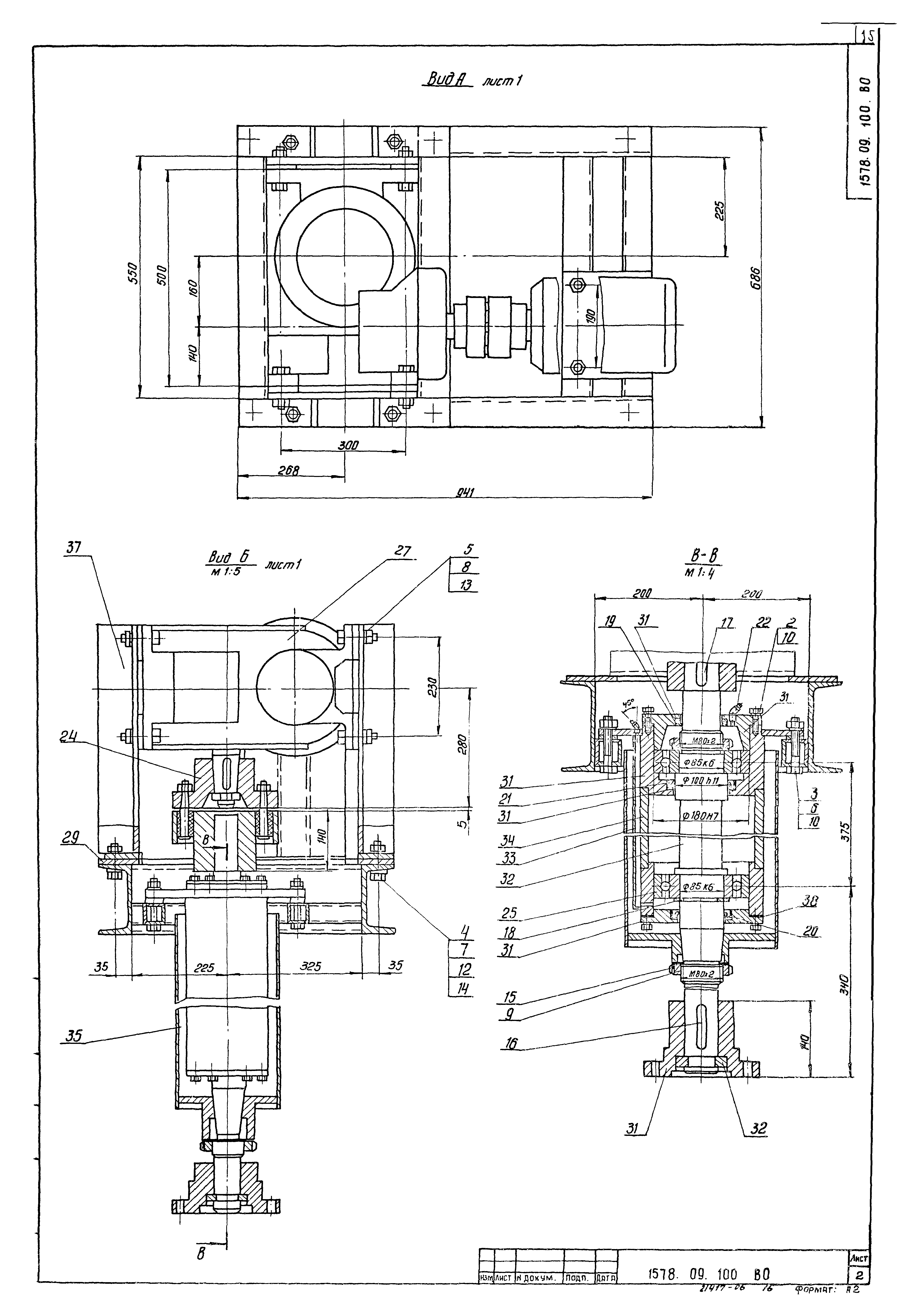
ТП 902-5-36.86 1578.09.100 ВО Привод с рамой. Чертеж общего вида. Лист 1
ТП 902-5-36.86 1578.09.100 ВО Привод с рамой. Чертеж общего вида. Лист 2
ТП 902-5-36.86 1578.09.110 ВО Рама. Чертеж общего вида
ТП 902-5-36.86 1578.09.300 ВО Мешалка. Чертеж общего вида
ТП 902-5-36.86 1578.09.300-01ВО Мешалка. Чертеж общего вида
ТП 902-5-36.86 1578.09.200 ВО Подпятник. Чертеж общего вида
ТП 902-5-36.86 1578.10.000 ВО Гидрозатвор. Чертеж общего вида
Разработан: ЦНИИЭП иженерного оборудования
Утверждён:14.03.1986 Госгражданстрой (Gosgrazhdanstroy 88)
Расположен в:Техническая документация Строительство Справочные документы Типовые строительные конструкции, изделия и узлы Общероссийский строительный каталог Промышленные предприятия, здания и сооружения Здания и сооружения санитарно-технические Канализация Сооружения для очистки производственных сточных вод Сооружения для обработки осадка
Типовой проект 902-5-36.86Типовой проект 902-5-36.86Типовой проект 902-5-36.86Типовой проект 902-5-36.86Типовой проект 902-5-36.86Типовой проект 902-5-36.86Типовой проект 902-5-36.86Типовой проект 902-5-36.86Типовой проект 902-5-36.86Типовой проект 902-5-36.86Типовой проект 902-5-36.86Типовой проект 902-5-36.86Типовой проект 902-5-36.86Типовой проект 902-5-36.86Типовой проект 902-5-36.86Типовой проект 902-5-36.86Типовой проект 902-5-36.86Типовой проект 902-5-36.86Типовой проект 902-5-36.86Типовой проект 902-5-36.86

© 2013 Ёшкин Кот :-) Карта сайта