Информационная система
«Ёшкин Кот»

Скачать базу одним архивом
Скачать обновления
История создания базы
Карта сайта

Скачать СТО 79814898 113-2009 Детали и элементы трубопроводов атомных станций из коррозионно-стойкой стали на давление до 2,2 МПа (22 кгс/см2). Колена гнутые. Конструкция и размеры

Дата актуализации: 10.08.2017

СТО 79814898 113-2009

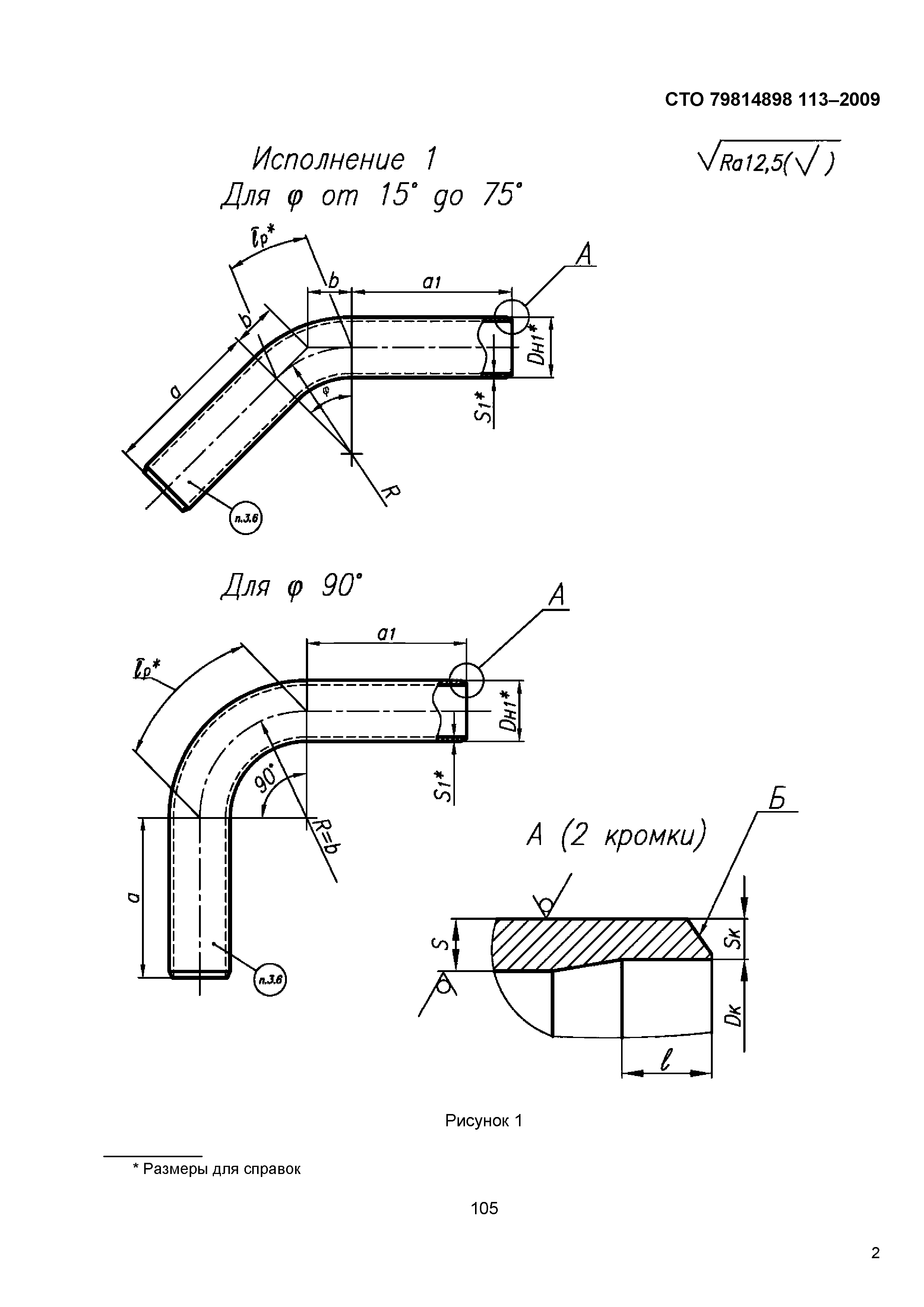
Детали и элементы трубопроводов атомных станций из коррозионно-стойкой стали на давление до 2,2 МПа (22 кгс/см2). Колена гнутые. Конструкция и размеры

Обозначение: СТО 79814898 113-2009
Обозначение англ: STO 79814898 113-2009
Статус:действует
Название рус.:Детали и элементы трубопроводов атомных станций из коррозионно-стойкой стали на давление до 2,2 МПа (22 кгс/см2). Колена гнутые. Конструкция и размеры
Дата добавления в базу:01.09.2013
Дата актуализации:05.05.2017
Дата введения:01.02.2010
Область применения:Стандарт распространяется на гнутые колена из коррозионно-стойкой стали аустенитного класса для трубопроводов атомных станций, транспортирующих рабочие среды с расчетной температурой не выше 300 градусов Цельсия при рабочем давлении менее 2,2 МПа (22 кгс/см2), отнесенных правилами устройства и безопасной эксплуатации оборудования и трубопроводов атомных энергетических установок ПНАЭ Г-7-008, утвержденными Госатомэнергонадзором СССР, к группам В и С
Оглавление:Введение
1 Область применения
2 Термины, определения и обозначения
3 Конструкция и размеры
4 Библиография
Разработан: ЗАО Институт Севзапэнергомонтажпроект
Утверждён:04.12.2009 ЗАО Институт Севзапэнергомонтажпроект (310)
Принят: ОАО Атомэнергопроект
ОАО СПбАЭП
ОАО НИАЭП
ЗАО Энергомаш (г. Белгород)
ОАО Концерн Росэнергоатом
Расположен в:Техническая документация
Список изменений:
Нормативные ссылки:
СТО 79814898 113-2009СТО 79814898 113-2009СТО 79814898 113-2009СТО 79814898 113-2009СТО 79814898 113-2009СТО 79814898 113-2009СТО 79814898 113-2009СТО 79814898 113-2009СТО 79814898 113-2009

Текстовое изменение № 1 от 01.05.2010

№ 1№ 1№ 1

© 2013 Ёшкин Кот :-) Карта сайта