| ||||||||||||||||||||||||||||
Скачать Шифр М24.29/07 Наружные стены, стены подвала, чердачные перекрытия, ограждающие конструкции мансард, полы и покрытия с применением пенополиэтиленовой теплоизоляции Изолон. Материалы для проектирования и рабочие чертежи узловДата актуализации: 10.08.2017
|
| Обозначение: | Шифр М24.29/07 |
| Обозначение англ: | М24.29/07 |
| Статус: | не определен законодательством |
| Название рус.: | Наружные стены, стены подвала, чердачные перекрытия, ограждающие конструкции мансард, полы и покрытия с применением пенополиэтиленовой теплоизоляции "Изолон". Материалы для проектирования и рабочие чертежи узлов |
| Дата добавления в базу: | 01.09.2013 |
| Дата актуализации: | 05.05.2017 |
| Дата введения: | 14.07.2008 |
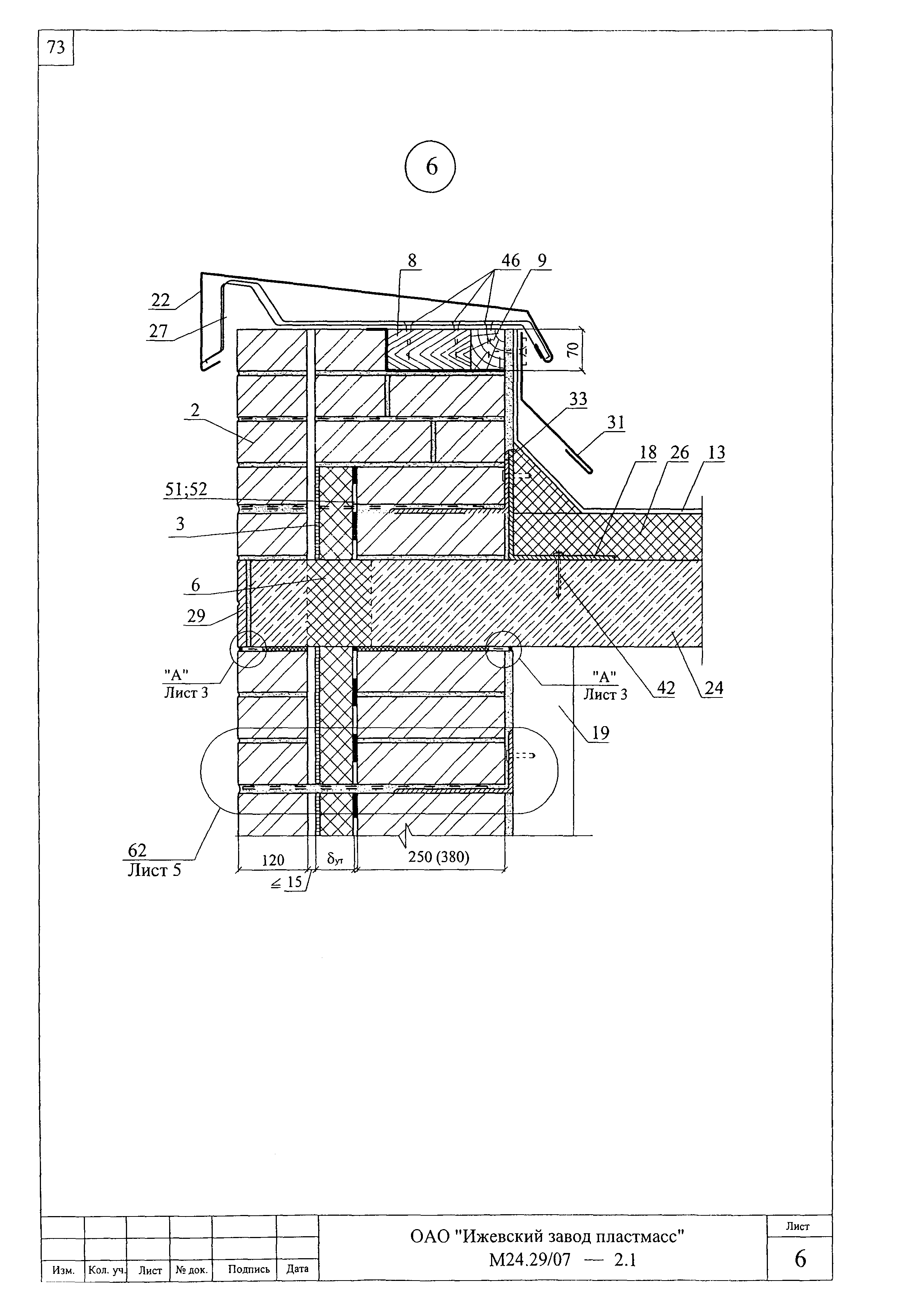
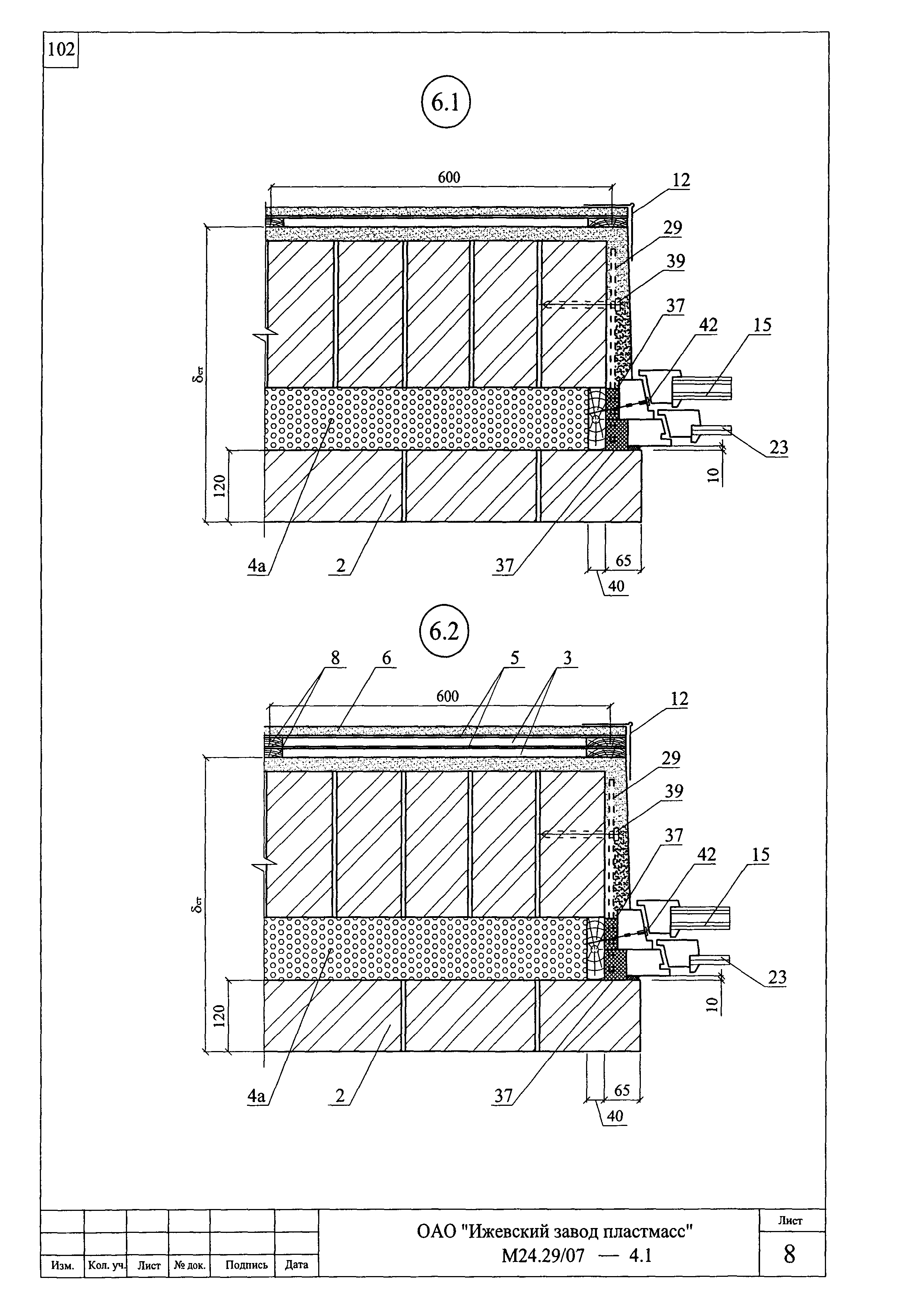
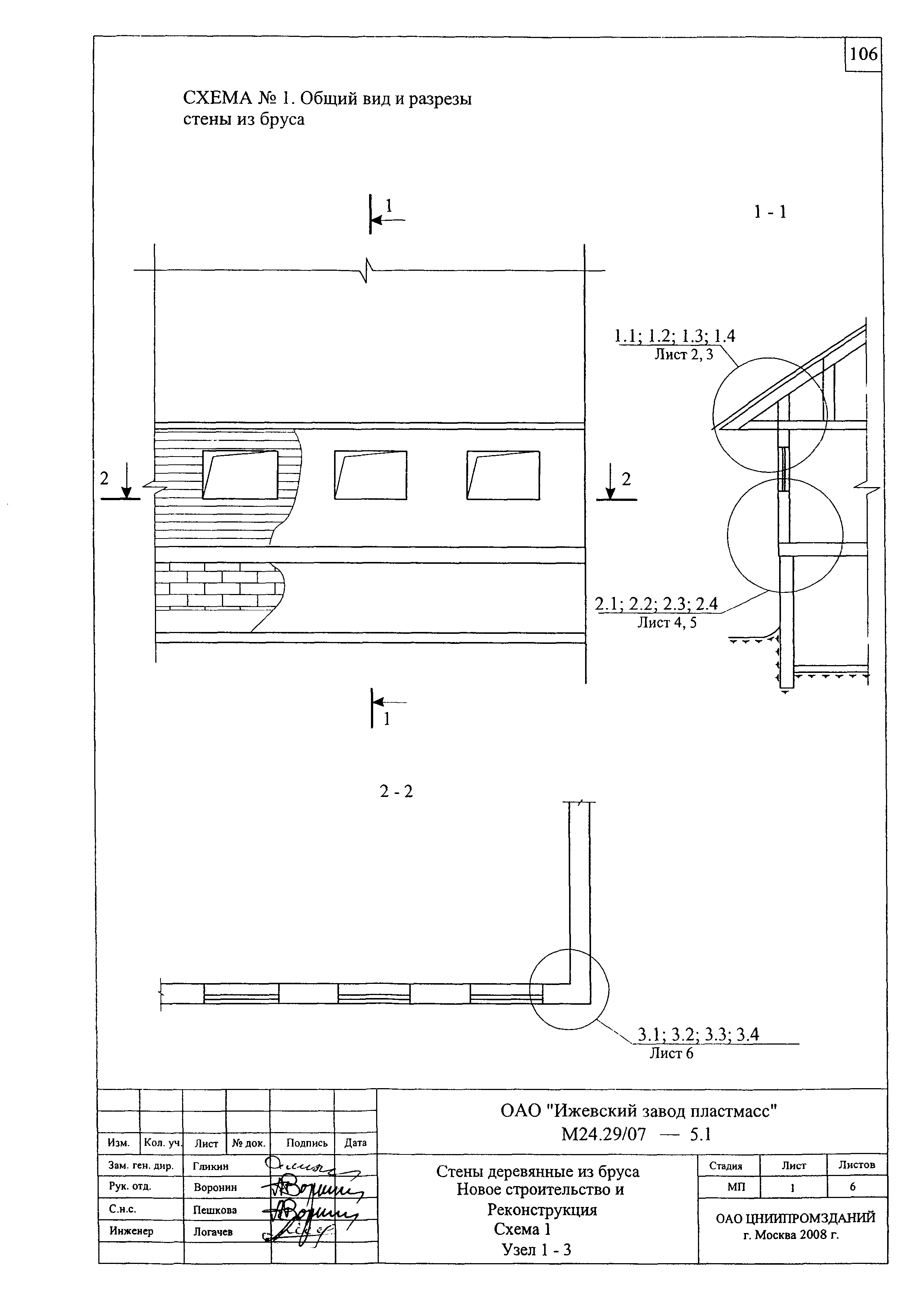
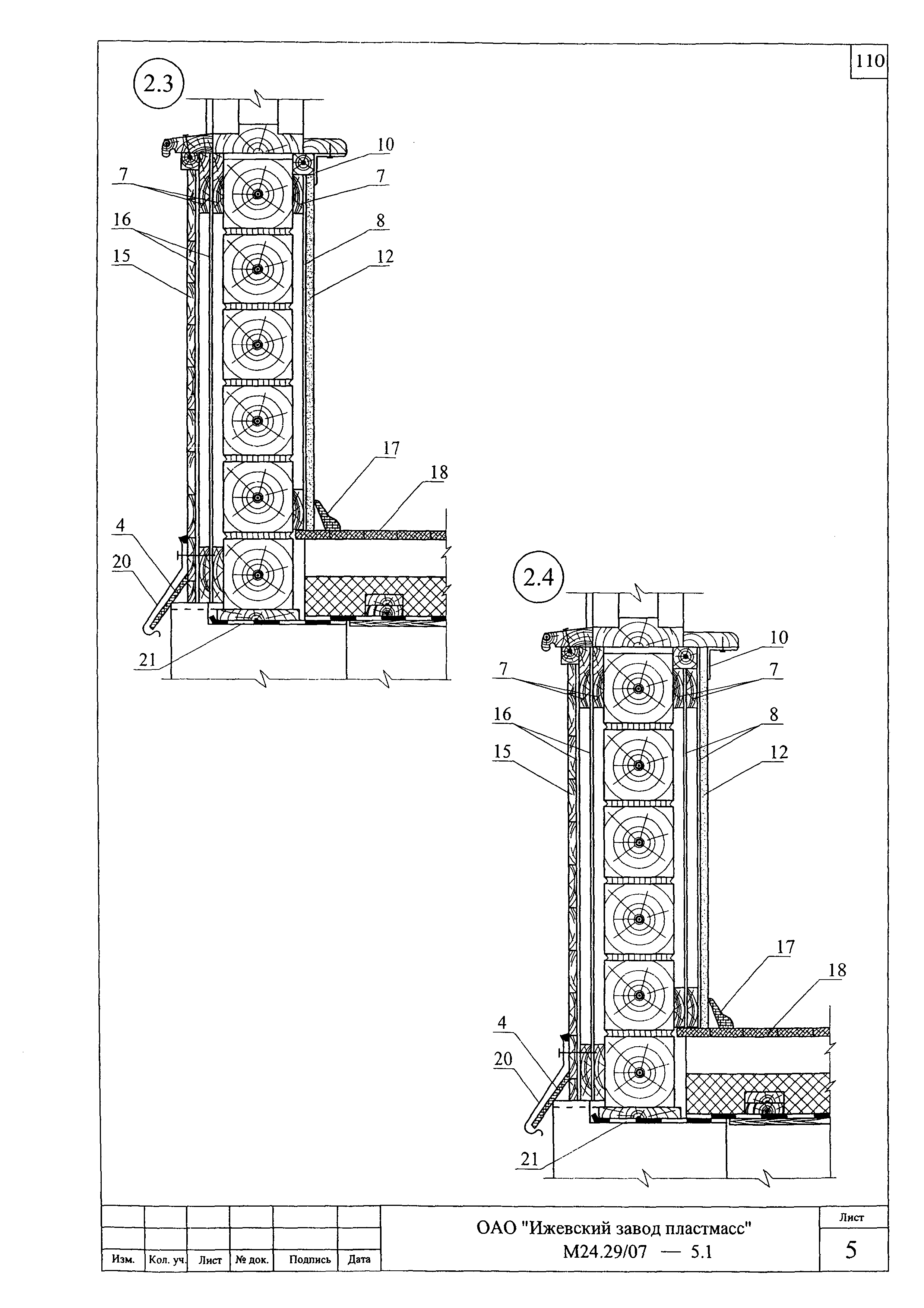
| Область применения: | Альбом содержит материалы для проектирования и рабочие чертежи трехслойных стен, стен колодцевой кладки, однослойных кирпичных стен, деревянных брусчатых и каркасных стен, покрытий чердачных перекрытий, полов и ограждающих конструкций мансард с применением пенополиэтиленовой теплоизоляции "Изолон" |
| Оглавление: | Сертификат Пояснительная записка Раздел 1. Стены с отделочным слоем из кирпича. Новое строительство Раздел 2. Самонесущая стена из кирпича с облицовкой кирпичом в здании с несущим каркасом Раздел 3. Стены с отделочным слоем из кирпича. Реконструкция Раздел 4. Стены колодцевой и кирпичной кладки. Реконструкция Раздел 5. Стены деревянные из бруса. Новое строительство и реконструкция Раздел 6. Стены деревянные каркасные. Новое строительство и реконструкция Раздел 7. Стены подвала Раздел 8. Ограждающие конструкции мансард Раздел 9. Чердачные перекрытия Раздел 10. Полы Раздел 11. Покрытия по стальным профилированным настилам с рулонной кровлей Раздел 12. Покрытия со стальным профилированным настилам с кровлей из стальных профилированных листов Раздел 13. Изделия комплектующие Приложения |
| Разработан: | ОАО ЦНИИпромзданий |
| Утверждён: | 14.07.2008 ОАО ЦНИИпромзданий (TsNIIpromzdaniy OAO ) |
| Расположен в: |














































































































































































