| ||||||||||||||||||||||||||
Скачать Инструкция по применению катодной защиты обсадных колонн скважин в нефтяной промышленностиДата актуализации: 10.08.2017 |
| Статус: | действует |
| Название рус.: | Инструкция по применению катодной защиты обсадных колонн скважин в нефтяной промышленности |
| Дата добавления в базу: | 01.09.2013 |
| Дата актуализации: | 05.05.2017 |
| Область применения: | Инструкция посвящена вопросам катодной защиты обсадных колонн от коррозии для условий крупных нефтяных месторождений, характеризующихся густой сетью подземных металлических коммуникаций, большими запасами нефти и, следовательно, сроками разработки. |
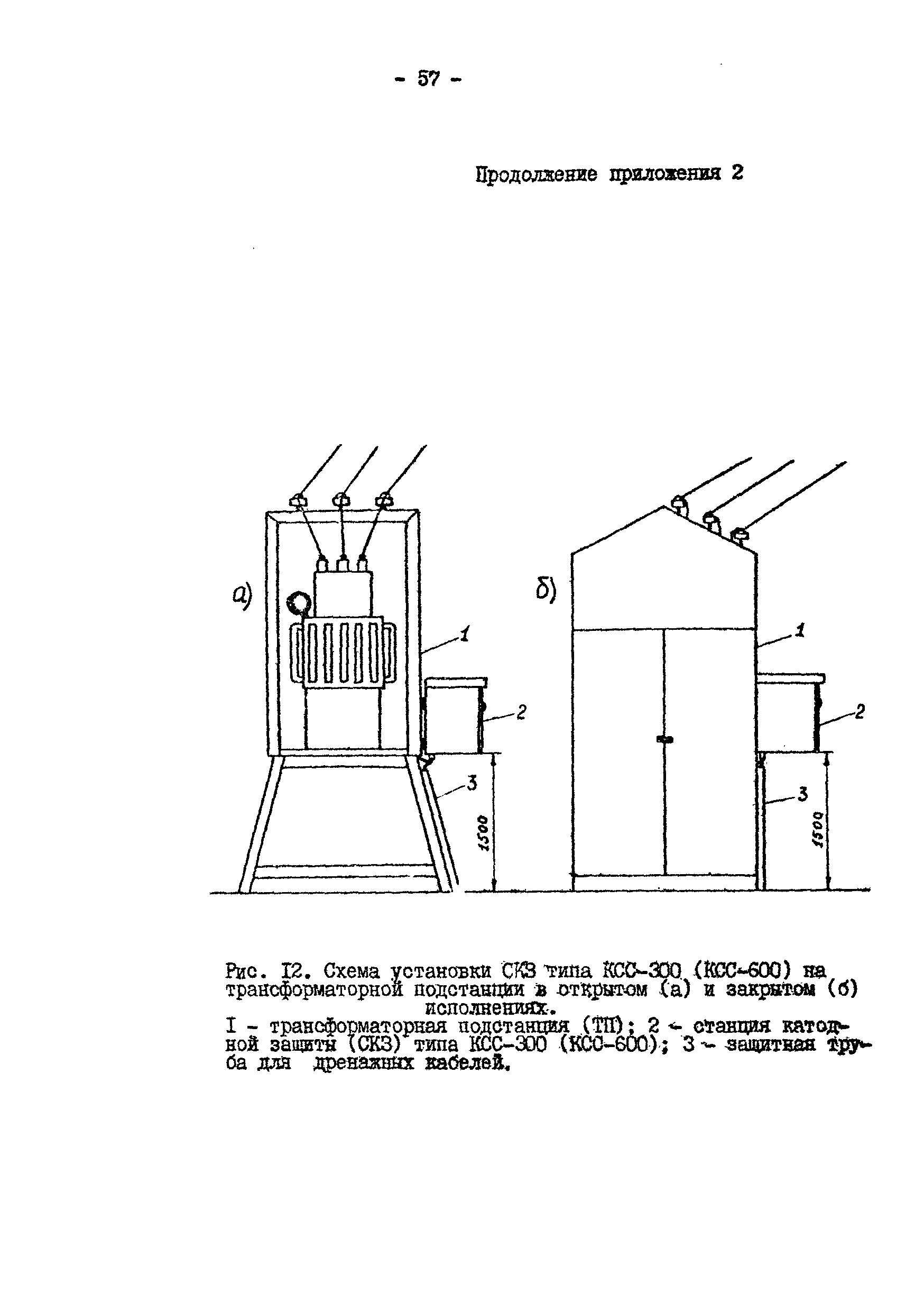
| Оглавление: | 1 Общие положения 2 Расчет и проектирование катодной защиты обсадных колонн 3 Строительство и монтаж системы катодной защиты обсадных колонн 4 Эксплуатация системы катодной защиты 5 Техника безопасности при строительстве и эксплуатации системы катодной защиты |
| Разработан: | ТатНИПИнефть ВНИИСТ |
| Утверждён: | 17.12.1975 Миннефтепром (Minnefteprom ) |
| Издан: | Ротапринт ТатНИПИнефть (1975 г. ) |
| Расположен в: | |
| Нормативные ссылки: |
|









































































