Информационная система
«Ёшкин Кот»

Скачать базу одним архивом
Скачать обновления
История создания базы
Карта сайта

Скачать ОСТ 26-2012-83 Устройства шарнирные для крышек люков стальных сварных сосудов и аппаратов. Конструкция

Дата актуализации: 10.08.2017

ОСТ 26-2012-83

Устройства шарнирные для крышек люков стальных сварных сосудов и аппаратов. Конструкция

Обозначение: ОСТ 26-2012-83
Обозначение англ: OST 26-2012-83
Статус:не определен законодательством
Название рус.:Устройства шарнирные для крышек люков стальных сварных сосудов и аппаратов. Конструкция
Дата добавления в базу:01.09.2013
Дата актуализации:05.05.2017
Дата введения:30.06.2003
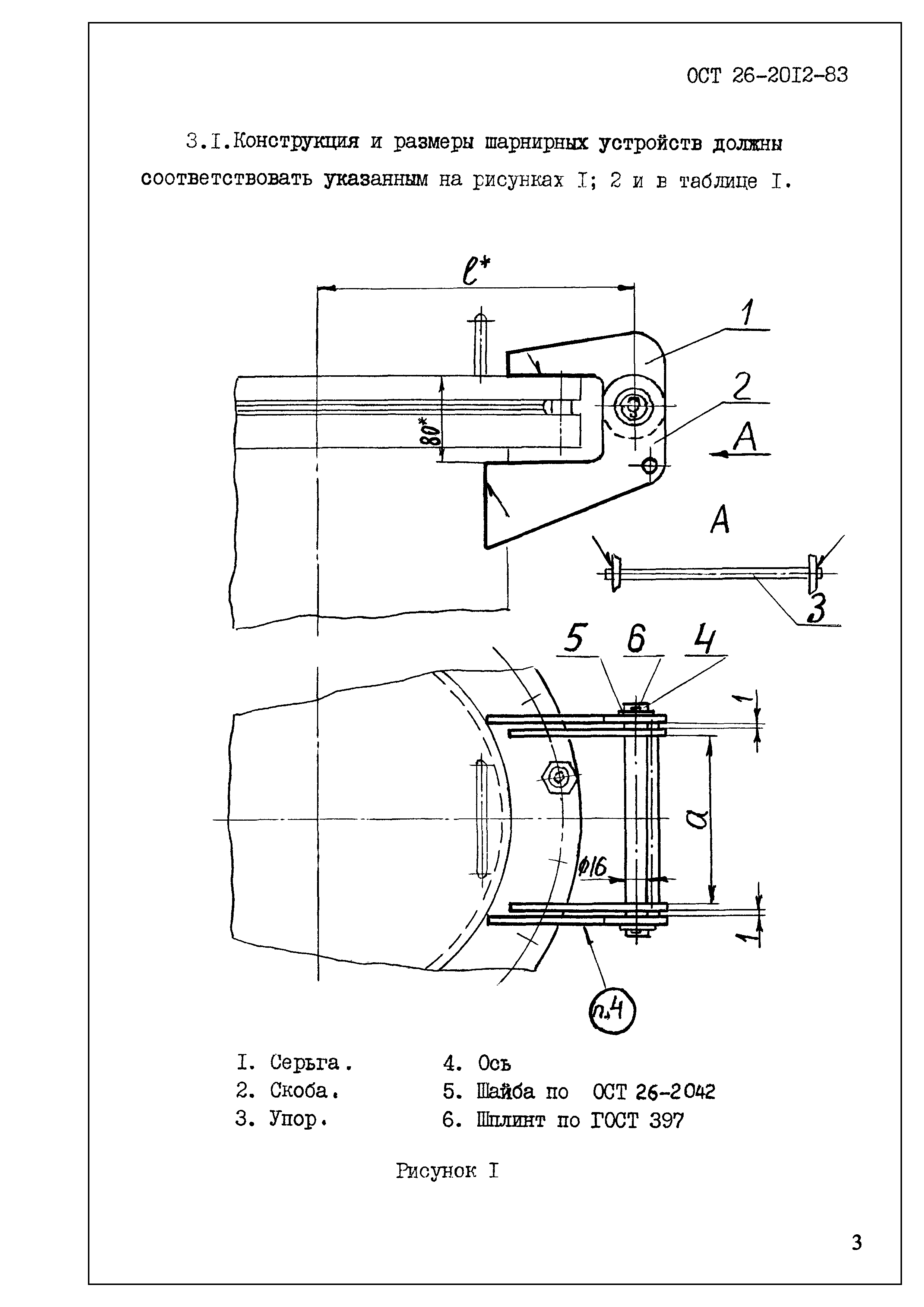
Область применения:Стандарт распространяется на шарнирные устройства для люков по ОСТ 26-2002, ОСТ 26-2003, ОСТ 26-2005 и ОСТ 26-2094, масса крышек которых не превышает 40 кг
Оглавление:Предисловие
1. Область применения
2. Нормативные ссылки
3. Конструкция и размеры
Разработан: ЦКБН (Центральное конструкторское бюро нефтеаппаратуры)
Утверждён:23.05.1983 Минхимнефтемаш СССР (USSR Minkhimneftemash 11-10-4/740)
Расположен в:Техническая документация Экология ХИМИЧЕСКАЯ ПРОМЫШЛЕННОСТЬ Оборудование для химической промышленности Оборудование для химической промышленности прочее Строительство Стандарты Отраслевые стандарты и технические условия Отраслевые стандарты
Список изменений:
Нормативные ссылки:
ОСТ 26-2012-83ОСТ 26-2012-83ОСТ 26-2012-83ОСТ 26-2012-83ОСТ 26-2012-83ОСТ 26-2012-83ОСТ 26-2012-83ОСТ 26-2012-83ОСТ 26-2012-83ОСТ 26-2012-83ОСТ 26-2012-83ОСТ 26-2012-83ОСТ 26-2012-83

Текстовое изменение № 5 от 01.08.1998

№ 5

© 2013 Ёшкин Кот :-) Карта сайта