| ||||||||||||||||||||||||||||||
Скачать ОСТ 153-34.0-974-99А Сборочные единицы и детали опор станционных трубопроводов атомных станций Ру <= 4,0 МПа (40 кгс/см2). Опора хомутовая скользящая, направляющая и неподвижная. Конструкция и размерыДата актуализации: 10.08.2017
|
| Обозначение: | ОСТ 153-34.0-974-99А |
| Обозначение англ: | OST 153-34.0-974-99А |
| Статус: | отменен |
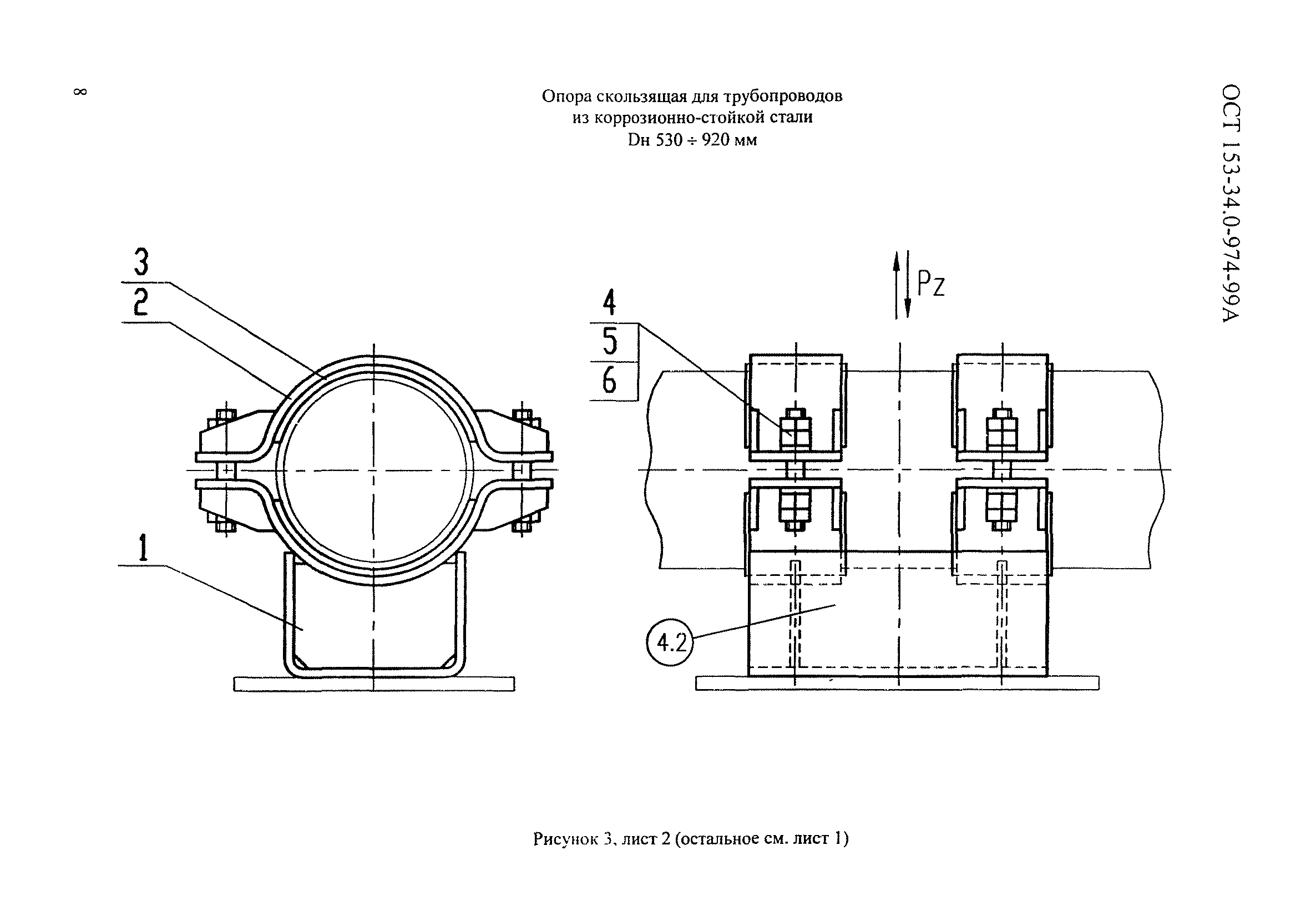
| Название рус.: | Сборочные единицы и детали опор станционных трубопроводов атомных станций Ру <= 4,0 МПа (40 кгс/см2). Опора хомутовая скользящая, направляющая и неподвижная. Конструкция и размеры |
| Дата добавления в базу: | 01.09.2013 |
| Дата актуализации: | 05.05.2017 |
| Дата введения: | 25.08.2004 |
| Область применения: | Стандарт распространяется на опоры хомутовые скользящие, направляющие и неподвижные, предназначенные для станционных трубопроводов низкого давления групп В и С атомных станций по ПН АЭ Г-7-008-89 "Правила устройства и безопасной эксплуатации оборудования и трубопроводов атомных энергетических установок", с рабочей температурой среды не более 300 °C. Опоры хомутовые скользящие, направляющие и неподвижные относятся к классу безопасности 2 по ОПБ-88/97 ПН АЭ Г-01-011-97 «Общие положения обеспечения безопасности атомных станций» и к категории сейсмостойкости 1 по ПН АЭ Г-5-006-87 «Нормы проектирования сейсмостойких атомных станций». Допускается применение сборочных единиц деталей и опор по настоящему стандарту для станционных трубопроводов атомных станций, на которые распространяются РД-03-93 "Правила устройства и безопасной эксплуатации пара и горячей воды" и СНиП 3.05.05-84 "Технологическое оборудование и технологические трубопроводы". |
| Оглавление: | 1. Область применения 2. Нормативные ссылки 3. Конструкция и размеры 4. Требования Приложение А. Библиография |
| Разработан: | ОАО Энергомонтажпроект ОАО Севзапэнергомонтажпроект |
| Утверждён: | 23.01.2001 Министерство энергетики РФ (Russian Federation Ministry of Energy 19) |
| Расположен в: | |
| Нормативные ссылки: |
|







































