Скачать ОСТ 26.260.466-2000 Устройства для установки приборов измерения давления на Ру 4,0 и 16,0 МПа (с двумя вентилями). Конструкция и размерыДата актуализации: 10.08.2017 ОСТ 26.260.466-2000
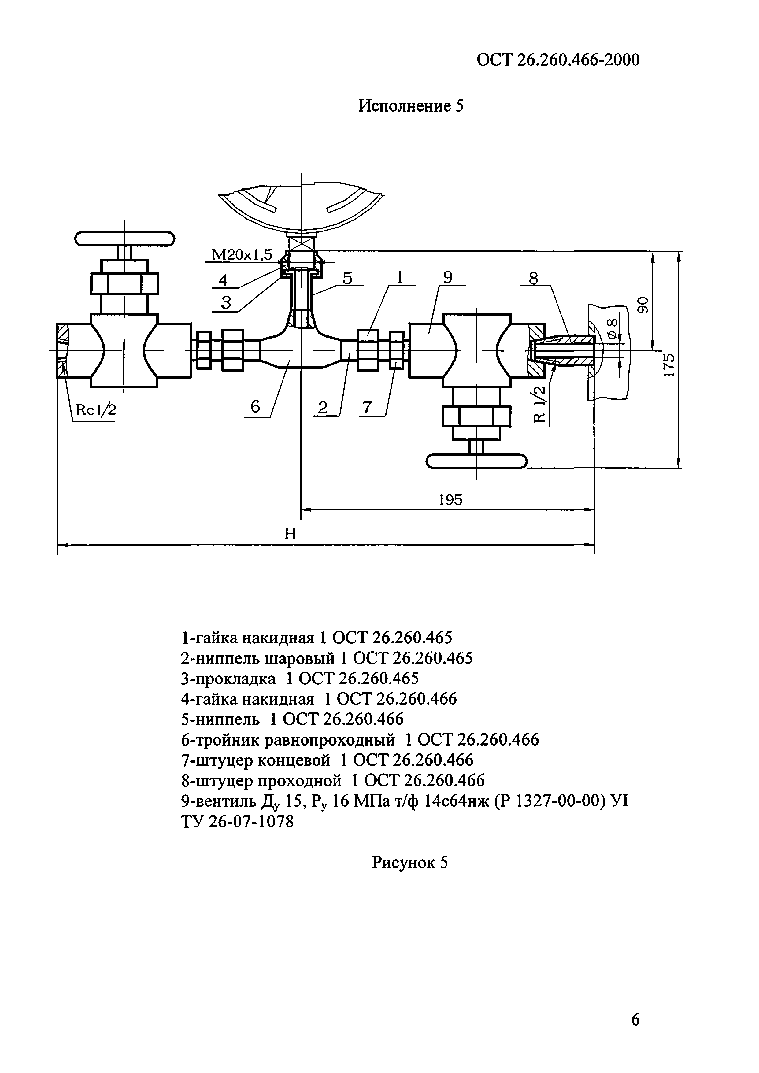
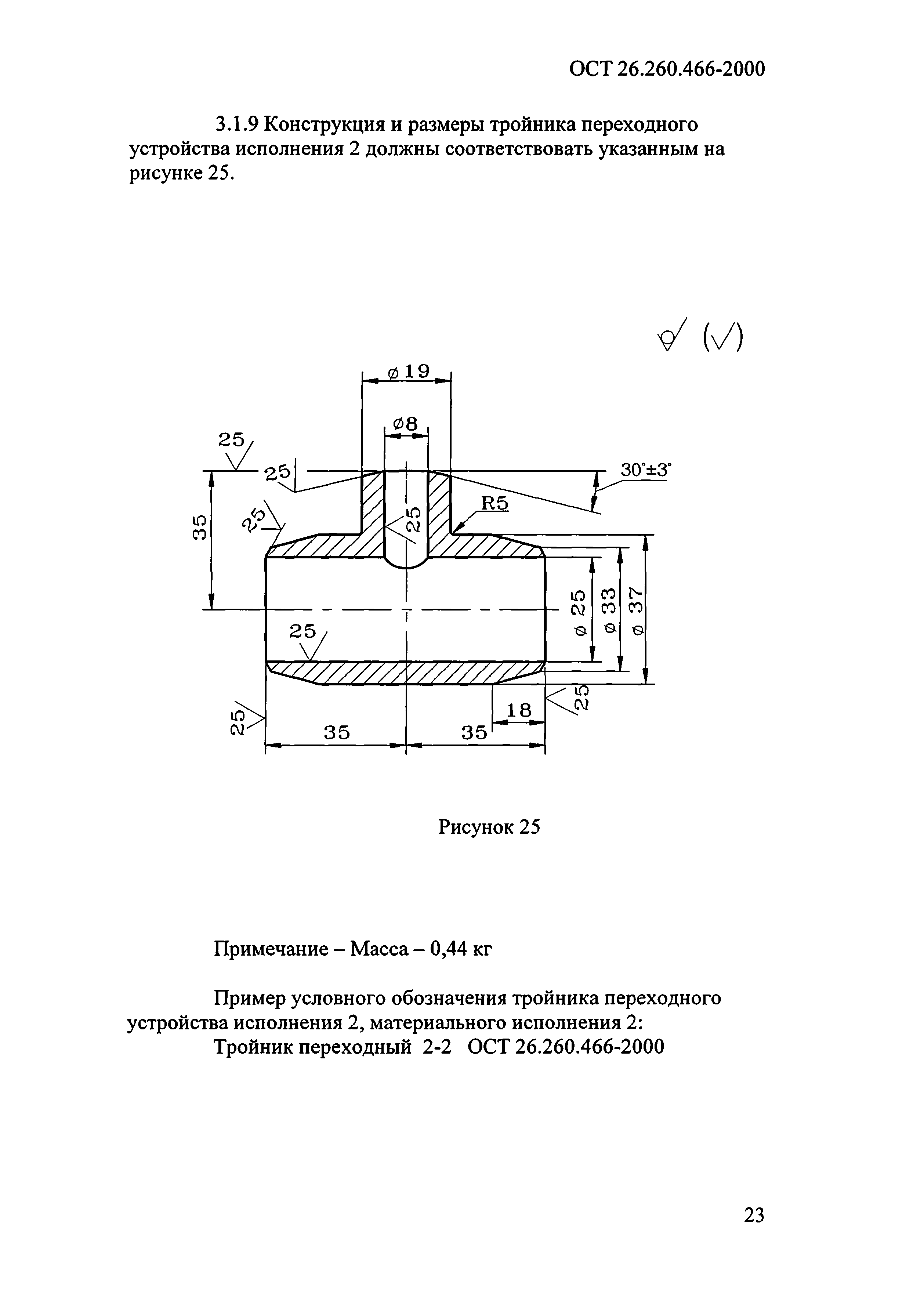
Устройства для установки приборов измерения давления на Ру 4,0 и 16,0 МПа (с двумя вентилями). Конструкция и размеры| Обозначение: | ОСТ 26.260.466-2000 | | Обозначение англ: | OST 26.260.466-2000 | | Статус: | не определен законодательством | | Название рус.: | Устройства для установки приборов измерения давления на Ру 4,0 и 16,0 МПа (с двумя вентилями). Конструкция и размеры | | Дата добавления в базу: | 01.09.2013 | | Дата актуализации: | 05.05.2017 | | Дата введения: | 30.06.2003 | | Область применения: | Стандарт устанавливает конструкцию, пределы применения и основные размеры устройств для установки приборов измерения давления на трубопроводах и аппаратах, применяемых в химической, нефтехимической, газовой и других смежных отраслях промышленности на условное давление 4,0 и 16,0 МПа, температуру от минус 40 до 250 град. С, для неагрессивной среды со скоростью коррозии до 0,1 мм/год | | Оглавление: | 1. Область применения 2. Нормативные ссылки 3. Конструкция и размеры | | Разработан: | ДАО ЦКБН
| | Утверждён: | ТК 260 Оборудование химическое и нефтегазоперерабатывающее (Technical Committee 260, Chemical and Petroleum and Gas Refining Equipment )
| | Расположен в: |
| | Заменяет собой: | - ОСТ 26-01-1352-81 «Устройства для установки приборов измерения давления. Типы, конструкция и размеры»
- АТК 24.201.03-90 «Устройства для установки приборов измерения давления. Типы, конструкция и размеры» (в части устройств с двумя вентилями типа ВМ-15)
| | Нормативные ссылки: | |
                        
|