Информационная система
«Ёшкин Кот»

Скачать базу одним архивом
Скачать обновления
История создания базы
Карта сайта

Скачать ГОСТ Р 12.4.237-2007 Система стандартов безопасности труда. Одежда специальная. Методы испытания материала при воздействии брызг расплавленного металла

Дата актуализации: 10.08.2017

ГОСТ Р 12.4.237-2007

Система стандартов безопасности труда. Одежда специальная. Методы испытания материала при воздействии брызг расплавленного металла

Обозначение: ГОСТ Р 12.4.237-2007
Обозначение англ: GOST R 12.4.237-2007
Статус:введен впервые
Название рус.:Система стандартов безопасности труда. Одежда специальная. Методы испытания материала при воздействии брызг расплавленного металла
Название англ.:Occupational safety standards system. Protective clothing. Methods of testing the material on impact of splashes of molten metal
Дата добавления в базу:01.09.2013
Дата актуализации:05.05.2017
Дата введения:01.07.2008
Дата окончания срока действия:01.07.2017
Область применения:Стандарт определяет методы испытаний устойчивости материалов, используемых для защитной одежды, к брызгам жидкого металла, в том числе стали.
Оглавление:1 Область применения
2 Термины, определения и обозначения
3 Сущность метода испытания устойчивости к воздействию брызг жидкого металла
4 Испытательное оборудование и средства измерений
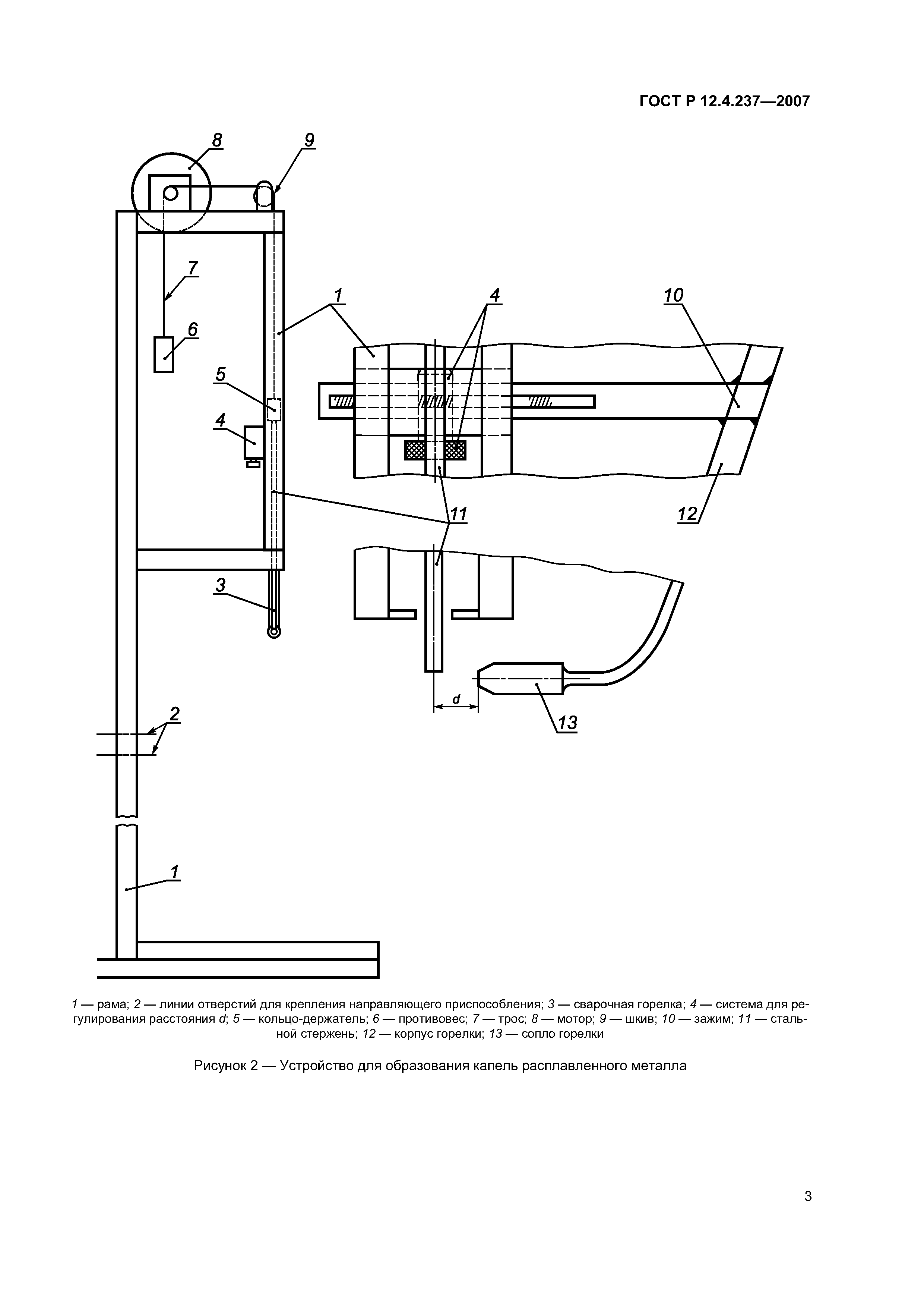
   4.1 Устройство для образования капель расплавленного металла
   4.2 Направляющее приспособление для капель
   4.3 Датчик для измерения температуры с регистрирующим устройством
   4.4 Удерживающая рама для испытуемого образца
   4.5 Стальные стержни
5 Испытуемый образец
6 Метод определения устойчивости к воздействию брызг расплавленного металла
   6.1 Условия проведения испытаний
   6.2 Подготовка и регулирование металлического стержня
   6.3 Порядок проведения испытаний
7 Отчет об испытаниях
Приложение А (обязательное) Одежда специальная. Метод испытания материала при воздействии мелких брызг расплавленного металла
Библиография
Разработан: ОАО ЦНИИШП
ТК -320 СИЗ
Утверждён:27.12.2007 Федеральное агентство по техническому регулированию и метрологии (613-ст)
Издан: Стандартинформ (2008 г. )
Расположен в:Техническая документация Электроэнергия ОХРАНА ОКРУЖАЮЩЕЙ СРЕДЫ, ЗАЩИТА ЧЕЛОВЕКА ОТ ВОЗДЕЙСТВИЯ ОКРУЖАЮЩЕЙ СРЕДЫ. БЕЗОПАСНОСТЬ Защитные средства Защитная одежда Экология ОХРАНА ОКРУЖАЮЩЕЙ СРЕДЫ, ЗАЩИТА ЧЕЛОВЕКА ОТ ВОЗДЕЙСТВИЯ ОКРУЖАЮЩЕЙ СРЕДЫ. БЕЗОПАСНОСТЬ Защитные средства Защитная одежда
Нормативные ссылки:
ГОСТ Р 12.4.237-2007ГОСТ Р 12.4.237-2007ГОСТ Р 12.4.237-2007ГОСТ Р 12.4.237-2007ГОСТ Р 12.4.237-2007ГОСТ Р 12.4.237-2007ГОСТ Р 12.4.237-2007ГОСТ Р 12.4.237-2007ГОСТ Р 12.4.237-2007ГОСТ Р 12.4.237-2007ГОСТ Р 12.4.237-2007ГОСТ Р 12.4.237-2007ГОСТ Р 12.4.237-2007ГОСТ Р 12.4.237-2007ГОСТ Р 12.4.237-2007

© 2013 Ёшкин Кот :-) Карта сайта