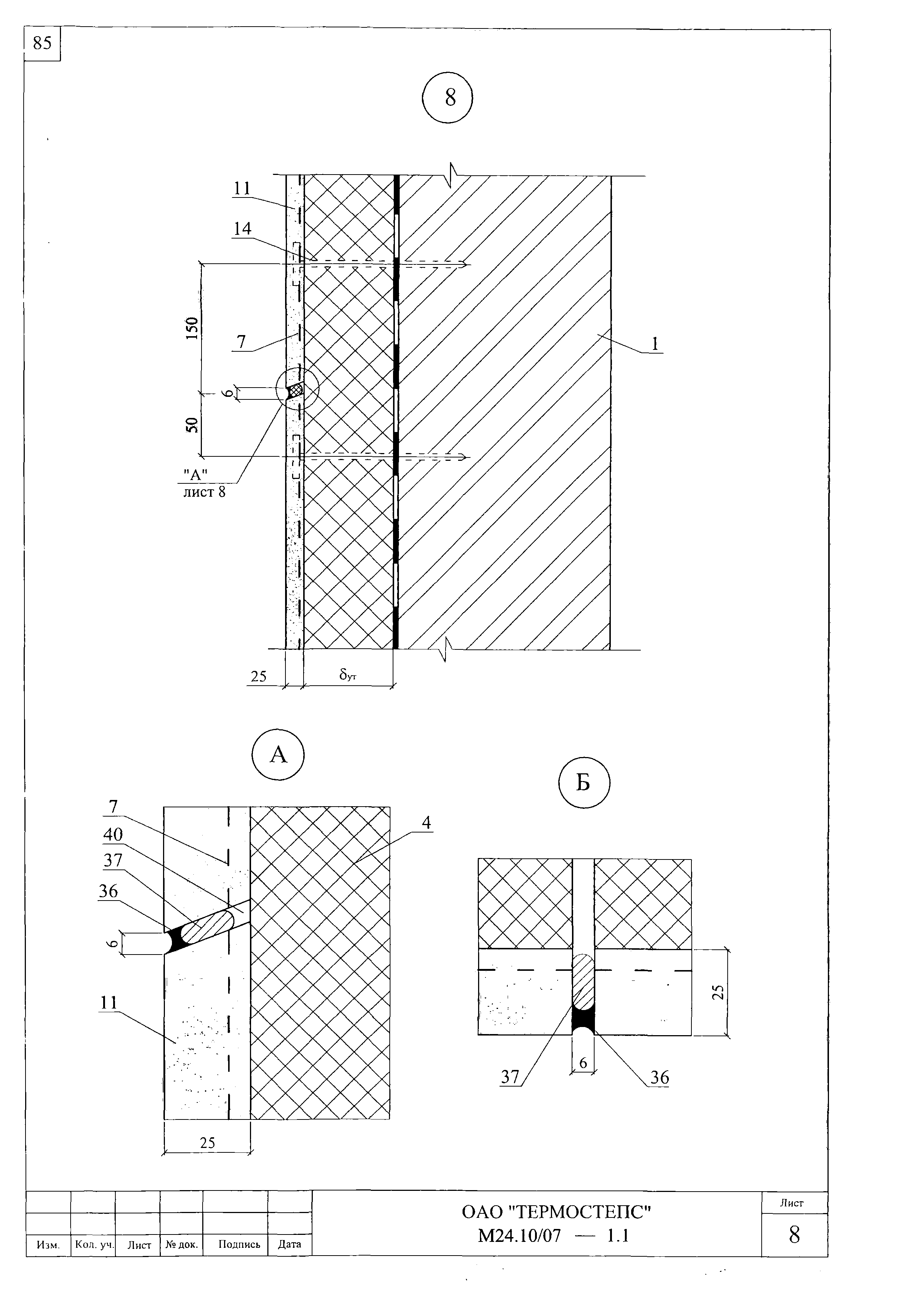
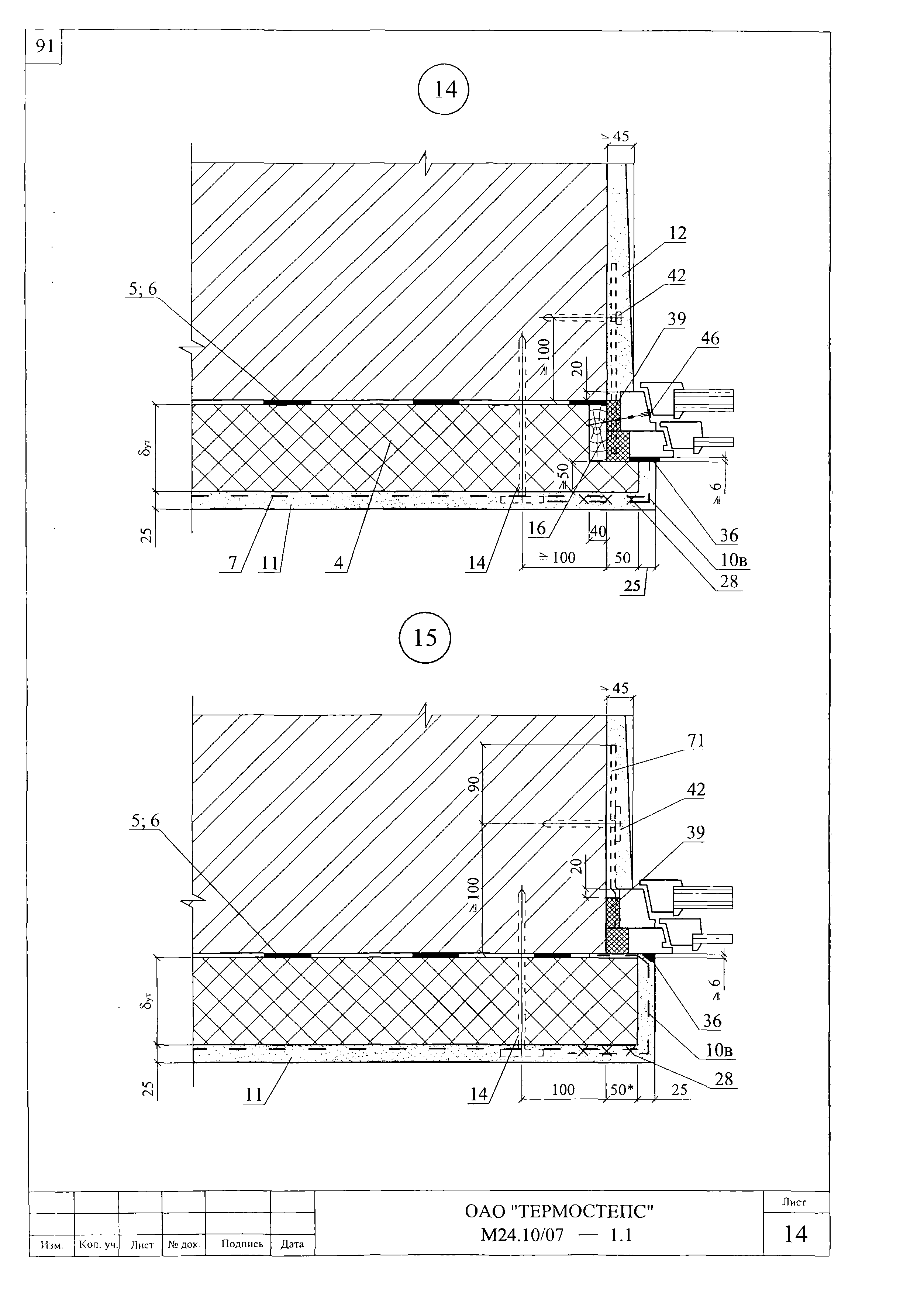
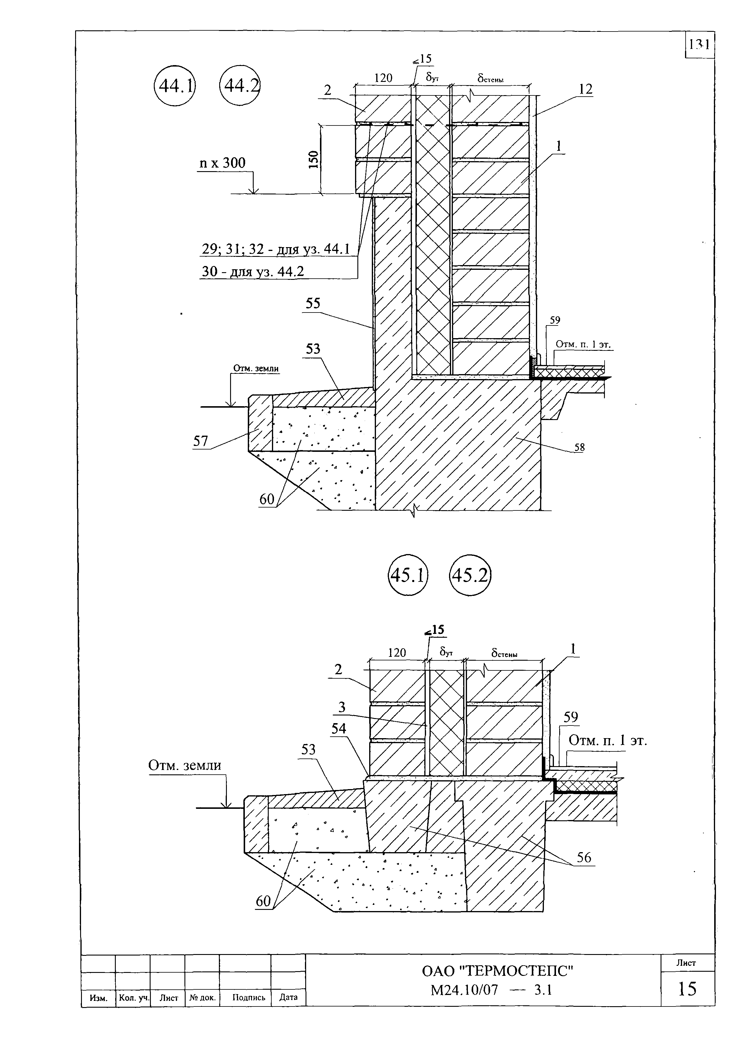
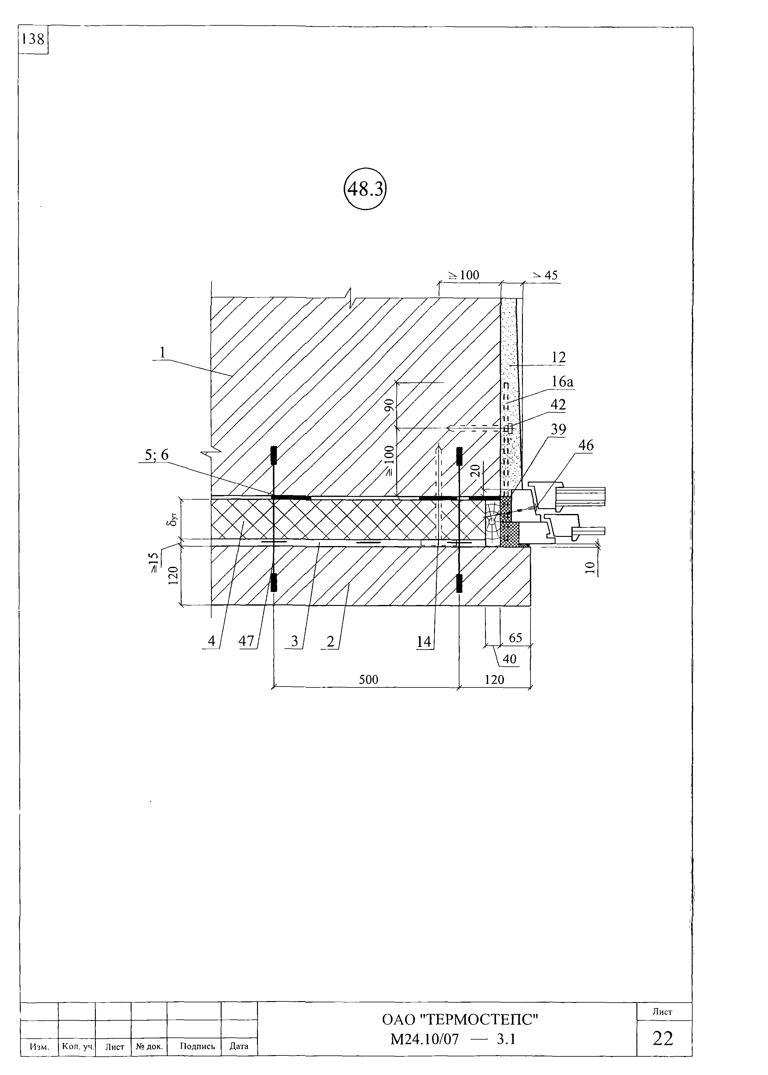
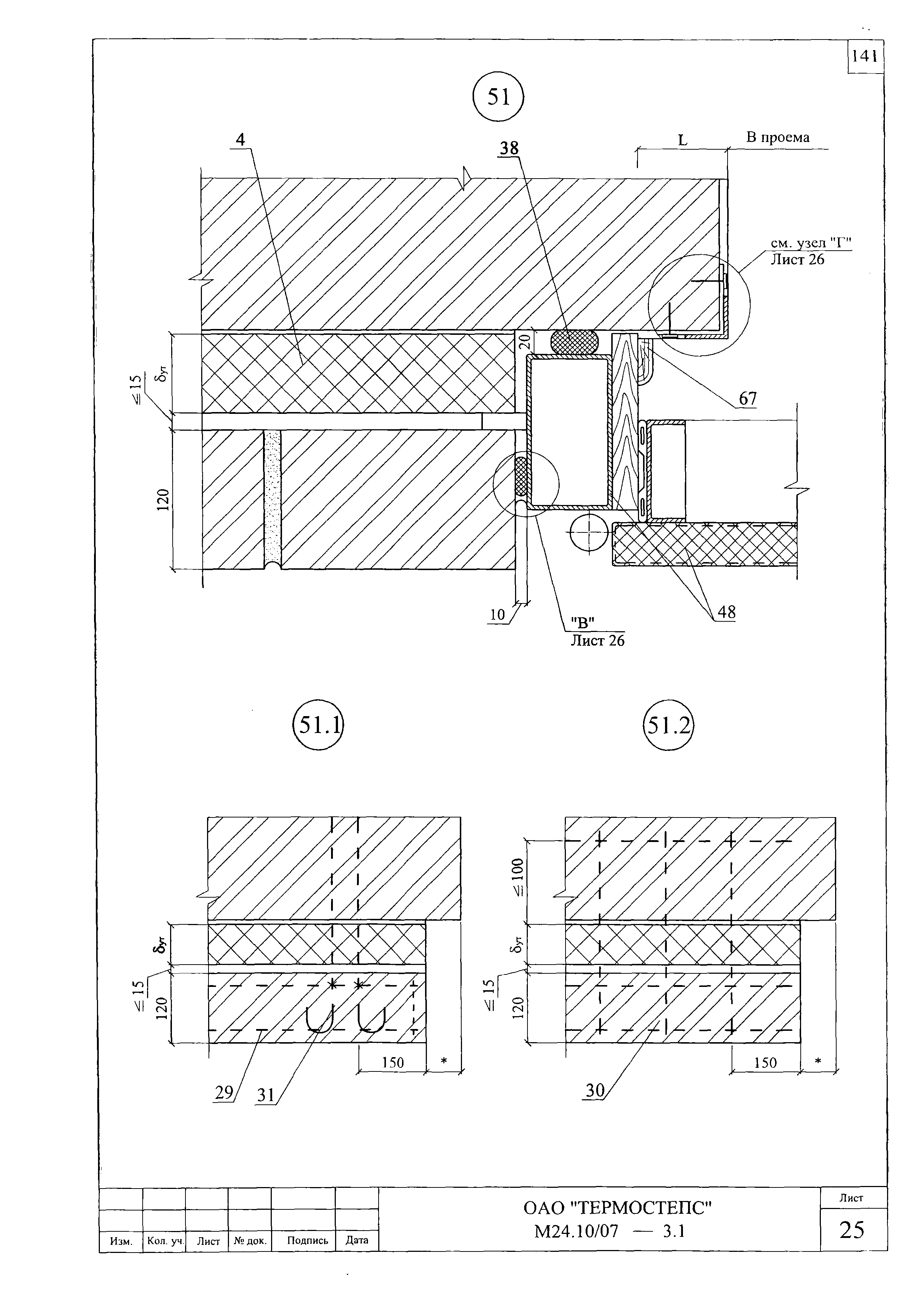
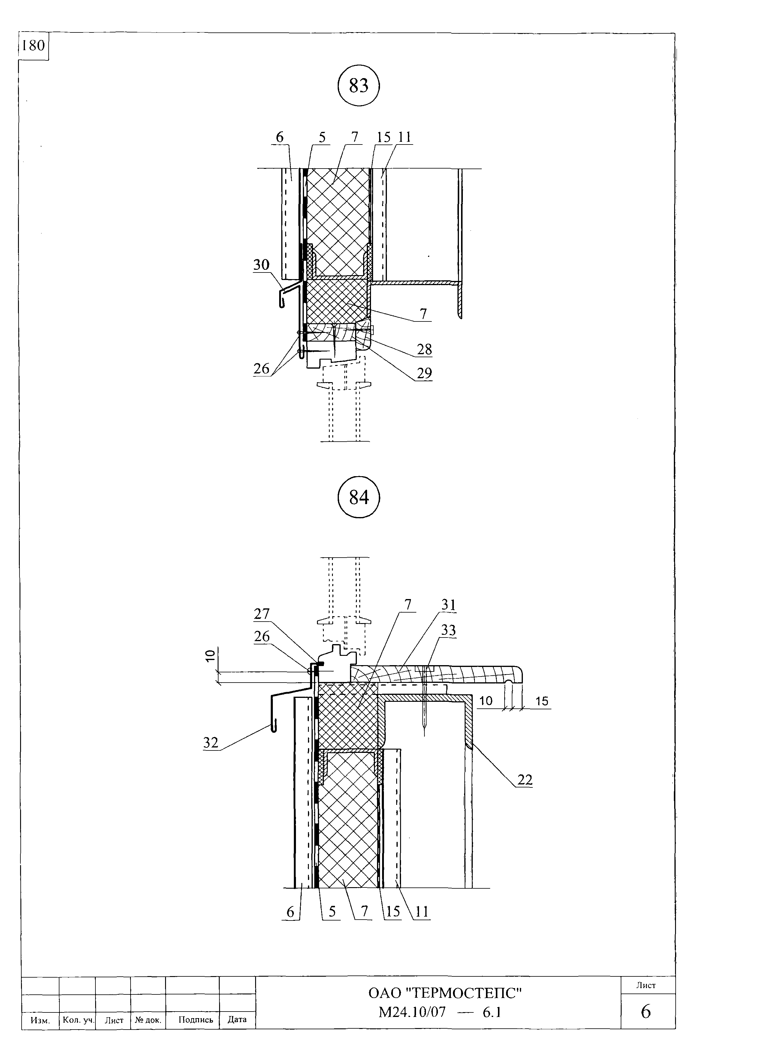
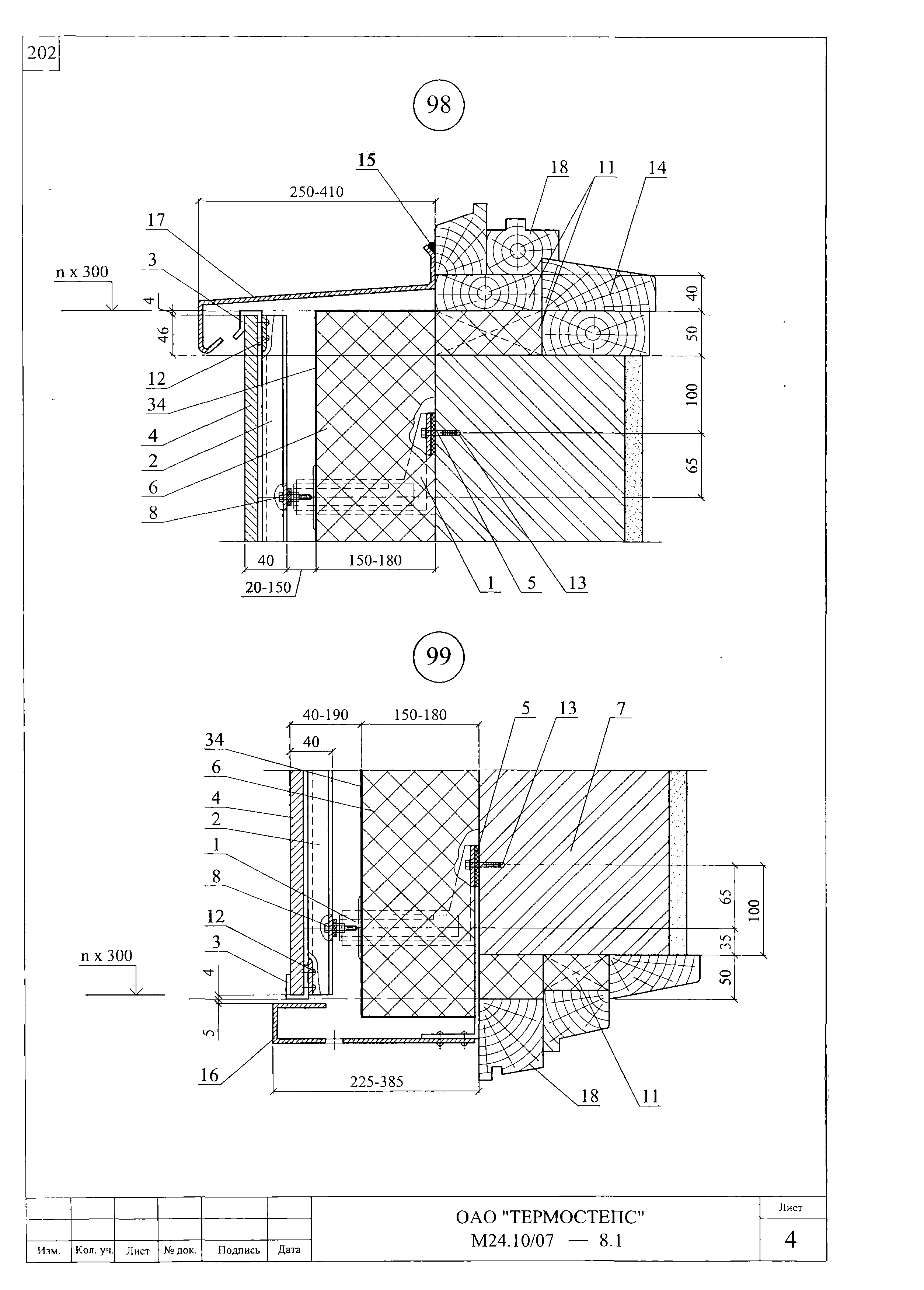
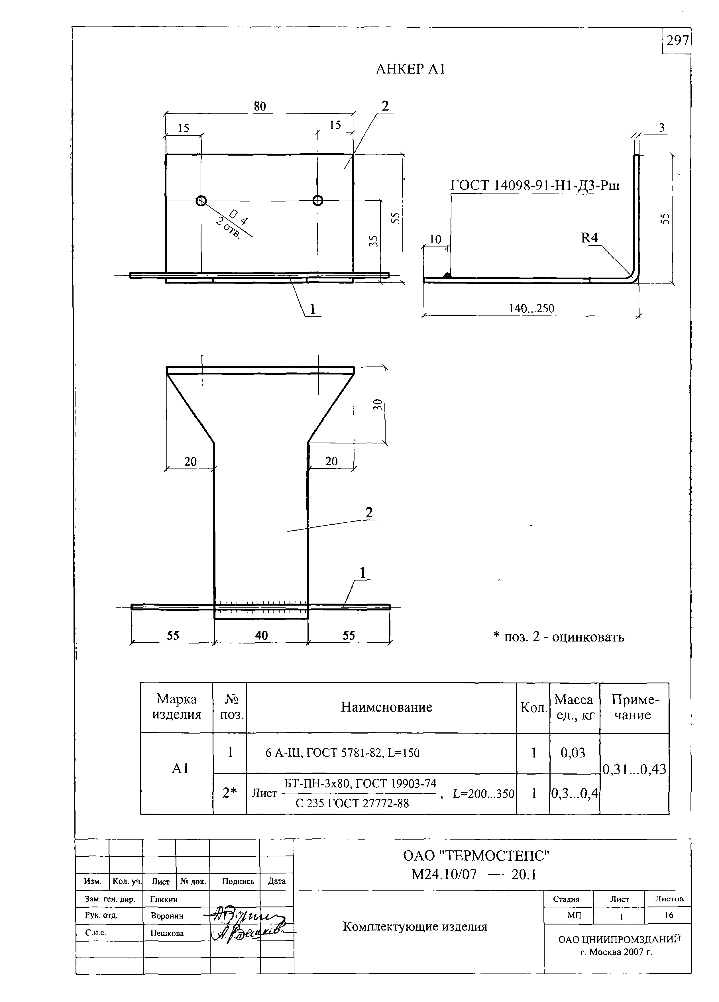
Скачать Шифр М24.10/07 Стены, покрытия, полы, перегородки, ограждающие конструкции мансард и чердачные перекрытия с применением минераловатных плит ТЕРМО. Материалы для проектирования и рабочие чертежи узловДата актуализации: 10.08.2017 Шифр М24.10/07
Стены, покрытия, полы, перегородки, ограждающие конструкции мансард и чердачные перекрытия с применением минераловатных плит "ТЕРМО". Материалы для проектирования и рабочие чертежи узлов| Обозначение: | Шифр М24.10/07 | | Обозначение англ: | М24.10/07 | | Статус: | не определен законодательством | | Название рус.: | Стены, покрытия, полы, перегородки, ограждающие конструкции мансард и чердачные перекрытия с применением минераловатных плит "ТЕРМО". Материалы для проектирования и рабочие чертежи узлов | | Дата добавления в базу: | 01.09.2013 | | Дата актуализации: | 05.05.2017 | | Дата введения: | 04.09.2007 | | Разработан: | ОАО ЦНИИпромзданий
| | Утверждён: | 04.09.2007 ОАО ЦНИИпромзданий (TsNIIpromzdaniy OAO )
| | Издан: | ОАО ЦНИИпромзданий (2007 г. )
| | Расположен в: |
| | Нормативные ссылки: | |
                                                                                                                                                                                                                                                                                                                                    
|