| ||||||||||||||||||||||||||||||||||||
Скачать СТ ЦКБА 024-2006 Арматура трубопроводная. Определение остаточного ресурса и показателей надежности арматурыДата актуализации: 10.08.2017
|
| Обозначение: | СТ ЦКБА 024-2006 |
| Обозначение англ: | 024-2006 |
| Статус: | действует |
| Название рус.: | Арматура трубопроводная. Определение остаточного ресурса и показателей надежности арматуры |
| Дата добавления в базу: | 01.09.2013 |
| Дата актуализации: | 05.05.2017 |
| Дата введения: | 01.01.2007 |
| Область применения: | Стандарт распространяется на трубопроводную арматуру всех типов и видов, применяемую на производственных объектах всех отраслей промышленности. Стандарт устанавливает общие требования к организации, содержанию, порядку и методике выполнения работ, на основании которых может быть определен остаточный ресурс и принято решение о количественных значениях показателей надежности арматуры для включения их в сопроводительную документацию арматуры. |
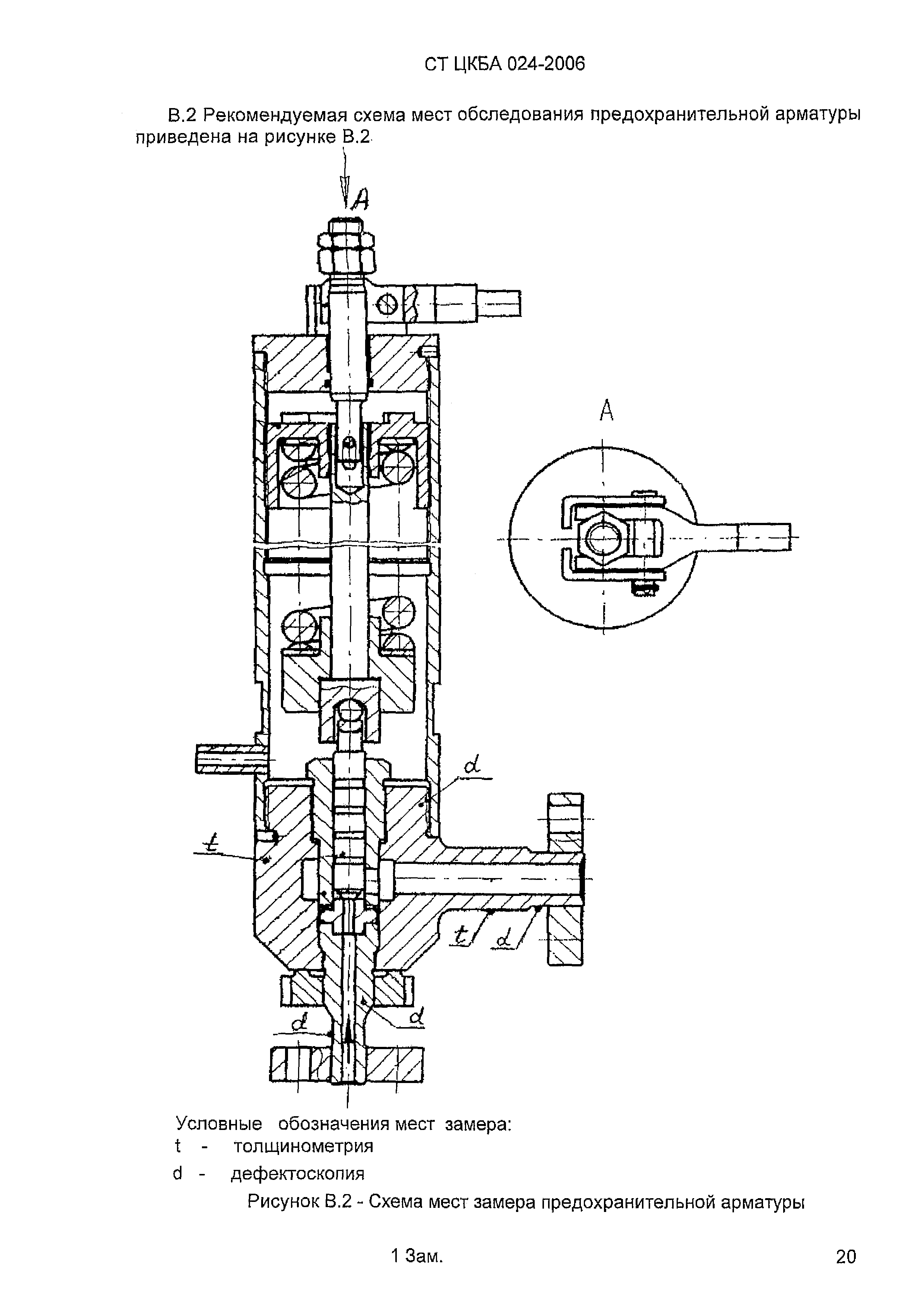
| Оглавление: | 1. Область применения 2. Нормативные ссылки 3. Термины и определения 4. Основные положения 5. Порядок выполнения работ по определению остаточного ресурса и количественных значений показателей надежности арматуры 6. Методика работ по определению остаточного ресурса и количественных значений показателей надежности арматуры 7. Требования безопасности 8. Порядок внесения показателей надежности, назначенных показателей и гарантийных обязательств и сопроводительную документацию на арматуру после ее капитального ремонта Приложение А (обязательное). Термины и определения Приложение Б (обязательное). Информационная карта Приложение В (рекомендуемое). Схемы рекомендуемых мест обследования арматуры Приложение Г (рекомендуемое). Рекомендуемое методы неразрушающего контроля основных деталей арматуры при ее техническом освидетельствовании и ремонтах Приложение Д (обязательное). Данные об условиях эксплуатации, необходимые для выполнения поверочных расчетов арматуры в объеме требований ГОСТ 14249-89 и НТД по специализации Приложение Е (рекомендуемое). Методика определения показателей надежности по данным эксплуатационной статистики Приложение Ж (рекомендуемое) Алгоритм оценки показателей надёжности |
| Разработан: | ЗАО НПФ ЦКБА НПАА |
| Утверждён: | 06.06.2006 ЗАО НПФ ЦКБА (35) |
| Принят: | Техническим комитетом по стандартизации Трубопроводная арматура и сильфоны (ТК 259) |
| Издан: | ЗАО НПФ ЦКБА (2006 г. ) |
| Расположен в: | |
| Список изменений: | |
| Нормативные ссылки: |
|






























Текстовое изменение № 1 от 01.06.2012














