Информационная система
«Ёшкин Кот»

Скачать базу одним архивом
Скачать обновления
История создания базы
Карта сайта

Скачать ОСТ 26-07-2047-82 Арматура трубопроводная. Технология и методы крепления уплотнительных колец из фторопласта-4 в затворах

Дата актуализации: 10.08.2017

ОСТ 26-07-2047-82

Арматура трубопроводная. Технология и методы крепления уплотнительных колец из фторопласта-4 в затворах

Обозначение: ОСТ 26-07-2047-82
Обозначение англ: OST 26-07-2047-82
Статус:заменен
Название рус.:Арматура трубопроводная. Технология и методы крепления уплотнительных колец из фторопласта-4 в затворах
Дата добавления в базу:01.09.2013
Дата актуализации:05.05.2017
Дата введения:01.10.2008
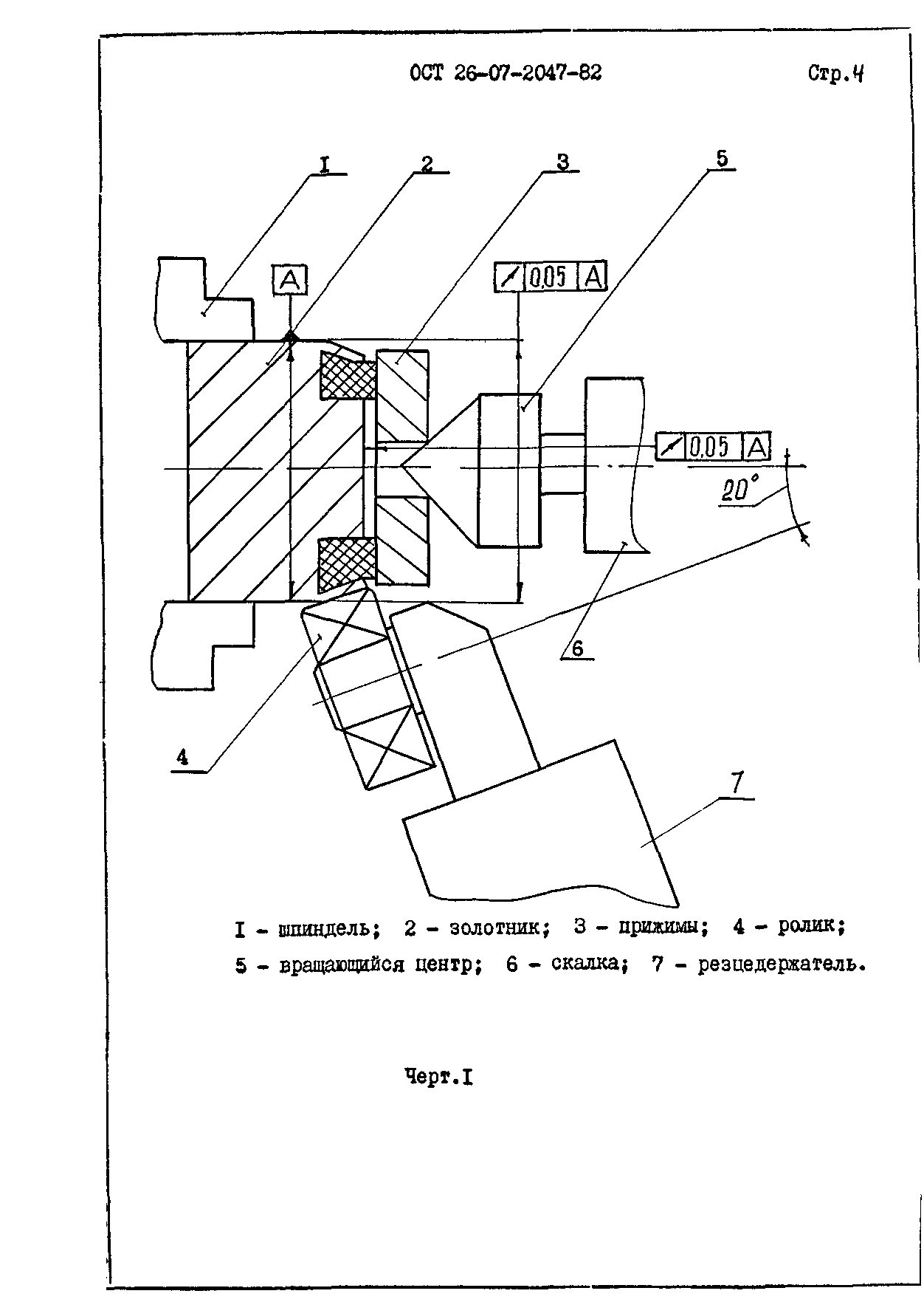
Область применения:Стандарт распространяется на затворы трубопроводной арматуры клапанного типа и устанавливает методы крепления уплотнительных колец из фторопласта-4, в затворах, выполненных в соответствии с ОСТ 26-07-1375-82
Оглавление:1. Материалы и оборудование, необходимые для крепления колец в затворах
2. Технология крепления уплотнительных колец
3. Контроль качества крепления уплотнительных колец
Ссылочные нормативно-технические документы
Утверждён:17.10.1982 Организация п/я Г-4668
Расположен в:Техническая документация Экология ГИДРАВЛИЧЕСКИЕ И ПНЕВМАТИЧЕСКИЕ СИСТЕМЫ И КОМПОНЕНТЫ ОБЩЕГО НАЗНАЧЕНИЯ Трубопроводы и их компоненты Компоненты трубопроводов прочие Строительство Стандарты Отраслевые стандарты и технические условия Отраслевые стандарты
Список изменений:
Заменяет собой:
  • РТМ 26-07-162-73 «Технология крепления уплотнительных колец из фторопласта-4 в затворах трубопроводной арматуры»
Чем заменён:
Нормативные ссылки:
ОСТ 26-07-2047-82ОСТ 26-07-2047-82ОСТ 26-07-2047-82ОСТ 26-07-2047-82ОСТ 26-07-2047-82ОСТ 26-07-2047-82ОСТ 26-07-2047-82ОСТ 26-07-2047-82ОСТ 26-07-2047-82ОСТ 26-07-2047-82ОСТ 26-07-2047-82ОСТ 26-07-2047-82

Текстовое изменение № 3 от 01.10.2008

№ 3

© 2013 Ёшкин Кот :-) Карта сайта