Скачать Шифр М24.24/04 Конструкции стен, покрытий и полов с теплоизоляцией из экструзионных вспененных пенополистирольных плит ПЕНОПЛЭКС. Материалы для проектирования и рабочие чертежи узловДата актуализации: 10.08.2017 Шифр М24.24/04
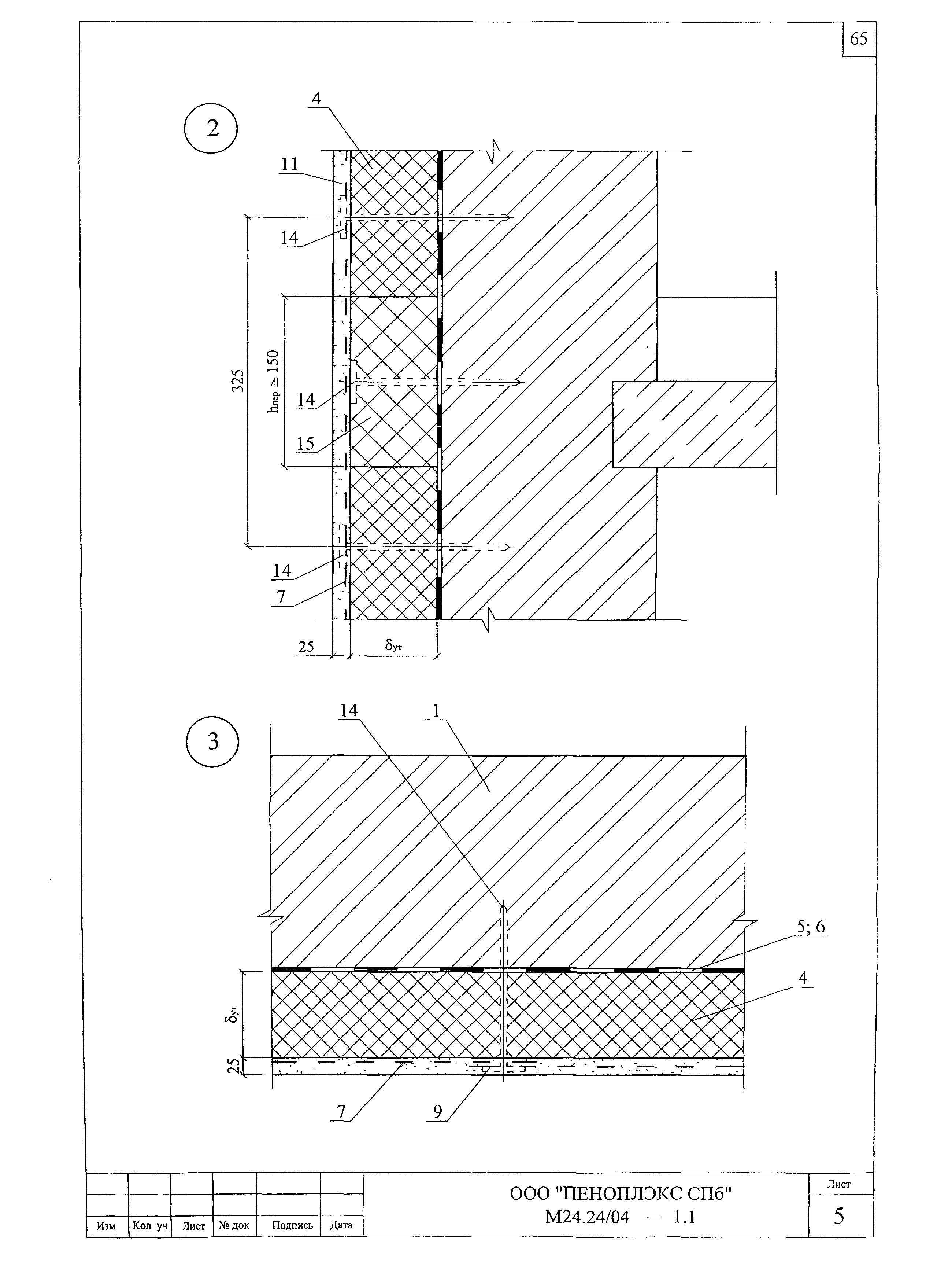
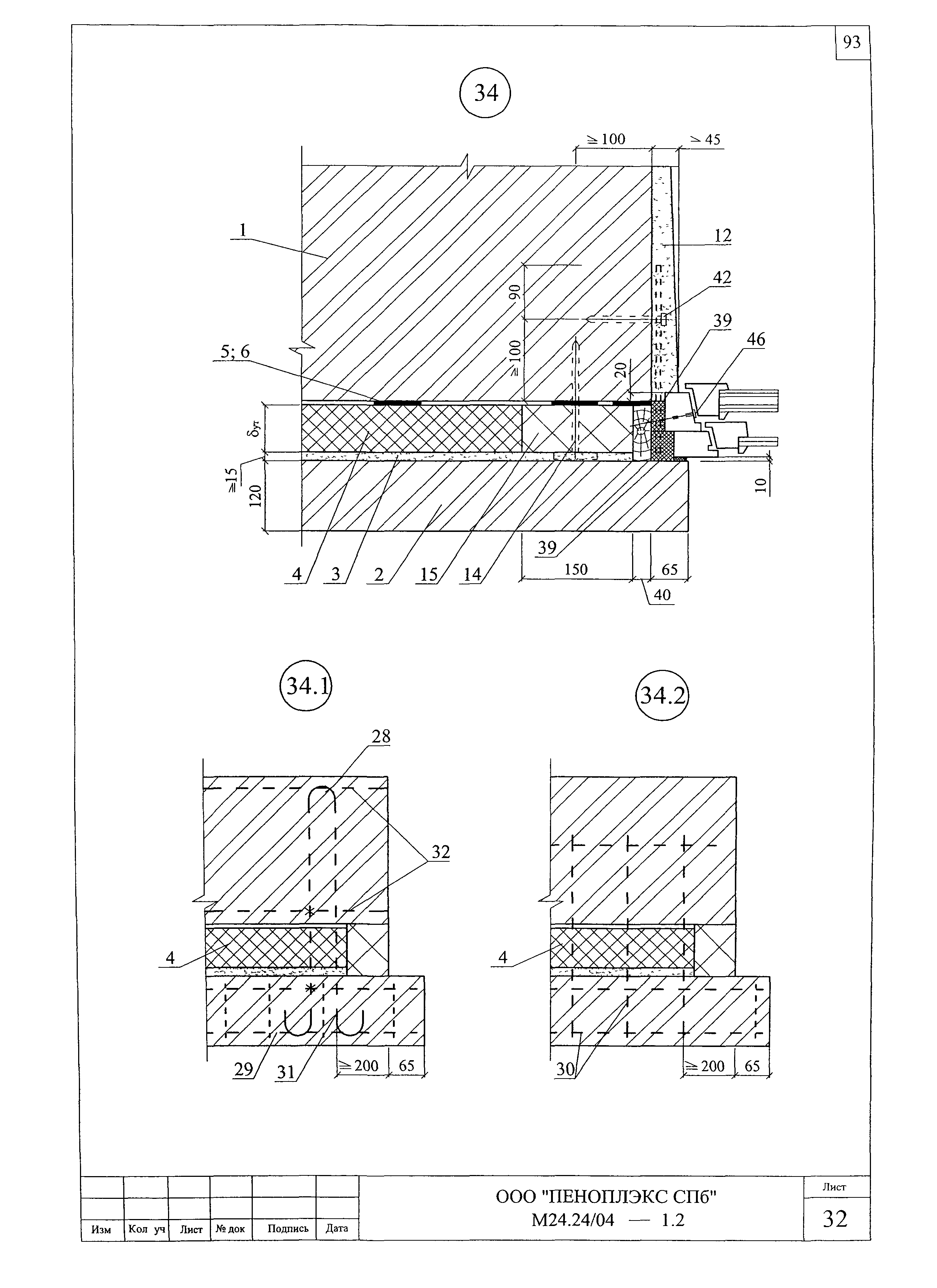
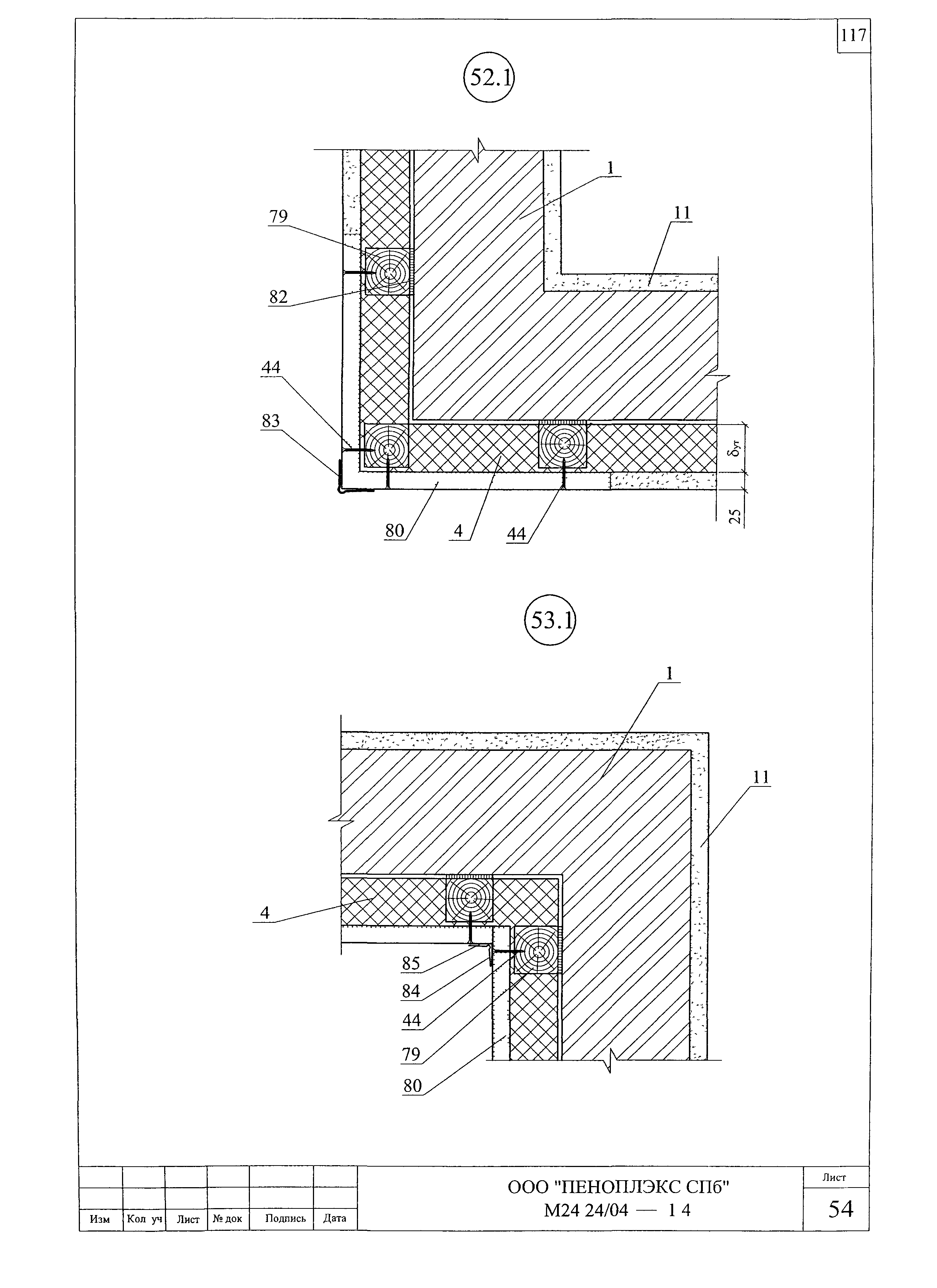
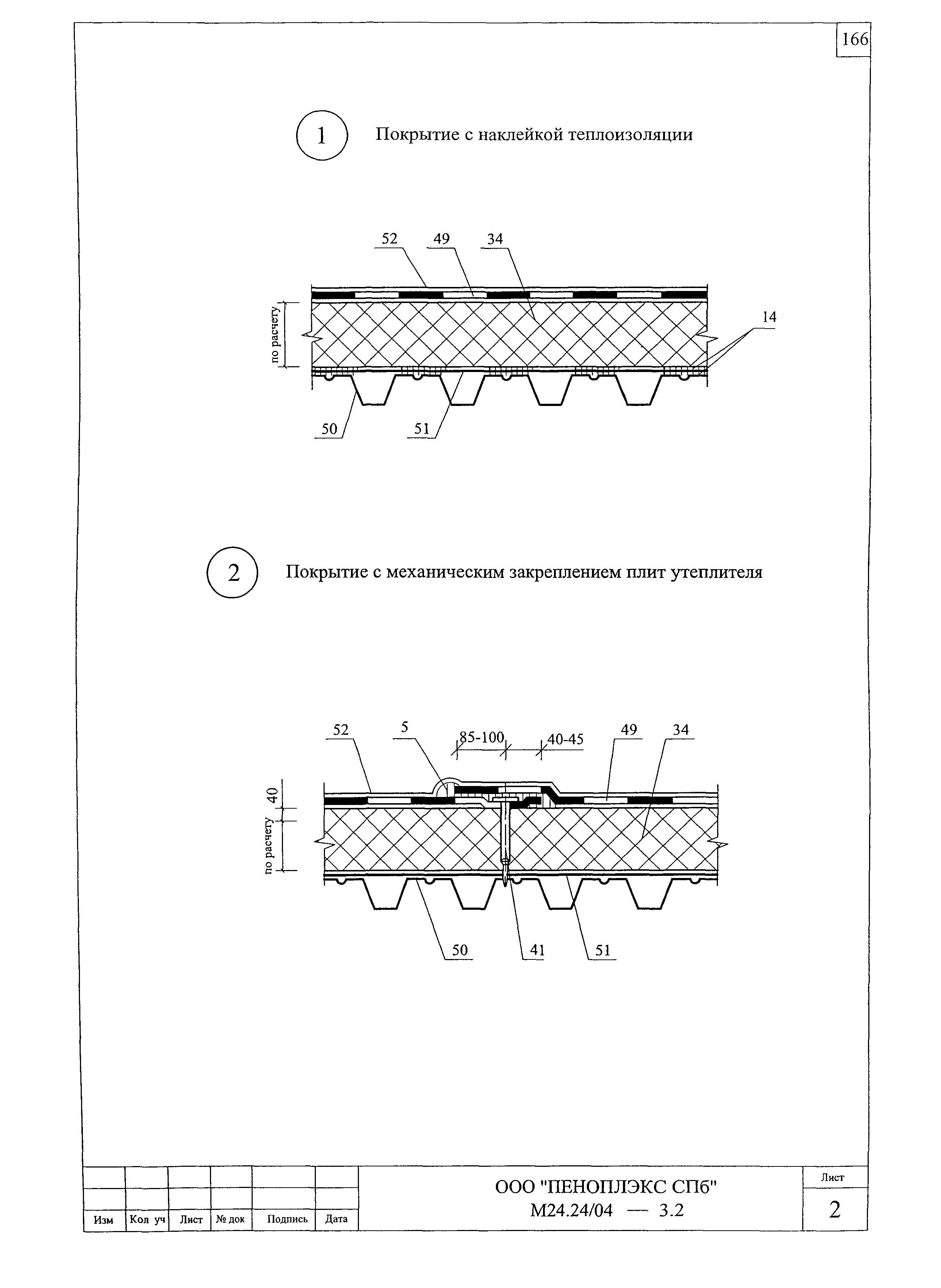
Конструкции стен, покрытий и полов с теплоизоляцией из экструзионных вспененных пенополистирольных плит "ПЕНОПЛЭКС". Материалы для проектирования и рабочие чертежи узловОбозначение: | Шифр М24.24/04 | Обозначение англ: | М24.24/04 | Статус: | не действует | Название рус.: | Конструкции стен, покрытий и полов с теплоизоляцией из экструзионных вспененных пенополистирольных плит "ПЕНОПЛЭКС". Материалы для проектирования и рабочие чертежи узлов | Дата добавления в базу: | 01.09.2013 | Дата актуализации: | 05.05.2017 | Дата введения: | 22.11.2007 | Область применения: | Альбом содержит материалы для проектирования и рабочие чертежи наружных стен, стен подвалов, покрытий, стен и покрытий мансард, а также полов холодильников и полов подвалов зданий различного назначения с теплоизоляцией из плит пенополистирольных вспененных экструзионных ПЕНОПЛЭКС ТУ 5767-001-56925804-2003. | Оглавление: | Пояснительная записка 1. Общие положения 2. Теплоизоляция 3. Нормы теплозащиты и данные по толщине теплоизоляции 4. Конструктивные решения стен 5. Отделка фасадов штукатурными растворами 6. Стены подвалов 7. Ограждающие конструкции мансард 8. Железобетонные покрытия с традиционной кровлей. Новое строительство 9. Железобетонные покрытия с инверсионной кровлей. Новое строительство 10. Железобетонные покрытия с традиционной кровлей. Реконструкция 11. Железобетонные покрытия с инверсионной кровлей. Реконструкция 12. Покрытия с профилированным настилом и традиционной кровлей 13. Конструктивные решения полов 14. Полы холодильников 15. Основные правила техники безопасности М24.24/04-1.0 Стены М24.24/04-1.1 Стены с защитно-декоративным слоем из штукатурки. Новое строительство и реконструкция М24.24/04-1.2 Стены с отделочным слоем из кирпича. Новое строительство М24.24/04-1.3 Стены с отделочным слоем из кирпича. Реконструкция М24.24/04-1.4 Стены с теплоизоляционным слоем, размещенным со стороны помещения. Реконструкция М24.24/04-1.5 Стены подвала М24.24/04-1.6 Ограждающие конструкции мансард М24.24/04-2.1 Полы жилых и промышленных зданий М24.24/04-2.2 Полы холодильников М24.24/04-3.1 Покрытие со сборным или монолитным железобетонным основанием М24.24/04-3.2 Покрытия по стальным профилированным настилам с традиционной кровлей М24.24/04-4.1 Изделия комплектующие Приложения Приложение 1. Пример расчета толщины теплозащиты стен подвала Приложение 2. Пример расчета повышения теплозащиты стены Приложение 3. Пример расчета парозащиты стены Приложение 4. Пример определения показателя теплоусвоения поверхности пола по СНиП 23-02-2003 Приложение 5. Пример определения возможности конденсации влаги внутри стены подвала жилого дома в г. Москве при условии, что стена при реконструкции утеплена со стороны помещения подвала плитами ПЕНОПЛЭКС толщиной 30 мм и оштукатурена цементно-песчаным раствором толщиной 30 мм Приложение 6. Пример определения возможности накопления влаги и необходимости устройства дополнительной пароизоляции в многослойном покрытии при реконструкции производственного здания в г. Тамбове Приложение 7. Обеспечение пожарной безопасности при использовании в стенах и покрытиях теплоизоляции из плит пенополистирольных типа ПЕНОПЛЭКС Приложение 8. Рекомендуемые материалы | Разработан: | ОАО ЦНИИпромзданий
| Утверждён: | 18.11.2004 ОАО ЦНИИпромзданий (TsNIIpromzdaniy OAO )
| Издан: | ЦНИИпромзданий (2004 г. )
| Расположен в: |
| Нормативные ссылки: | |
                                                                                                                                                                                                             
|