Информационная система
«Ёшкин Кот»

Скачать базу одним архивом
Скачать обновления
История создания базы
Карта сайта

Скачать ГОСТ Р ЕН 1434-3-2006 Теплосчетчики. Часть 3. Обмен данными и интерфейсы

Дата актуализации: 10.08.2017

ГОСТ Р ЕН 1434-3-2006

Теплосчетчики. Часть 3. Обмен данными и интерфейсы

Обозначение: ГОСТ Р ЕН 1434-3-2006
Обозначение англ: GOST R EN 1434-3-2006
Статус:заменен
Название рус.:Теплосчетчики. Часть 3. Обмен данными и интерфейсы
Название англ.:Heat meters. Part 3. Data exchage and interfaces
Дата добавления в базу:01.09.2013
Дата актуализации:05.05.2017
Дата введения:01.03.2013
Область применения:Стандарт распространяется на одноканальные теплосчетчики, предназначенные для измерений тепловой энергии, которую поглощает или отдает в системах водяного теплоснабжения теплоносящая жидкость. Стандарт не устанавливает требования электробезопасности.
Оглавление:Предисловие к европейскому стандарту ЕН 1434-3:1997 "Теплосчетчики. Часть 3. Обмен данными и интерфейсы"
Предисловие к национальным стандартам Российской Федерации ГОСТ Р ЕН 1434-1-2006 - ГОСТ Р ЕН 1434-6-2006 под общим заголовком Теплосчетчики"
1 Область применения
2 Нормативные ссылки
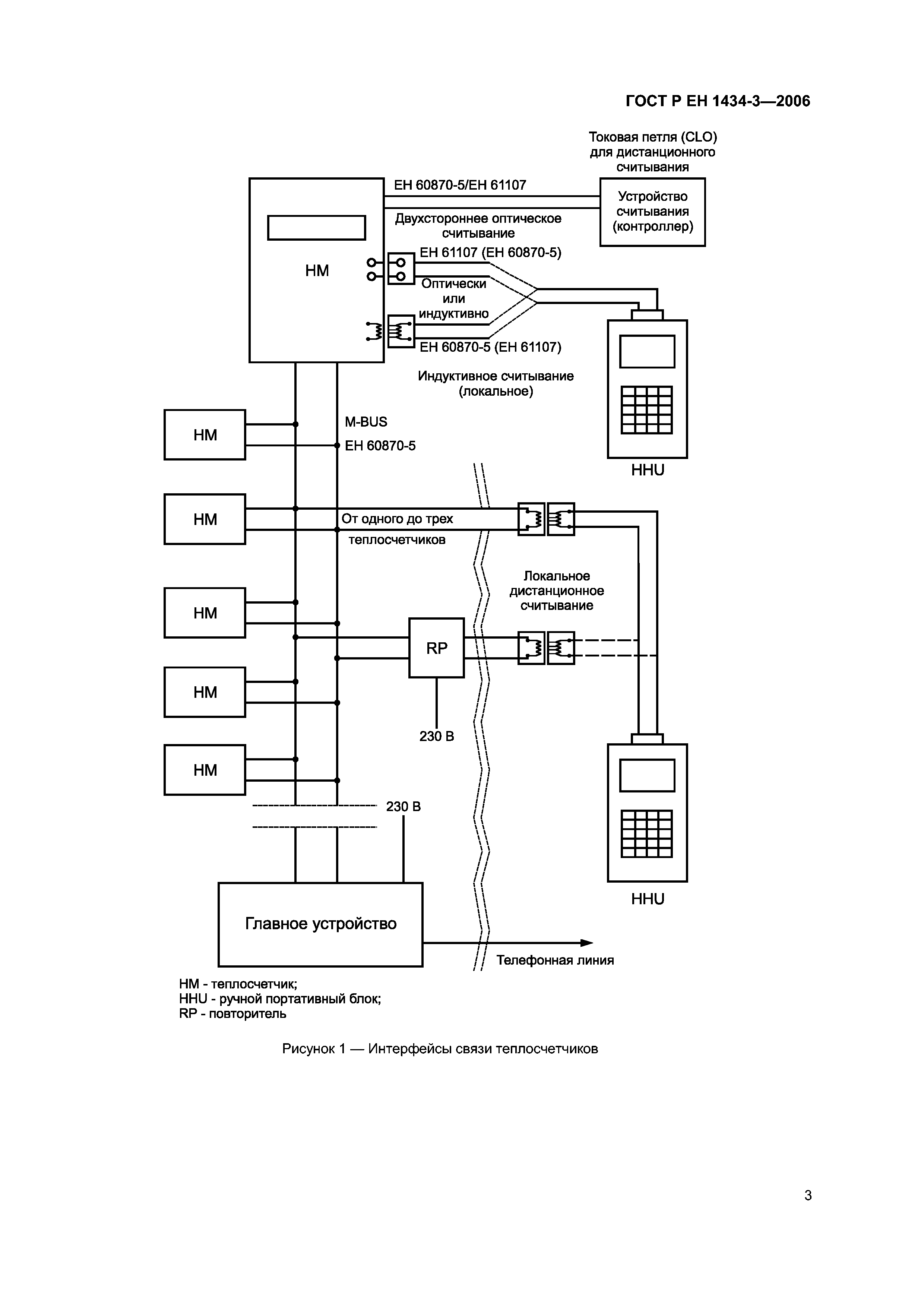
3 Интерфейсы теплосчетчиков и обзор протоколов
4 Физические свойства
   4.1 Интерфейс M-Bus
   4.2 Оптический интерфейс
   4.3 Индуктивный интерфейс
   4.4 CL-интерфейс
5 Коммуникации теплосчетчика с применением протокола по ЕН 61107
   5.1 Режимы протокола по ЕН 61107 для теплосчетчиков
   5.2 Ограничения для теплосчетчиков
   5.3 Представление данных для теплосчетчиков
   5.4 Кодирование единиц измерений в наборе данных
   5.5 Кодирование величины в наборе данных
   5.6 Представление взаимосвязанных величин
6 Коммуникации теплосчетчика с применением протокола по ЕН 60870-5
   6.1 Режимы протокола по ЕН 60870-5 для теплосчетчиков
   6.2 Используемые форматы фреймов
   6.3 Взаимосвязь между запрашивающим устройством (главным) и теплосчетчиком (подчиненным)
   6.4 Кодирование записей данных
   6.5 Фиксированная структура данных
   6.6 Переменная структура данных
Приложение А (справочное) Дополнительная информация об использовании M-Bus
   А.1 Схема тестирования качества сигнала при передаче
   А.2 Схема тестирования качества сигнала при приеме
Приложение В (справочное) Расчет наихудшего случая для M-Bus
   В.1 Допущения
   В.2 Все подчиненные теплосчетчики находятся в конце линии M-Bus
   В.3 Все подчиненные теплосчетчики равномерно распределены по линии M-Bus
Приложение С (справочное) Дополнительная информация о главном устройстве для M-Bus
   С.1 Интерфейс с M-Bus от центрального пункта
   С.2 Интерфейс от ограниченного числа теплосчетчиков для считывания локальных данных
   С.3 Средний конвертер уровней
   С.4 Конвертер уровней в полной объеме
Приложение D (справочное) Описание индуктивного интерфейса, первичная часть
   D.1 Принцип передачи
   D.2 Конструкция индуктивной считывающей головки
   D.3 Значения электрических характеристик
Приложение Е (справочное) Дополнительная информация для теплосчетчиков
   Е.1 Рекомендации для тестового интерфейса теплосчетчиков
   Е.2 Регистрация идентификационных кодов поставщиков
   Е.3 Дополнительная информация о протоколе по ЕН 61107
   Е.4 Дополнительная информация о M-Bus
Приложение F (справочное) Сведения о соответствии национальных стандартов Российской Федерации ссылочным международным (региональным) стандартам
Разработан: ЗАО ИВК-САЯНЫ
Утверждён:01.09.2006 Федеральное агентство по техническому регулированию и метрологии (180-ст)
Издан: Стандартинформ (2006 г. )
Расположен в:Техническая документация Электроэнергия МЕТРОЛОГИЯ И ИЗМЕРЕНИЯ. ФИЗИЧЕСКИЕ ЯВЛЕНИЯ Термодинамика и измерения температуры Приборы для измерений температуры Экология МЕТРОЛОГИЯ И ИЗМЕРЕНИЯ. ФИЗИЧЕСКИЕ ЯВЛЕНИЯ Термодинамика и измерения температуры Приборы для измерений температуры Строительство Стандарты Другие государственные стандарты, применяемые в строительстве Метрология и измерения. Физические явления
Чем заменён:
Нормативные ссылки:
ГОСТ Р ЕН 1434-3-2006ГОСТ Р ЕН 1434-3-2006ГОСТ Р ЕН 1434-3-2006ГОСТ Р ЕН 1434-3-2006ГОСТ Р ЕН 1434-3-2006ГОСТ Р ЕН 1434-3-2006ГОСТ Р ЕН 1434-3-2006ГОСТ Р ЕН 1434-3-2006ГОСТ Р ЕН 1434-3-2006ГОСТ Р ЕН 1434-3-2006ГОСТ Р ЕН 1434-3-2006ГОСТ Р ЕН 1434-3-2006ГОСТ Р ЕН 1434-3-2006ГОСТ Р ЕН 1434-3-2006ГОСТ Р ЕН 1434-3-2006ГОСТ Р ЕН 1434-3-2006ГОСТ Р ЕН 1434-3-2006ГОСТ Р ЕН 1434-3-2006ГОСТ Р ЕН 1434-3-2006ГОСТ Р ЕН 1434-3-2006ГОСТ Р ЕН 1434-3-2006ГОСТ Р ЕН 1434-3-2006ГОСТ Р ЕН 1434-3-2006ГОСТ Р ЕН 1434-3-2006ГОСТ Р ЕН 1434-3-2006ГОСТ Р ЕН 1434-3-2006ГОСТ Р ЕН 1434-3-2006ГОСТ Р ЕН 1434-3-2006ГОСТ Р ЕН 1434-3-2006ГОСТ Р ЕН 1434-3-2006ГОСТ Р ЕН 1434-3-2006ГОСТ Р ЕН 1434-3-2006ГОСТ Р ЕН 1434-3-2006ГОСТ Р ЕН 1434-3-2006ГОСТ Р ЕН 1434-3-2006ГОСТ Р ЕН 1434-3-2006ГОСТ Р ЕН 1434-3-2006ГОСТ Р ЕН 1434-3-2006ГОСТ Р ЕН 1434-3-2006ГОСТ Р ЕН 1434-3-2006ГОСТ Р ЕН 1434-3-2006ГОСТ Р ЕН 1434-3-2006ГОСТ Р ЕН 1434-3-2006

© 2013 Ёшкин Кот :-) Карта сайта