| ||||||||||||||||||||||||||||
Скачать Серия 2.130-1 Выпуск 27. Примыкание и крепление панельных перегородок к несущим конструкциям. Рабочие чертежиДата актуализации: 10.08.2017
|
| Обозначение: | Серия 2.130-1 |
| Обозначение англ: | Series 2.130-1 |
| Статус: | cправочные материалы, мп, тпр |
| Название рус.: | Выпуск 27. Примыкание и крепление панельных перегородок к несущим конструкциям. Рабочие чертежи |
| Дата добавления в базу: | 01.09.2013 |
| Дата актуализации: | 05.05.2017 |
| Дата введения: | 15.02.1989 |
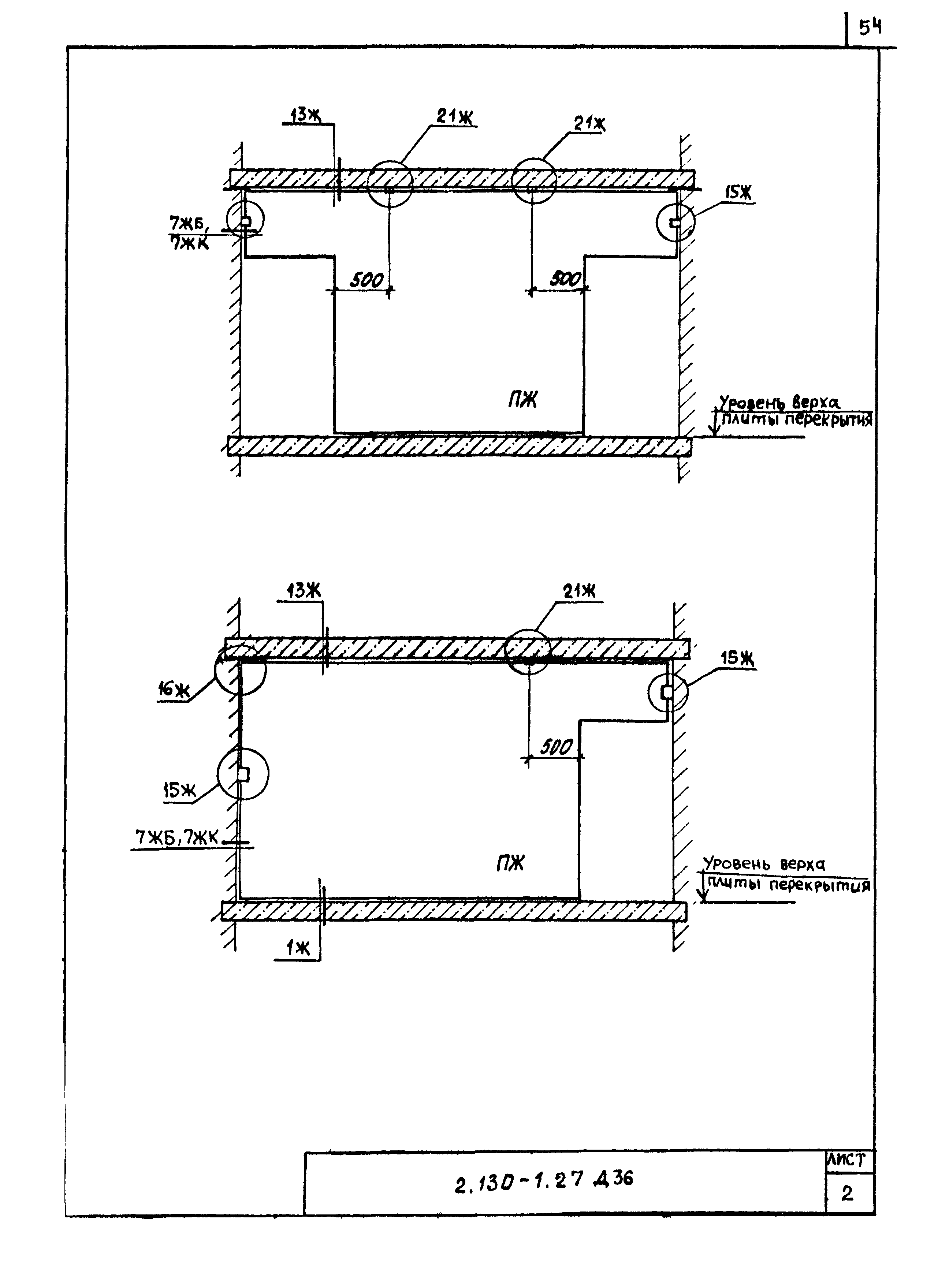
| Оглавление: | 2.130-1.27 ПЗ Пояснительная записка 2.130-1.27 Д2 Монтаж гипсобетонных и железобетонных панелей перегородок 2.130-1.27 Д3 Примеры схем расположения элементов конструкции. Маркировка узлов 2.130-1.27 Перегородки из гипсобетонных панелей 2.130-1.27 Д4 Примеры размещения узлов крепления гипсобетонных перегородок 2.130-1.27 Д5 Опирание межкомнатной гипсобетонной перегородки на перекрытие. Узел 1Г 2.130-1.27 Д6 Опирание межквартирной гипсобетонной перегородки на перекрытие. Узел 2Г 2.130-1.27 Д7 Опирание межкомнатной гипсобетонной перегородки на перекрытие над холодным подпольем. Узел 3Г 2.130-1.27 Д8 Опирание межквартирной гипсобетонной перегородки на перекрытие над холодным подпольем. Узел 4Г 2.130-1.27 Д9 Опирание межкомнатной гипсобетонной перегородки 1 этажа при полах на грунте. Узел 5Г 2.130-1.27 Д10 Опирание межквартирной гипсобетонной перегородки 1 этажа при полах на грунте. Узел 6Г 2.130-1.27 Д11 Примыкание межкомнатной гипсобетонной перегородки к панельной или блочной стене. Узел 7ГБ 2.130-1.27 Д12 Примыкание межкомнатной гипсобетонной перегородки к кирпичной стене. Узел 7 ГК 2.130-1.27 Д13 Примыкание межквартирной гипсобетонной перегородки к панельной или блочной стене. Узел 8ГБ 2.130-1.27 Д14 Примыкание межквартирной гипсобетонной перегородки к кирпичной стене. Узел 8 ГК 2.130-1.27 Д15 Примыкание гипсобетонных панелей перегородок к перегородкам. Узды 10Г, 11Г, 12Г 2.130-1.27 Д16 Примыкание межкомнатной гипсобетонной перегородки к перекрытию. Узел 13Г 2.130-1.27 Д17 Примыкание межквартирной гипсобетонной перегородки к перекрытию. Узел 14Г 2.130-1.27 Д18 Крепление межкомнатной гипсобетонной перегородки к стене. Узел 15Г 2.130-1.27 Д19 Крепление межкомнатной гипсобетонной перегородки к стене. Узел 15Г (вариант) 2.130-1.27 Д20 Крепление межкомнатной гипсобетонной перегородки к стене по верху панели перегородки. Узел 16Г 2.130-1.27 Д21 Крепление межквартирной гипсобетонной перегородки к стене. Узел 17Г 2.130-1.27 Д22 Крепление межквартирной гипсобетонной перегородки к стене. Узел 17Г (вариант) 2.130-1.27 Д23 Крепление межквартирной гипсобетонной перегородки к стене. Узел 17Г (вариант) 2.130-1.27 Д24 Крепление межквартирной гипсобетонной перегородки к стене по верху панели перегородки. Узел 18Г 2.130-1.27 Д25 Крепление межкомнатной гипсобетонной перегородки к перекрытию. Узел 19Г 2.130-1.27 Д26 Крепление межкомнатной гипсобетонной перегородки к перекрытию. Узел 19Г (вариант) 2.130-1.27 Д27 Крепление межкомнатной гипсобетонной перегородки к перекрытию. Узел 20Г 2.130-1.27 Д28 Крепление межкомнатной гипсобетонной перегородки к перекрытию. Узел 21Г 2.130-1.27 Д29 Крепление межкомнатной гипсобетонной перегородки к перекрытию. Узел 21Г (вариант) 2.130-1.27 Д30 Крепление межкомнатных гипсобетонных перегородок (угловое). Узел 22Г 2.130-1.27 Д31 Крепление межкомнатных гипсобетонных перегородок (угловое) по верху панелей. Узел 23Г 2.130-1.27 Д32 Крепление межкомнатной гипсобетонных перегородок стыкующихся в одной плоскости. Узел 24Г 2.130-1.27 Д33 Крепление межкомнатной гипсобетонных перегородок стыкующихся в одной плоскости по верху панелей. Узел 25Г 2.130-1.27 Д34 Крепление межкомнатной гипсобетонных перегородок (Т-образное). Узел 26Г 2.130-1.27 Д35 Крепление межкомнатной гипсобетонных перегородок (Т-образное) по верху панелей. Узел 27Г 2.130-1.27 Перегородки из железобетонных панелей 2.130-1.27 Д36 Примеры размещения узлов крепления железобетонных перегородок 2.130-1.27 Д37 Опирание межкомнатной железобетонной перегородки на перекрытие. Узел 1Ж 2.130-1.27 Д38 Опирание межквартирной железобетонной перегородки на перекрытие. Узел 2Ж 2.130-1.27 Д39 Опирание межквартирной железобетонной перегородки на перекрытие над холодным подпольем. Узел 3Ж 2.130-1.27 Д40 Опирание межквартирной железобетонной перегородки на перекрытие над холодным подпольем. Узел 4Ж 2.130-1.27 Д41 Примыкание межкомнатной железобетонной перегородки к панельной или блочной стене. Узел 7ЖБ 2.130-1.27 Д42 Примыкание межкомнатной железобетонной перегородки к кирпичной стене. Узел 7ЖК 2.130-1.27 Д43 Примыкание межквартирной железобетонной перегородки к панельной или блочной стене. Узел 8ЖБ 2.130-1.27 Д44 Примыкание межквартирной железобетонной перегородки к кирпичной стене. Узел 8ЖК 2.130-1.27 Д45 Примыкание межкомнатных железобетонных перегородок. Узлы 10Ж, 11Ж, 12Ж 2.130-1.27 Д46 Примыкание межкомнатной перегородки к перекрытию. Узел 13Ж 2.130-1.27 Д47 Примыкание межквартирной перегородки к перекрытию. Узел 14Ж 2.130-1.27 Д48 Крепление межкомнатной железобетонной перегородки к стене. Узел 15Ж 2.130-1.27 Д49 Крепление межкомнатной железобетонной перегородки к стене. Узел 15Ж (вариант) 2.130-1.27 Д50 Крепление межкомнатной железобетонной перегородки к стене по верху панели перегородки. Узел 16Ж 2.130-1.27 Д51 Крепление межкомнатной железобетонной перегородки к стене по верху панели перегородки. Узел 16Ж (вариант) 2.130-1.27 Д52 Крепление межквартирной железобетонной перегородки к стене . Узел 17Ж 2.130-1.27 Д53 Крепление межкомнатной железобетонной перегородки к перекрытию /в шов/. Узел 19Ж 2.130-1.27 Д54 Крепление межквартирной железобетонной перегородки к перекрытию /в шов/. Узел 20Ж 2.130-1.27 Д55 Крепление межкомнатной железобетонной перегородки к перекрытию . Узел 21Ж 2.130-1.27 Д56 Крепление межкомнатных железобетонных перегородок /угловое/. Узел 22Ж 2.130-1.27 Д57 Крепление межкомнатных железобетонных перегородок /угловое/. Узел 22Ж /вариант/ 2.130-1.27 Д58 Крепление межкомнатных железобетонных перегородок /угловое/ по верху панелей. Узел 23Ж 2.130-1.27 Д59 Крепление межкомнатных железобетонных перегородок, стыкующихся в одной плоскости. Узел 24Ж 2.130-1.27 Д60 Крепление межкомнатных железобетонных перегородок, стыкующихся в одной плоскости по верху панелей. Узел 25Ж 2.130-1.27 Д61 Крепление межкомнатных железобетонных перегородок /Т-образное/. Узел 26Ж 2.130-1.27 Д62 Крепление межкомнатных железобетонных перегородок /Т-образное/ по верху панелей. Узел 27Ж 2.130-1.27 Встроенные шкафы и шкафные перегородки 2.130-1.27 Д63 Шкаф встроенный. Маркировка узлов крепления 2.130-1.27 Д64 Шкафная перегородка. Маркировка узлов крепления 2.130-1.27 Д65 Узлы 28… 31 2.130-1.27 Соединительные изделия 2.130-1.27 Д66 Пластинка монтажная ПМ1… ПМ5 2.130-1.27 Д67 Пластина монтажная ПМ6… ПМ9 2.130-1.27 Д68 Стержень монтажный СМ1… СМ5 2.130-1.27 Д69 Пластина монтажная ПМ10, ПМ11, ПМ12 |
| Разработан: | ЦНИИОМТП ЦНИИЭП жилища |
| Утверждён: | 18.01.1989 Госкомархитектура (15) |
| Издан: | ЦИТП Госстроя СССР (CITP, Gosstroy (USSR) 1989 г. ) |
| Расположен в: |

























































































