| ||||||||||||||||||||||||||
Скачать ОСТ 34-10-576-93 Компенсатор угловой четырехлинзовый на Ру <= 1,6 МПа (16 кгс/см2). Конструкция и размерыДата актуализации: 10.08.2017
|
| Обозначение: | ОСТ 34-10-576-93 |
| Обозначение англ: | OST 34-10-576-93 |
| Статус: | не определен законодательством |
| Название рус.: | Компенсатор угловой четырехлинзовый на Ру <= 1,6 МПа (16 кгс/см2). Конструкция и размеры |
| Дата добавления в базу: | 01.09.2013 |
| Дата актуализации: | 05.05.2017 |
| Дата введения: | 30.06.2003 |
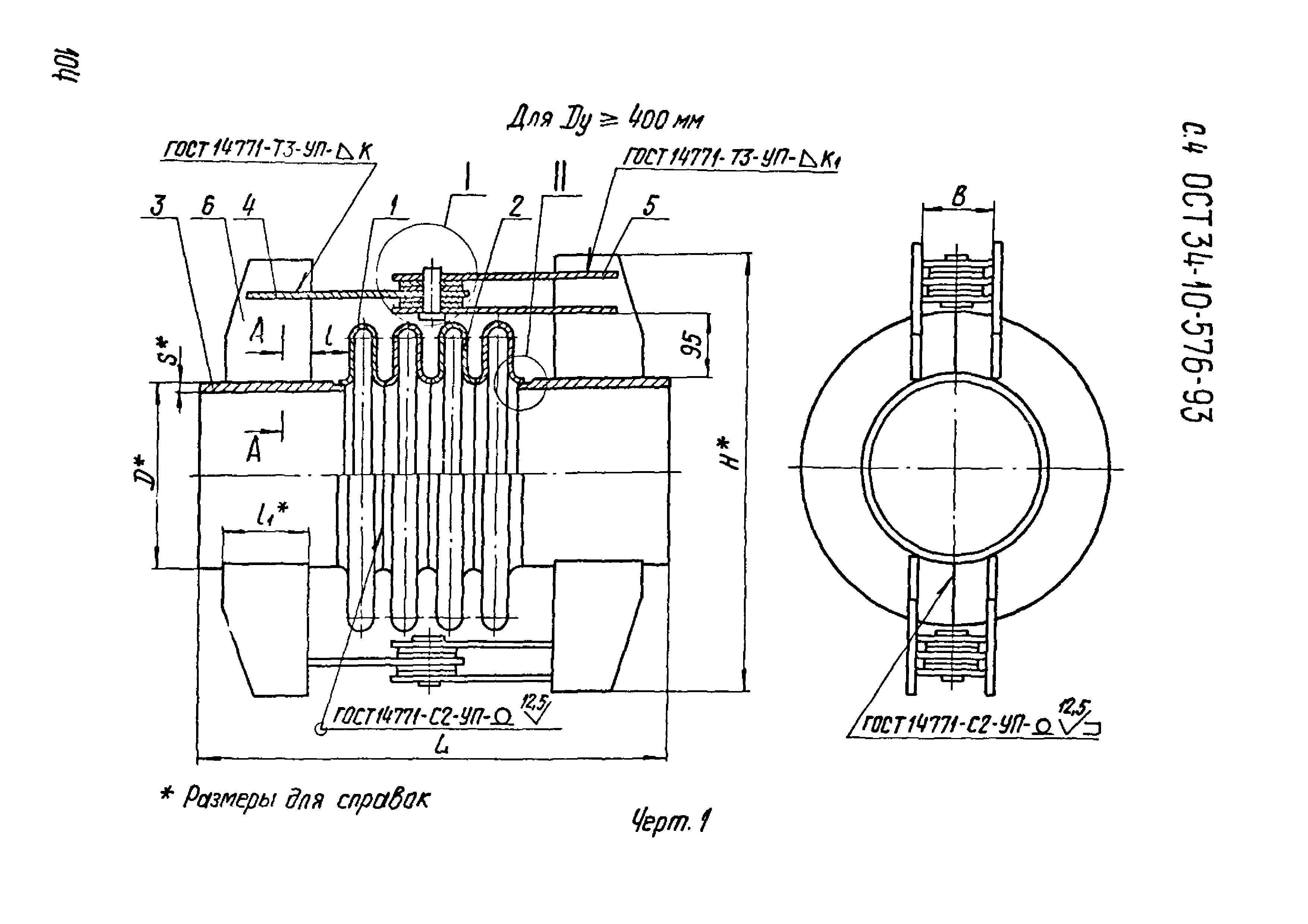
| Область применения: | Стандарт распространяется на четырехлинзовые угловые компенсаторы Dу от 100 до 2200 мм, предназначенные для компенсации температурных изменений длины трубопроводов в П-образной, Г-образной, Z-образной и других шарнирных схемах компенсации, работающих в условиях неагрессивных и малоагрессивных сред, с условным давлением Ру до 1,6 МПа (16 кгс/см2) и температурой до 300 градусов С и для Dу <= 400 мм температурой до 425 градусов Цельсия. |
| Оглавление: | 1. Конструкция и размеры угловых четырехлинзовых компенсаторов |
| Расположен в: | |
| Нормативные ссылки: |
|



























