Скачать РД 45.195-2001 Применение транспортных технологий связи, использующих в качестве среды передачи оптическое волокноДата актуализации: 10.08.2017 РД 45.195-2001
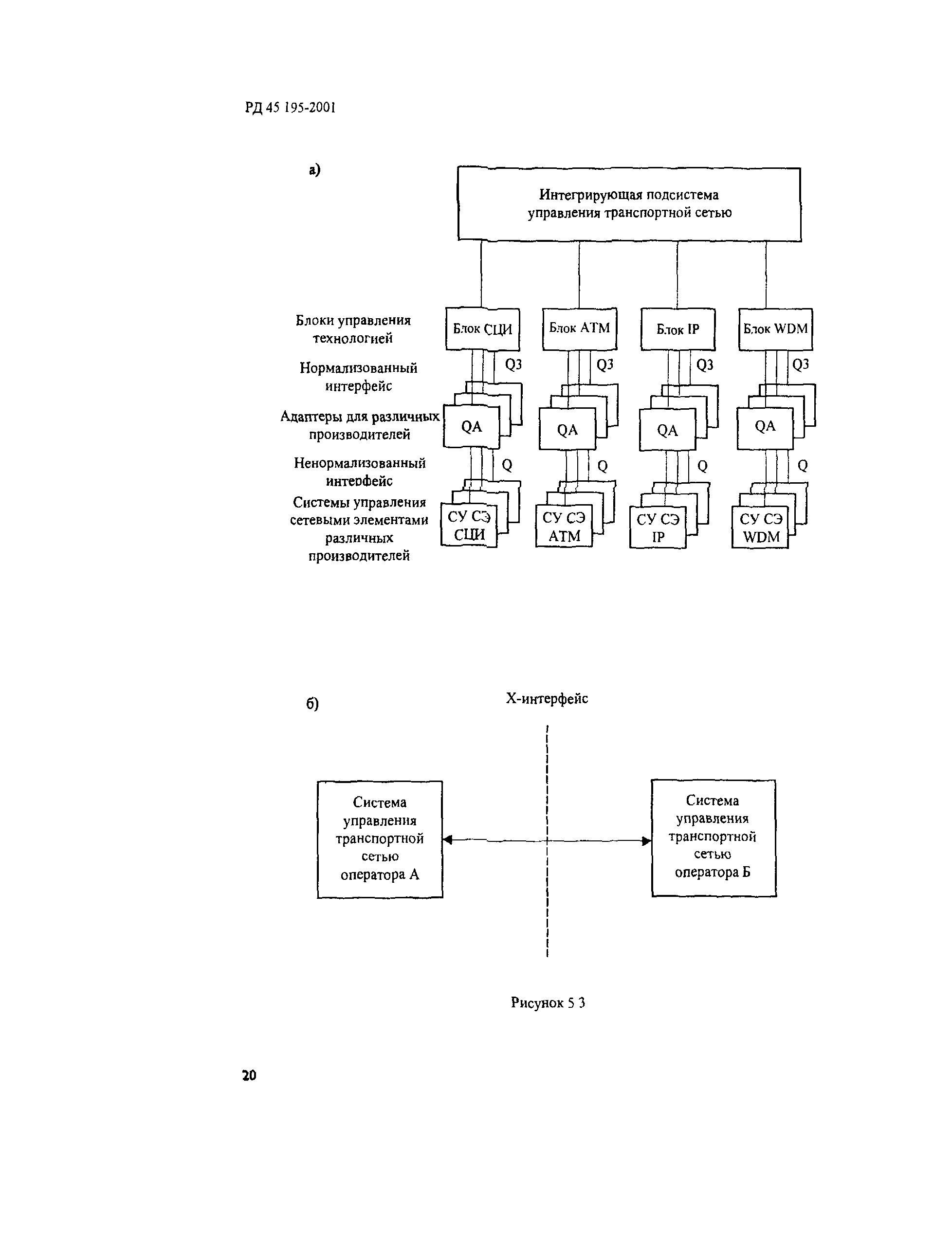
Применение транспортных технологий связи, использующих в качестве среды передачи оптическое волокноОбозначение: | РД 45.195-2001 | Обозначение англ: | RD 45.195-2001 | Статус: | действует | Название рус.: | Применение транспортных технологий связи, использующих в качестве среды передачи оптическое волокно | Дата добавления в базу: | 01.09.2013 | Дата актуализации: | 05.05.2017 | Дата введения: | 01.10.2001 | Оглавление: | 1 Область применения 2 Нормативные ссылки 3 Определения 4 Обозначения и сокращения 5 Общие положения 6 Применение технологии WDM 7 Применение технологии STM 8 Применение технологии ATM 9 Применение технологии IP Приложение А Библиография | Разработан: | ЦНИИС
| Утверждён: | 01.10.2001 Минсвязи России (Russian Federation Minsvyazi )
| Издан: | Минсвязи России (2001 г. )
| Расположен в: |
| Нормативные ссылки: | |
                                                                   
|