Информационная система
«Ёшкин Кот»

Скачать базу одним архивом
Скачать обновления
История создания базы
Карта сайта

Скачать МДС 55-1.2005 Стены с теплоизоляцией из пенополистирола и минераловатных плит с отделочным слоем из тонкослойной штукатурки. Материалы для проектирования и рабочие чертежи узлов

Дата актуализации: 10.08.2017

МДС 55-1.2005

Стены с теплоизоляцией из пенополистирола и минераловатных плит с отделочным слоем из тонкослойной штукатурки. Материалы для проектирования и рабочие чертежи узлов

Обозначение: МДС 55-1.2005
Обозначение англ: MDS 55-1.2005
Статус:действует
Название рус.:Стены с теплоизоляцией из пенополистирола и минераловатных плит с отделочным слоем из тонкослойной штукатурки. Материалы для проектирования и рабочие чертежи узлов
Дата добавления в базу:01.09.2013
Дата актуализации:05.05.2017
Дата введения:01.03.2005
Область применения:МДС содержит материалы для проектирования и рабочие чертежи узлов трехслойных стен отапливаемых зданий различного назначения с теплоизоляцией из плитного пенополистирола типа ПСБ-С-25 или минеральной ваты на синтетическом связующем.
Оглавление:1 Общие положения
2 Теплоизоляция
3 Нормы теплозащиты и данные по толщине теплоизоляции
4 Конструктивные решения стен
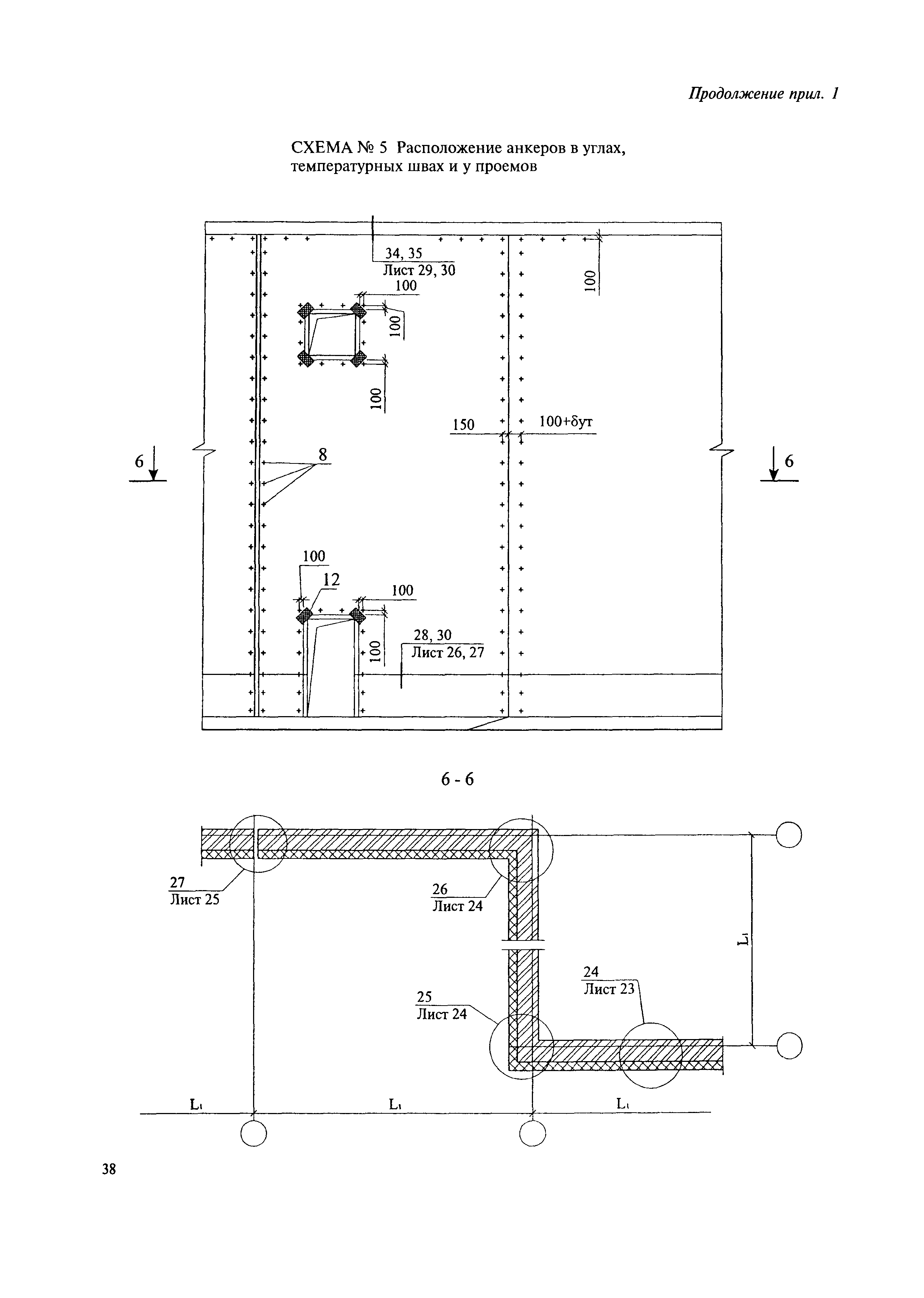
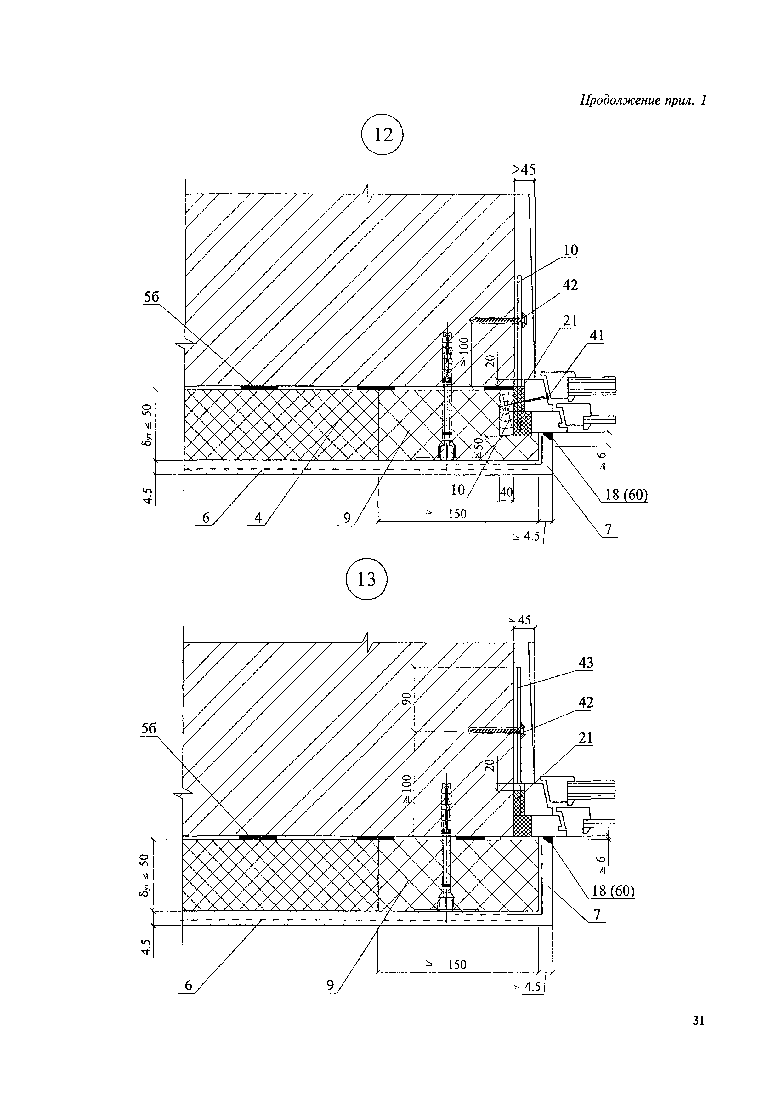
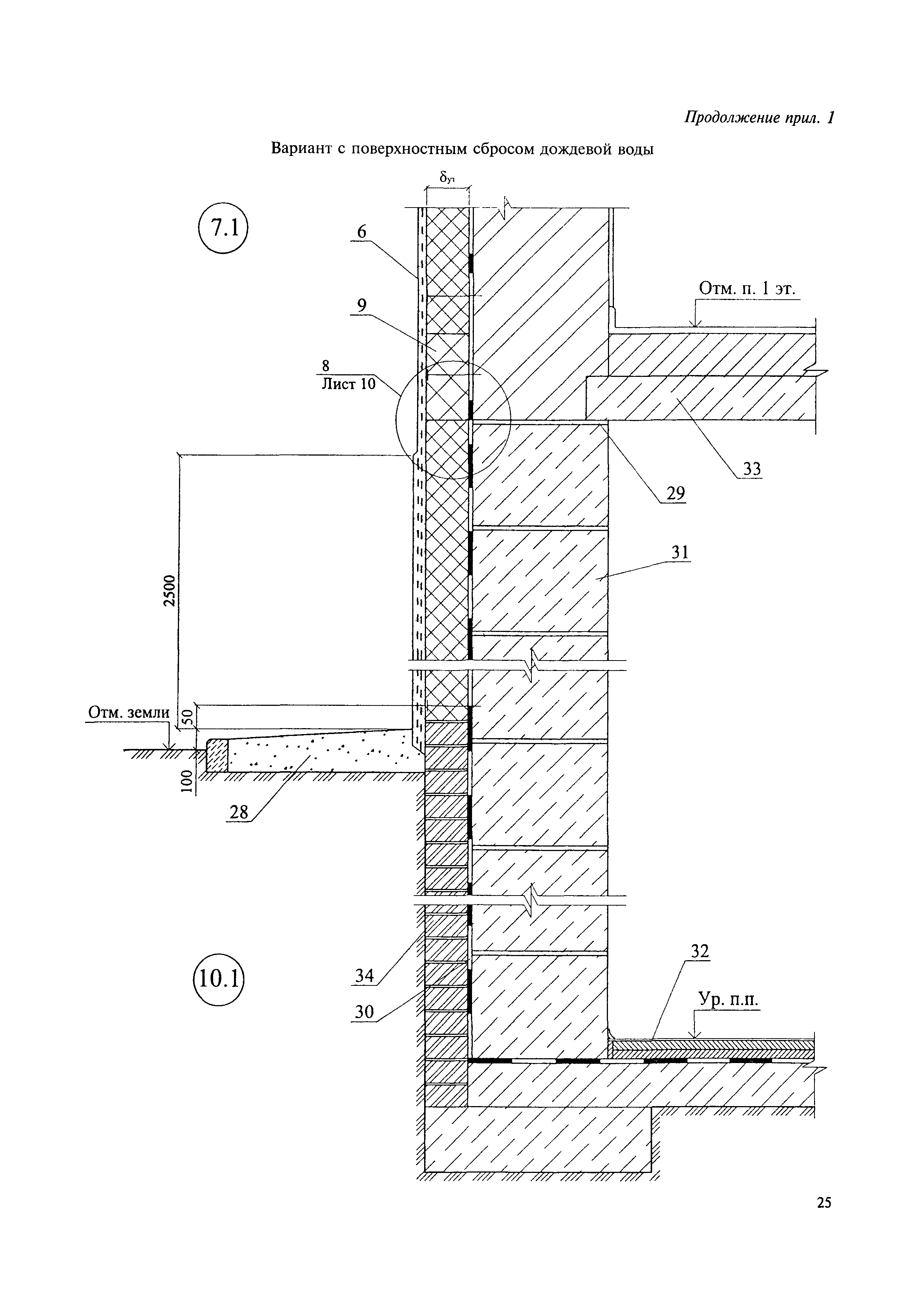
Приложение 1 Рабочие чертежи узлов
Приложение 2 Пример расчета повышения теплозащиты стен
Приложение 3 Пример расчета парозащиты стены
Приложение 4 Обеспечение пожарной безопасности
Приложение 5 Сертификаты соответствия
Разработан: ОАО ЦНИИпромзданий
Утверждён:26.03.2004 Госстрой России (Russian Federation Gosstroy 314с 104)
Издан: ФГУП ЦПП (2005 г. )
Расположен в:Техническая документация Экология СТРОИТЕЛЬНЫЕ МАТЕРИАЛЫ И СТРОИТЕЛЬСТВО Конструкции зданий Конструкции зданий в целом Строительство Справочные документы Директивные письма, положения, рекомендации и др.
Нормативные ссылки:
МДС 55-1.2005МДС 55-1.2005МДС 55-1.2005МДС 55-1.2005МДС 55-1.2005МДС 55-1.2005МДС 55-1.2005МДС 55-1.2005МДС 55-1.2005МДС 55-1.2005МДС 55-1.2005МДС 55-1.2005МДС 55-1.2005МДС 55-1.2005МДС 55-1.2005МДС 55-1.2005МДС 55-1.2005МДС 55-1.2005МДС 55-1.2005МДС 55-1.2005МДС 55-1.2005МДС 55-1.2005МДС 55-1.2005МДС 55-1.2005МДС 55-1.2005МДС 55-1.2005МДС 55-1.2005МДС 55-1.2005МДС 55-1.2005МДС 55-1.2005МДС 55-1.2005МДС 55-1.2005МДС 55-1.2005МДС 55-1.2005МДС 55-1.2005МДС 55-1.2005МДС 55-1.2005МДС 55-1.2005МДС 55-1.2005МДС 55-1.2005МДС 55-1.2005МДС 55-1.2005МДС 55-1.2005МДС 55-1.2005МДС 55-1.2005МДС 55-1.2005МДС 55-1.2005МДС 55-1.2005МДС 55-1.2005МДС 55-1.2005МДС 55-1.2005МДС 55-1.2005МДС 55-1.2005МДС 55-1.2005МДС 55-1.2005МДС 55-1.2005МДС 55-1.2005МДС 55-1.2005МДС 55-1.2005МДС 55-1.2005МДС 55-1.2005МДС 55-1.2005МДС 55-1.2005МДС 55-1.2005МДС 55-1.2005МДС 55-1.2005

© 2013 Ёшкин Кот :-) Карта сайта