| ||||||||||||||||||||||||||||||||||
Скачать ГОСТ 12.2.013-75 Система стандартов безопасности труда. Машины ручные электрические. Общие требования безопасностиДата актуализации: 10.08.2017
|
| Обозначение: | ГОСТ 12.2.013-75 |
| Обозначение англ: | GOST 12.2.013-75 |
| Статус: | заменен |
| Название рус.: | Система стандартов безопасности труда. Машины ручные электрические. Общие требования безопасности |
| Название англ.: | Occupational safety standards system. Electrical handtools. General safety requirements |
| Дата добавления в базу: | 01.02.2017 |
| Дата актуализации: | 05.05.2017 |
| Дата введения: | 01.07.1988 |
| Область применения: | Стандарт распространяется на ручные электрические машины общего назначения и бытовые и устанавливает требования безопасности к конструкции, правилам приемки, методам испытаний, маркировке, а также правила безопасной эксплуатации. Стандарт не распространяется на взрывозащищенные и химически стойкие машины, а также на машины, предназначенные для эксплуатации на транспортных средствах. |
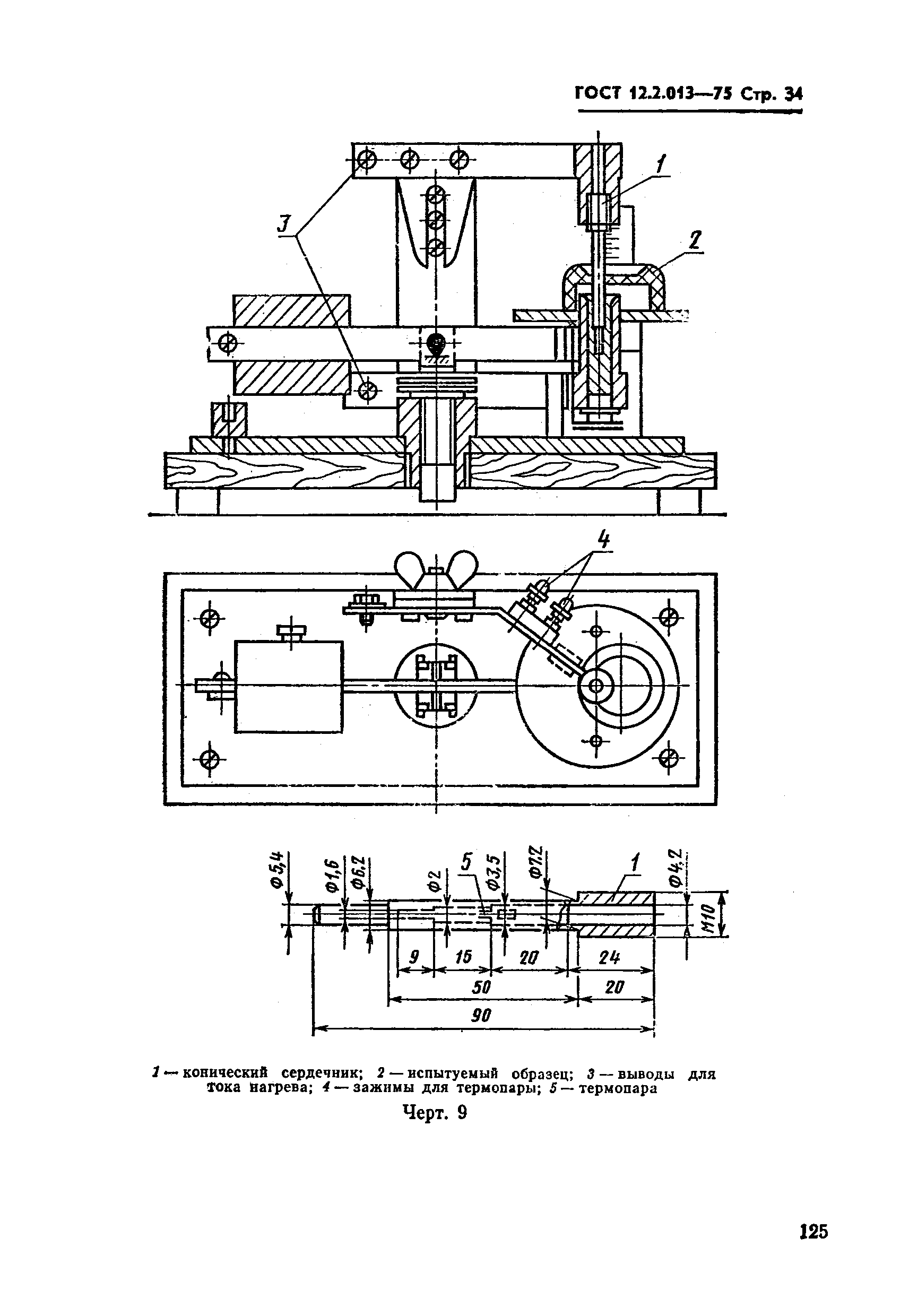
| Оглавление: | 1. Классы. Основные параметры. Исполнения 2. Требования к конструкции машин 3. Правила приемки 4. Методы испытаний 5. Маркировка 6. Правила безопасности при эксплуатации машин в условиях производства 7. Правила безопасности при эксплуатации машин в бытовых условиях |
| Утверждён: | 26.12.1975 Государственный комитет стандартов Совета Министров СССР (USSR National Committee on Standards at the Cabinet of Ministers 4046) |
| Издан: | Издательство стандартов (1983 г. ) |
| Расположен в: | |
| Чем заменён: |
|
| Нормативные ссылки: |
|

















































