Информационная система
«Ёшкин Кот»

Скачать базу одним архивом
Скачать обновления
История создания базы
Карта сайта

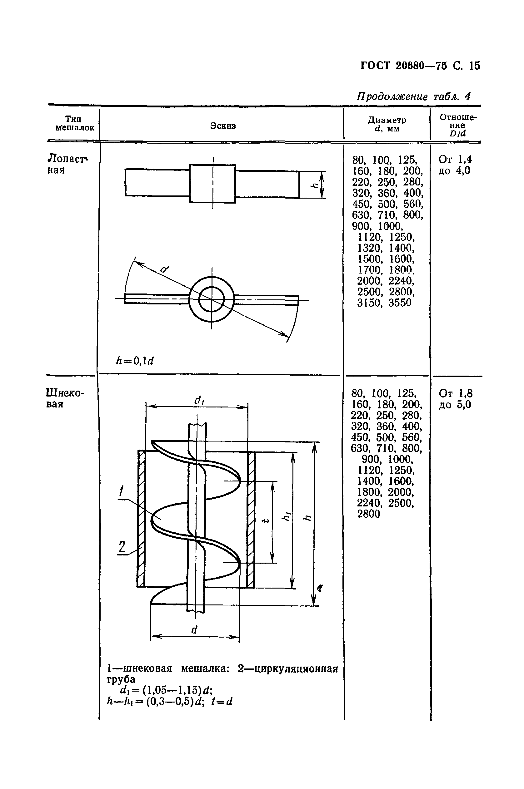
Скачать ГОСТ 20680-75 Аппараты с механическими перемешивающими устройствами вертикальные. Типы и основные параметры

Дата актуализации: 10.08.2017

ГОСТ 20680-75

Аппараты с механическими перемешивающими устройствами вертикальные. Типы и основные параметры

Обозначение: ГОСТ 20680-75
Обозначение англ: GOST 20680-75
Статус:заменен
Название рус.:Аппараты с механическими перемешивающими устройствами вертикальные. Типы и основные параметры
Название англ.:Vertical vessels with mechanical mixing devices. Types and main parameters
Дата добавления в базу:01.10.2014
Дата актуализации:05.05.2017
Дата введения:01.01.1988
Область применения:Стандарт распространяется на вертикальные цилиндрические стальные аппараты без покрытий, с полимерным и другими покрытиями, футерованные и аппараты из цветных металлов и сплавов объемом от 0,01 до 100 м3 с механическими вращающимися перемешивающими устройствами (мешалками), предназначенные для проведения различных физико-химических процессов в жидких средах с динамической вязкостью не более 500 Па• с (5 кП) и плотностью до 2000 кг/м3 при температуре рабочей среды от минус 40 до плюс 350 град. С и условном давлении не ниже 0,67 кПа (5 мм рт. ст.) остаточном и не выше 6,4 МПа (64 кгс/см2) избыточном. Стандарт не распространяется на аппараты без крышек и аппараты, обогреваемые топочными газами или открытым пламенем.
Утверждён:24.03.1975 Государственный комитет стандартов Совета Министров СССР (USSR National Committee on Standards at the Cabinet of Ministers 716)
Издан: Издательство стандартов (1983 г. )
Издательство стандартов (1987 г. )
Расположен в:Техническая документация
Чем заменён:
ГОСТ 20680-75ГОСТ 20680-75ГОСТ 20680-75ГОСТ 20680-75ГОСТ 20680-75ГОСТ 20680-75ГОСТ 20680-75ГОСТ 20680-75ГОСТ 20680-75ГОСТ 20680-75ГОСТ 20680-75ГОСТ 20680-75ГОСТ 20680-75ГОСТ 20680-75ГОСТ 20680-75ГОСТ 20680-75ГОСТ 20680-75ГОСТ 20680-75ГОСТ 20680-75ГОСТ 20680-75ГОСТ 20680-75ГОСТ 20680-75ГОСТ 20680-75ГОСТ 20680-75ГОСТ 20680-75

© 2013 Ёшкин Кот :-) Карта сайта