Информационная система
«Ёшкин Кот»

Скачать базу одним архивом
Скачать обновления
История создания базы
Карта сайта

Скачать ОСТ 26-18-3-86 Фильтры жидкостные сетчатые для трубопроводов. Конструкция, параметры и размеры

Дата актуализации: 10.08.2017

ОСТ 26-18-3-86

Фильтры жидкостные сетчатые для трубопроводов. Конструкция, параметры и размеры

Обозначение: ОСТ 26-18-3-86
Обозначение англ: OST 26-18-3-86
Статус:заменен
Название рус.:Фильтры жидкостные сетчатые для трубопроводов. Конструкция, параметры и размеры
Дата добавления в базу:01.09.2013
Дата актуализации:05.05.2017
Дата введения:01.01.1991
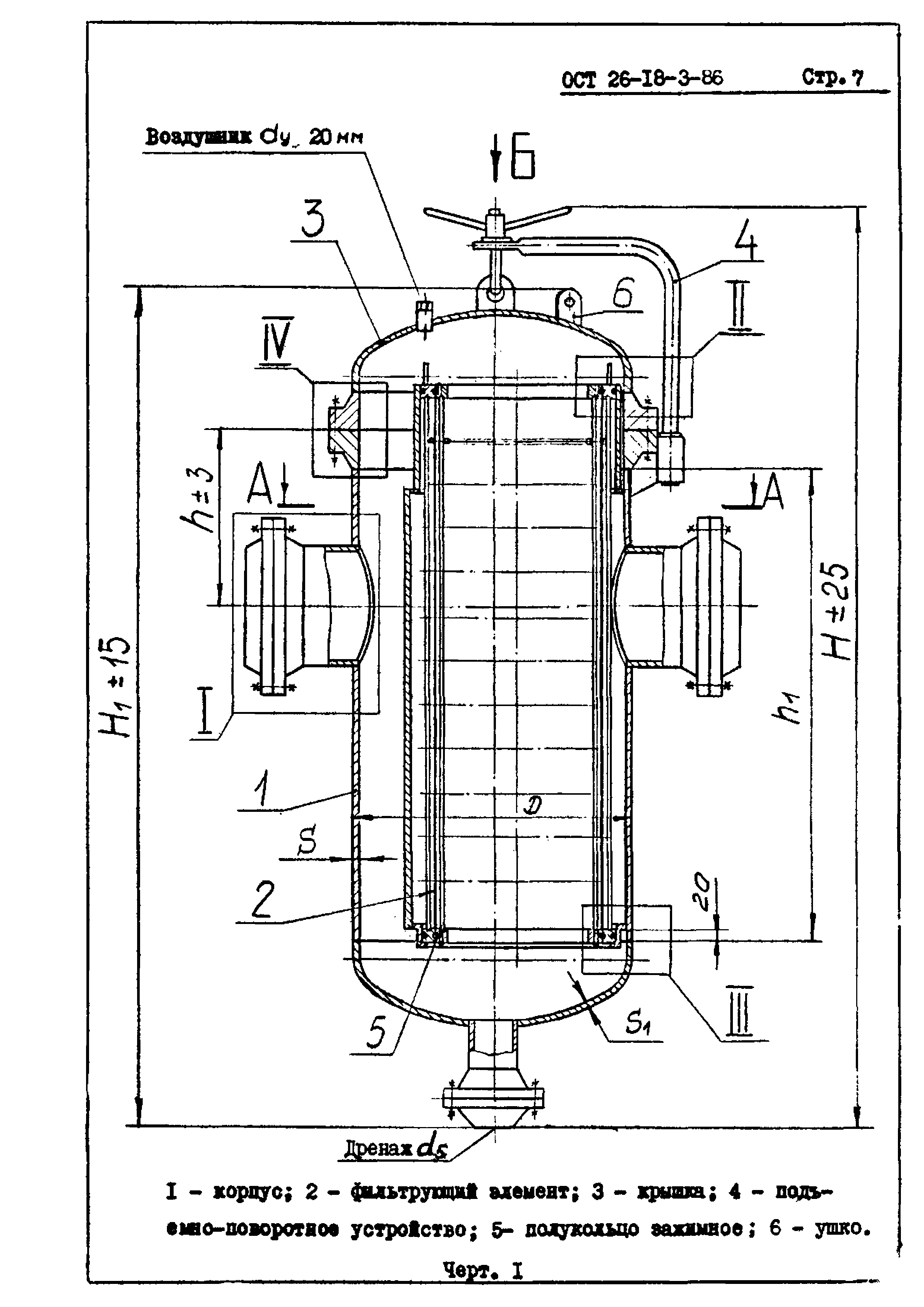
Область применения:Стандарт распространяется на фильтры жидкостные сетчатые для трубопроводов на условные давления 1,6 и 4,0 МПа при температуре транспортируемой жидкости от минус 60 до 300 градусов Цельсия, предназначенные для защиты насосного и другого оборудования в технологических установках нефтеперерабатывающей, нефтехимической, нефтяной и газовой отраслей промышленности, при работе которого размер твердых частиц мехпримесей в жидкости должен быть не более 200 мкм. Стандарт устанавливает требования к фильтрам, изготовляемым для нужд народного хозяйства и для поставки на экспорт.
Оглавление:1 Параметры и размеры
2 Требования к конструкции
Приложение I (обязательное). Пример условного обозначения фильтров при заказе
Разработан: ЦКБН
Утверждён:08.12.1986 Минхиммаш СССР (USSR Minkhimmash )
Принят: Миннефтехимпром СССР (USSR Minneftekhimprom )
01.10.1986 ПО Бугульманефтемаш
09.09.1986 Снежнянский завод химического машиностроения (22/4473)
10.09.1986 В/О Союзнефтехимзарубежстрой
Расположен в:Техническая документация Строительство Стандарты Отраслевые стандарты и технические условия Отраслевые стандарты
Заменяет собой:
  • ОСТ 26-02-626-79 «Фильтры жидкостные сетчатые для трубопроводов. Типы, конструкция. Параметры и основные размеры. Технические требования»
Чем заменён:
Нормативные ссылки:
ОСТ 26-18-3-86ОСТ 26-18-3-86ОСТ 26-18-3-86ОСТ 26-18-3-86ОСТ 26-18-3-86ОСТ 26-18-3-86ОСТ 26-18-3-86ОСТ 26-18-3-86ОСТ 26-18-3-86ОСТ 26-18-3-86ОСТ 26-18-3-86ОСТ 26-18-3-86ОСТ 26-18-3-86ОСТ 26-18-3-86ОСТ 26-18-3-86ОСТ 26-18-3-86ОСТ 26-18-3-86ОСТ 26-18-3-86ОСТ 26-18-3-86ОСТ 26-18-3-86ОСТ 26-18-3-86ОСТ 26-18-3-86ОСТ 26-18-3-86ОСТ 26-18-3-86ОСТ 26-18-3-86ОСТ 26-18-3-86ОСТ 26-18-3-86ОСТ 26-18-3-86

© 2013 Ёшкин Кот :-) Карта сайта