| ||||||||||||||||||||||||||||||||
Скачать СО 34.37.605 Типовая инструкция по обслуживанию водоподготовительных установок, работающих по схеме химического обессоливанияДата актуализации: 10.08.2017
|
| Обозначение: | СО 34.37.605 |
| Обозначение англ: | SO 34.37.605 |
| Статус: | не действует |
| Название рус.: | Типовая инструкция по обслуживанию водоподготовительных установок, работающих по схеме химического обессоливания |
| Дата добавления в базу: | 01.09.2013 |
| Дата актуализации: | 05.05.2017 |
| Дата введения: | 19.06.2010 |
| Область применения: | Приводится порядок обслуживания водоподготовительных установок, работающих по схеме химического обессоливания с предочисткой. |
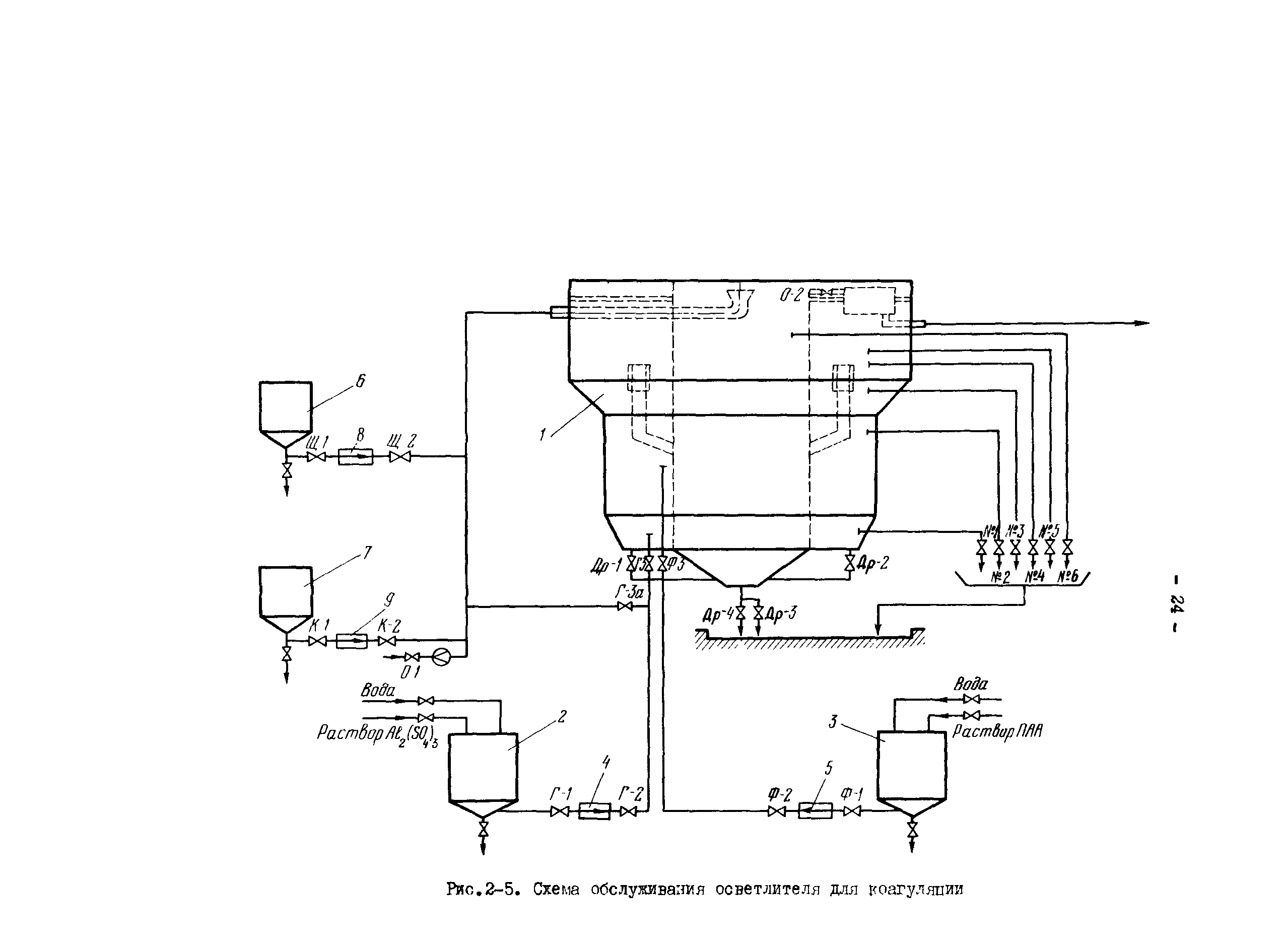
| Оглавление: | 1 Общие положения 2 Обработка воды методом коагуляции 3 Обработка воды методом известкования с коагуляцией 4 Осветление воды на механических фильтрах 5 Обработка воды методом ионного обмена 6 Обслуживание ионитовых фильтров Приложение 1 Список рекомендуемой литературы Приложение 2 Режимная карта работы осветлителя Приложение 3 Режимная карта работы обессоливающей установки Приложение 4 Некоторые неполадки при работе ВПУ и меры по их устранению |
| Разработан: | СЦНТИ ОРГРЭС ОАО Инженерный центр ЕЭС - Филиал Фирма ОРГРЭС |
| Утверждён: | 11.12.1973 СЦНТИ ОРГРЭС (4) |
| Издан: | СЦНТИ ОРГРЭС (1975 г. ) |
| Расположен в: | |
| Нормативные ссылки: |
|


























































































































































