Скачать СТ СЭВ 4399-83 Ножи свеклорезные. Основные размеры, технические требованияДата актуализации: 10.08.2017 СТ СЭВ 4399-83
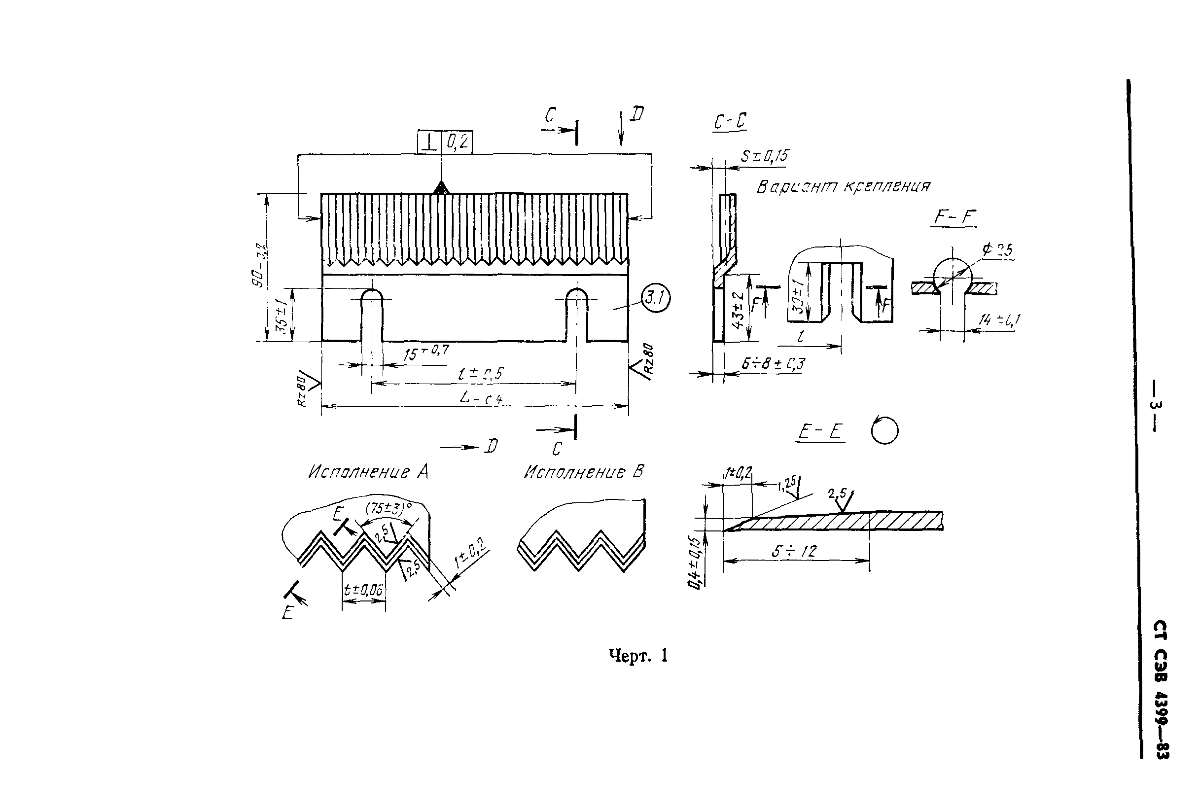
Ножи свеклорезные. Основные размеры, технические требования| Обозначение: | СТ СЭВ 4399-83 | | Обозначение англ: | ST COMECON 4399-83 | | Статус: | действует | | Название рус.: | Ножи свеклорезные. Основные размеры, технические требования | | Дата добавления в базу: | 01.09.2013 | | Дата актуализации: | 05.05.2017 | | Дата введения: | 01.01.1983 | | Область применения: | Стандарт СЭВ распространяется на свеклорезные ножи, применяемые в свеклосахарной промышленности. | | Оглавление: | 1. Основные размеры 2. Технические требования 3. Маркировка | | Разработан: | Делегация СССР в ПКС СЭВ
| | Утверждён: | Госстандарт СССР (USSR Gosstandart )
| | Расположен в: |
|
    
|