Информационная система
«Ёшкин Кот»

Скачать базу одним архивом
Скачать обновления
История создания базы
Карта сайта

Скачать Шифр М25.50/01.И1 Панели трехслойные стеновые с металлическими обшивками и утеплителем из минераловатной плиты с поперечно-ориентированными волокнами ООО Талдом Профиль. Рекомендации по применению

Дата актуализации: 10.08.2017

Шифр М25.50/01.И1

Панели трехслойные стеновые с металлическими обшивками и утеплителем из минераловатной плиты с поперечно-ориентированными волокнами ООО "Талдом Профиль". Рекомендации по применению

Обозначение: Шифр М25.50/01.И1
Обозначение англ: М25.50/01.И1
Статус:не определен законодательством
Название рус.:Панели трехслойные стеновые с металлическими обшивками и утеплителем из минераловатной плиты с поперечно-ориентированными волокнами ООО "Талдом Профиль". Рекомендации по применению
Дата добавления в базу:01.09.2013
Дата актуализации:05.05.2017
Дата введения:05.05.2003
Область применения:Содержит материалы для проектирования стен и перегородок из трехслойных панелей со стальными обшивками и средним слоем из минераловатной плиты с поперечно ориентированным волокном и решения основных узлов
Оглавление:Пояснительная записка
   1. Область применения
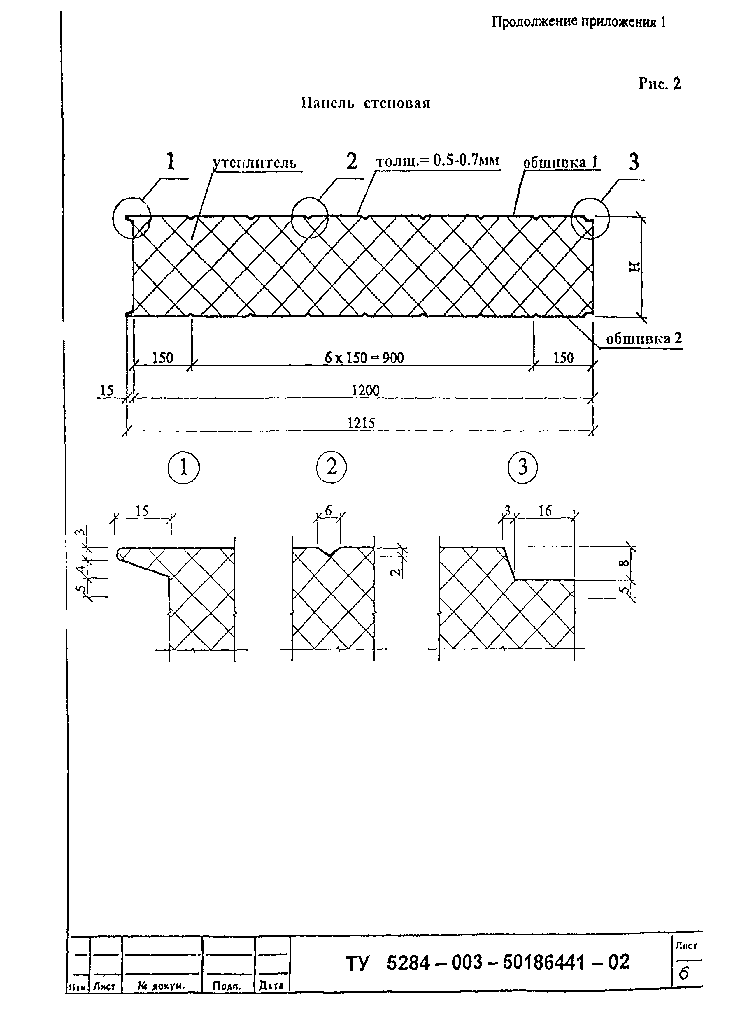
   2. Конструкция панелей
   3. Расчетные нагрузки
   4. Нормы теплозащиты и данные по необходимой толщине панелей
   5. Конструктивные решения стен и перегородок
Схема раскладки панелей
Узлы
   1. Крепление панели к цоколю при вертикальной разрезке фасада
   2. Стык панелей при вертикальной разрезке
   3. Карниз
   4. Угол стены при стальном каркасе
   4А. Угол стены при ж.б. Каркасе
   5. Парапет
   6. Стык панелей
   7. Цоколь при горизонтальной разрезке фасада
   8. Крепление к рядовой колонне. Горизонтальная разрезка фасада
   9. Крепление дверного блока
   9А. Крепление дверного блока
   10. Крепление оконного блока
   10А. Крепление конного блока
   10Б. Крепление оконного блока
   11. Крепление низа оконного блока
   11А. Крепление низа оконного блока
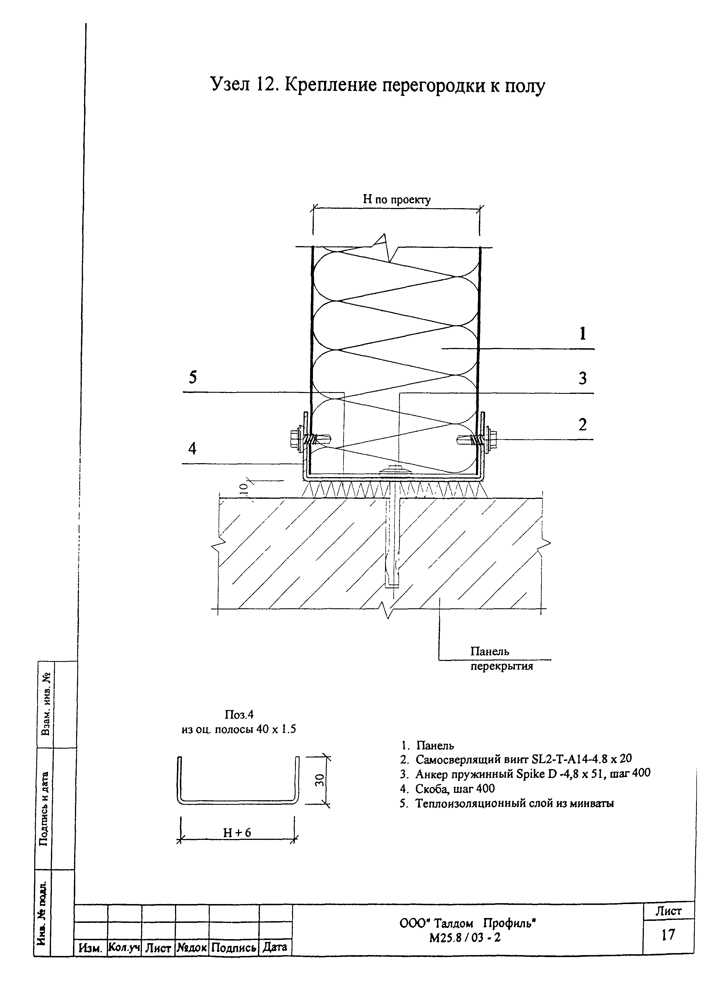
   12. Крепление перегородки к полу
   13. Крепление перегородки к потолку
Таблица применения продукции "SFS intek"
Приложения
Разработан: ОАО ЦНИИпромзданий
Утверждён:05.05.2003 ОАО ЦНИИпромзданий (TsNIIpromzdaniy OAO )
Принят:05.05.2003 ООО Талдом-Профиль
Издан: ЦНИИпромзданий (2003 г. )
Расположен в:Техническая документация Экология СТРОИТЕЛЬНЫЕ МАТЕРИАЛЫ И СТРОИТЕЛЬСТВО Строительные материалы Тепло- и звукоизоляционные материалы Строительство Справочные документы Типовые строительные конструкции, изделия и узлы Разработанные другими министерствами, ведомствами и организациями Справочные пособия к СНиП
Заменяет собой:
  • 25.50/01
Нормативные ссылки:
Шифр М25.50/01.И1Шифр М25.50/01.И1Шифр М25.50/01.И1Шифр М25.50/01.И1Шифр М25.50/01.И1Шифр М25.50/01.И1Шифр М25.50/01.И1Шифр М25.50/01.И1Шифр М25.50/01.И1Шифр М25.50/01.И1Шифр М25.50/01.И1Шифр М25.50/01.И1Шифр М25.50/01.И1Шифр М25.50/01.И1Шифр М25.50/01.И1Шифр М25.50/01.И1Шифр М25.50/01.И1Шифр М25.50/01.И1Шифр М25.50/01.И1Шифр М25.50/01.И1Шифр М25.50/01.И1Шифр М25.50/01.И1Шифр М25.50/01.И1Шифр М25.50/01.И1Шифр М25.50/01.И1Шифр М25.50/01.И1Шифр М25.50/01.И1Шифр М25.50/01.И1Шифр М25.50/01.И1Шифр М25.50/01.И1Шифр М25.50/01.И1Шифр М25.50/01.И1Шифр М25.50/01.И1Шифр М25.50/01.И1Шифр М25.50/01.И1Шифр М25.50/01.И1Шифр М25.50/01.И1Шифр М25.50/01.И1Шифр М25.50/01.И1Шифр М25.50/01.И1Шифр М25.50/01.И1Шифр М25.50/01.И1Шифр М25.50/01.И1Шифр М25.50/01.И1Шифр М25.50/01.И1Шифр М25.50/01.И1Шифр М25.50/01.И1Шифр М25.50/01.И1Шифр М25.50/01.И1Шифр М25.50/01.И1Шифр М25.50/01.И1Шифр М25.50/01.И1Шифр М25.50/01.И1Шифр М25.50/01.И1Шифр М25.50/01.И1Шифр М25.50/01.И1Шифр М25.50/01.И1Шифр М25.50/01.И1Шифр М25.50/01.И1Шифр М25.50/01.И1Шифр М25.50/01.И1Шифр М25.50/01.И1Шифр М25.50/01.И1Шифр М25.50/01.И1Шифр М25.50/01.И1Шифр М25.50/01.И1Шифр М25.50/01.И1Шифр М25.50/01.И1Шифр М25.50/01.И1Шифр М25.50/01.И1Шифр М25.50/01.И1Шифр М25.50/01.И1Шифр М25.50/01.И1Шифр М25.50/01.И1Шифр М25.50/01.И1

© 2013 Ёшкин Кот :-) Карта сайта