| ||||||||||||||||||||||||||||||||||||
Скачать ГОСТ 5402.1-2000 Изделия огнеупорные с общей пористостью менее 45%. Метод определения остаточных изменений размеров при нагревеДата актуализации: 10.08.2017
|
| Обозначение: | ГОСТ 5402.1-2000 |
| Обозначение англ: | GOST 5402.1-2000 |
| Статус: | действует |
| Название рус.: | Изделия огнеупорные с общей пористостью менее 45%. Метод определения остаточных изменений размеров при нагреве |
| Название англ.: | Refractory products with a true porosity of less than 45%. Method for determination of permanent change in dimensions on heating |
| Дата добавления в базу: | 01.09.2013 |
| Дата актуализации: | 05.05.2017 |
| Дата введения: | 01.06.2001 |
| Область применения: | Стандарт устанавливает объемный метод определения остаточных изменений размеров (дополнительной линейной усадки или роста) обожженных огнеупорных изделий с общей пористостью менее 45 % при нагреве при высоких температурах. Стандарт не распространяется на углеродсодержащие изделия. |
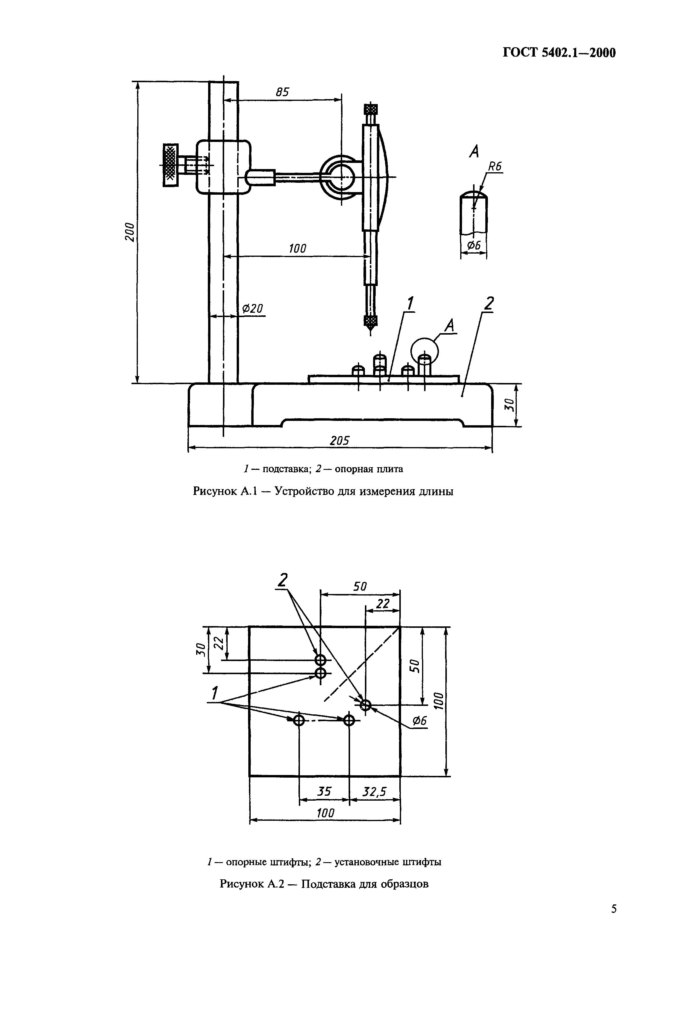
| Оглавление: | 1 Область применения 2 Нормативные ссылки 3 Определение 4 Сущность метода 5 Аппаратура 6 Образцы для испытания 7 Проведение испытания 8 Обработка результатов 9 Протокол испытания Приложение А Определение остаточных изменений размеров плотных огнеупорных изделий при нагреве (ИСО 2478-87) |
| Разработан: | МТК 9 Огнеупоры |
| Утверждён: | 09.10.2000 Госстандарт России (Russian Federation Gosstandart 255-ст) |
| Издан: | ИПК Издательство стандартов (2000 г. ) |
| Расположен в: | |
| Заменяет собой: | |
| Нормативные ссылки: |
|











