Информационная система
«Ёшкин Кот»

Скачать базу одним архивом
Скачать обновления
История создания базы
Карта сайта

Скачать РД 34.30.507-92 Методические указания по предотвращению коррозионных повреждений дисков и лопаточного аппарата паровых турбин в зоне фазового перехода

Дата актуализации: 10.08.2017

РД 34.30.507-92

Методические указания по предотвращению коррозионных повреждений дисков и лопаточного аппарата паровых турбин в зоне фазового перехода

Обозначение: РД 34.30.507-92
Обозначение англ: RD 34.30.507-92
Статус:не действует
Название рус.:Методические указания по предотвращению коррозионных повреждений дисков и лопаточного аппарата паровых турбин в зоне фазового перехода
Название англ.:Procedural Guidelines for the Prevention of Corrosion Damage to Disk and Blade Apparatus of Steam Turbines in Phase Transition Zone
Дата добавления в базу:01.09.2013
Дата актуализации:05.05.2017
Дата введения:31.12.2009
Область применения:Документ распространяется на все типы энергетических паровых турбин тепловых электростанций. Устанавливает общие требования к организации и проведению контроля за состоянием металла дисков и рабочих лопаток в зоне фазового перехода, к отбраковке и ремонту коррозионно-поврежденных дисков и лопаток, качеству пара перед турбинами и объему его автоматизированного химического контроля. Рекомендует мероприятия по предотвращению коррозионностойких повреждений проточной части в период эксплуатации турбинных установок и их длительных остановок.
Оглавление:1. Общие положения
   1.1 Типы паровых турбин и применяемые материалы
   1.2. Коррозионные повреждения дисков и рабочих лопаток турбин
2. Причины возникновения коррозионных повреждений дисков и лопаточного аппарата
   2.1. Качество свежего пара перед турбинами
      2.1.1 Контроль за качеством пара перед турбинами
      2.1.2. Источники возможного поступления агрессивных примесей в свежие пар и теплоноситель по тракту теплосилового цикла
   2.2. Коррозионная стойкость металла дисков и лопаток
      2.2.1. Связь коррозионной повреждаемости дисков с механическими свойствами стали
      2.2.2. Связь коррозионной повреждаемости дисков с химическим свойством стали
      2.2.3. Эксплуатационная надежность дисков с трещинами
      2.2.4. Влияние температуры сред на коррозионную стойкость металла дисков
      2.2.5. Коррозионная стойкость лопаточных сталей
   2.3. Режимы эксплуатации энергетических установок и отклонения в условиях их работы
      2.3.1. Температура свежего пара и промперегрева и их влияние на уровень температуры начала зоны фазового перехода
      2.3.2. Система регулирования температуры пара за барабанными котлами
      2.3.3. Гидравлическая плотность трубных систем конденсаторов турбин и сетевых подогревателей
3. Стояночная коррозия проточной части турбин
4. Рекомендации по предотвращению коррозионных повреждений дисков и лопаточного аппарата турбины
   4.1. Контроль за металлом насадных дисков
   4.2. Контроль за металлом рабочих лопаток
   4.3. Технология ремонтов коррозионно-поврежденных дисков и рабочих лопаток
   4.4. Нормирование качества свежего пера перед турбинами
   4.5. Автоматизированный химический контроль за качеством свежего пара перед турбиной и конденсата после конденсатора и сетевых подогревателей
   4.6. Система регулирования температуры пара барабанных котлов
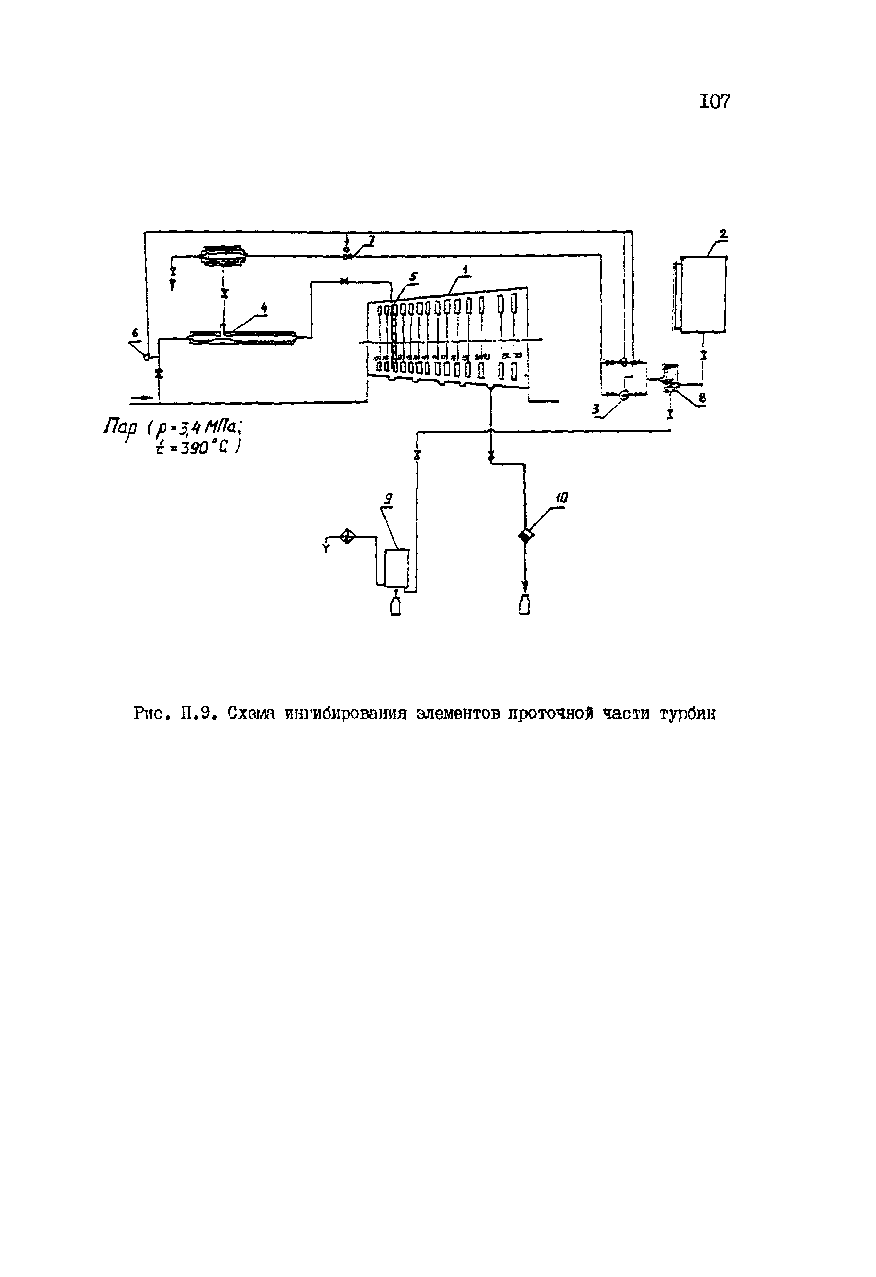
   4.7. Применение ингибирующих присадок в пар перед зоной фазового перехода турбины
   4.8. Материал дисков и рабочих лопаток ступеней турбин в зоне фазового перехода при высокой минерализации исходной воды
   4.9. Консервация оборудования турбинных установок при их остановке
Приложение 1. Выписка из инструкций ПО ТМ3, ПО ЛМЗ и НПО Турбоатом по ремонту, отбраковке, срокам контроля дисков и рабочих лопаток ступеней турбин, работающих в зоне фазового перехода
Приложение 2. Методика контроля (МПД и У3Д) коррозионно-поврежденных дисков ступеней турбин в зоне фазового перехода
Приложение 3. Методические указания по магнитопорошковой дефектоскопии коррозионно-поврежденных рабочих лопаток паровых турбин в зоне фазового перехода
Приложение 4. Методика ультразвукового контроля вилкообразных хвостовиков рабочих лопаток паровых турбин
Приложение 5. Общие указания по критериям, нормам отбраковки и технологии ремонта лопаточного аппарата и дисков, работающих в зоне фазового перехода
Приложение 6. Методические рекомендации по визуальному осмотру лопаток, поврежденных коррозией
Приложение 7. Устройства для определения качества первичного конденсата в зоне фазового перехода (П) турбин
Приложение 8, Автоматизированный химический контроль за качеством свежего пара перед турбиной
Приложение 9. Система ввода ингибирующей присадки в пар перед зоной фазового перехода турбин
Разработан: ВТИ
Утверждён:30.11.1990 Росэнерго (Rosenergo )
Издан: ВТИ (1993 г. )
Расположен в:Техническая документация Экология ЭНЕРГЕТИКА И ТЕПЛОТЕХНИКА Газовые и паровые турбины. Паровые двигатели Мостостроение Паровые и газовые турбины
Нормативные ссылки:
РД 34.30.507-92РД 34.30.507-92РД 34.30.507-92РД 34.30.507-92РД 34.30.507-92РД 34.30.507-92РД 34.30.507-92РД 34.30.507-92РД 34.30.507-92РД 34.30.507-92РД 34.30.507-92РД 34.30.507-92РД 34.30.507-92РД 34.30.507-92РД 34.30.507-92РД 34.30.507-92РД 34.30.507-92РД 34.30.507-92РД 34.30.507-92РД 34.30.507-92РД 34.30.507-92РД 34.30.507-92РД 34.30.507-92РД 34.30.507-92РД 34.30.507-92РД 34.30.507-92РД 34.30.507-92РД 34.30.507-92РД 34.30.507-92РД 34.30.507-92РД 34.30.507-92РД 34.30.507-92РД 34.30.507-92РД 34.30.507-92РД 34.30.507-92РД 34.30.507-92РД 34.30.507-92РД 34.30.507-92РД 34.30.507-92РД 34.30.507-92РД 34.30.507-92РД 34.30.507-92РД 34.30.507-92РД 34.30.507-92РД 34.30.507-92РД 34.30.507-92РД 34.30.507-92РД 34.30.507-92РД 34.30.507-92РД 34.30.507-92РД 34.30.507-92РД 34.30.507-92РД 34.30.507-92РД 34.30.507-92РД 34.30.507-92РД 34.30.507-92РД 34.30.507-92РД 34.30.507-92РД 34.30.507-92РД 34.30.507-92РД 34.30.507-92РД 34.30.507-92РД 34.30.507-92РД 34.30.507-92РД 34.30.507-92РД 34.30.507-92РД 34.30.507-92РД 34.30.507-92РД 34.30.507-92РД 34.30.507-92РД 34.30.507-92РД 34.30.507-92РД 34.30.507-92РД 34.30.507-92РД 34.30.507-92РД 34.30.507-92РД 34.30.507-92РД 34.30.507-92РД 34.30.507-92РД 34.30.507-92РД 34.30.507-92РД 34.30.507-92РД 34.30.507-92РД 34.30.507-92РД 34.30.507-92РД 34.30.507-92РД 34.30.507-92РД 34.30.507-92РД 34.30.507-92РД 34.30.507-92РД 34.30.507-92РД 34.30.507-92РД 34.30.507-92РД 34.30.507-92РД 34.30.507-92РД 34.30.507-92РД 34.30.507-92РД 34.30.507-92РД 34.30.507-92РД 34.30.507-92РД 34.30.507-92РД 34.30.507-92РД 34.30.507-92РД 34.30.507-92РД 34.30.507-92РД 34.30.507-92РД 34.30.507-92РД 34.30.507-92РД 34.30.507-92РД 34.30.507-92РД 34.30.507-92

© 2013 Ёшкин Кот :-) Карта сайта