| ||||||||||||||||||||||||||||||||||||
Скачать РД 34.37.403-91 Методические указания по эксплуатационной химической очистке котлов энергоблоков сверхкритического давленияДата актуализации: 10.08.2017
|
| Обозначение: | РД 34.37.403-91 |
| Обозначение англ: | RD 34.37.403-91 |
| Статус: | действует |
| Название рус.: | Методические указания по эксплуатационной химической очистке котлов энергоблоков сверхкритического давления |
| Название англ.: | Procedural Guidelines for In-Service Chemical Cleaning of Boilers for Supercritical-Pressure Reactors |
| Дата добавления в базу: | 01.10.2014 |
| Дата актуализации: | 05.05.2017 |
| Дата введения: | 01.01.1992 |
| Область применения: | Методические указания предназначены для персонала специализированных, проектных, наладочных организаций Минэнерго СССР, эксплуатационного персонала электростанций при проектировании, подготовке и проведении эксплуатационных очисток паровых стационарных прямоточных котлов сверхкритического давления (СКД) 25 МПа |
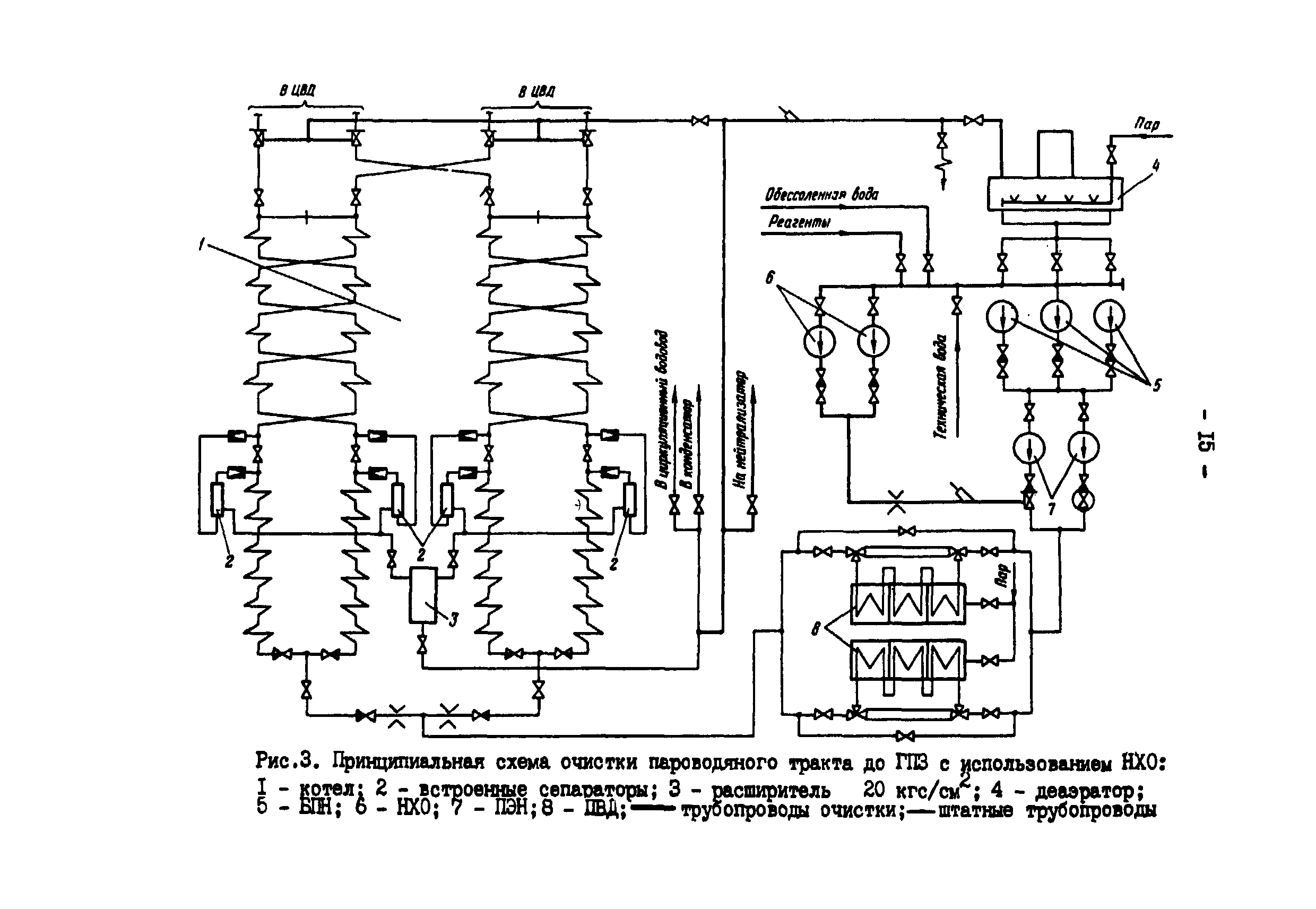
| Оглавление: | 1. Общие положения 2. Критерии, определяющие необходимость проведения эксплуатационной очистки паропроводного тракта котла 3. Выбор схемы и технология эксплуатационной очистки 4. Характеристика моющих растворов и технологий эксплуатационных очисток энергоблоков СКД циркуляционными методами 5. Основные требования к оборудованию циркуляционных схем эксплуатационных очисток котлов блоков СКД 6. Характеристика технологических операций при циркуляционных методах очистки. Объем контроля за процессом очистки 7. Мероприятия, выполняемые после циркуляционной очистки и оценка ее качества 8. Локальные химические очистки отдельных участков пароводяного тракта энергоблоков по проточно-сбросной схеме Приложение 1. Основные обозначения и принятые сокращения Приложение 2. Определение загрязненности труб методом катодного травления Приложение 3. Результаты расчеты скоростей потока при очистке котлов блоков СКД Список использованной литературы |
| Разработан: | Завод Котлоочистка |
| Утверждён: | 17.05.1991 Минэнерго СССР (USSR Minenergo ) |
| Издан: | СПО ОРГРЭС (1991 г. ) |
| Расположен в: | |
| Заменяет собой: |
|
| Нормативные ссылки: |
|




























































