Информационная система
«Ёшкин Кот»

Скачать базу одним архивом
Скачать обновления
История создания базы
Карта сайта

Скачать ГОСТ Р МЭК 332-3-96 Испытания кабелей на нераспространение горения. Испытание проводов или кабелей, проложенных в пучках

Дата актуализации: 10.08.2017

ГОСТ Р МЭК 332-3-96

Испытания кабелей на нераспространение горения. Испытание проводов или кабелей, проложенных в пучках

Обозначение: ГОСТ Р МЭК 332-3-96
Обозначение англ: GOST R IEC 332-3-96
Статус:заменен полностью по частям
Название рус.:Испытания кабелей на нераспространение горения. Испытание проводов или кабелей, проложенных в пучках
Название англ.:Tests on cables under fire conditions. Test on bunched o wires or cables
Дата добавления в базу:01.09.2013
Дата актуализации:05.05.2017
Дата введения:01.01.2007
Область применения:Стандарт устанавливает метод испытаний по определению стойкости кабелей или проводов, проложенных в пучках, к распространению горения независимо от их назначения, например, силовые кабели или кабели связи (в т.ч. кабели для передачи информации и оптические кабели) и т.д.
Оглавление:Предисловие
1 Общие положения
   1.1 Область применения
   1.2 Нормативные ссылки
2 Общие требования к проведению испытаний
   2.1 Требования к образцу и категории испытаний
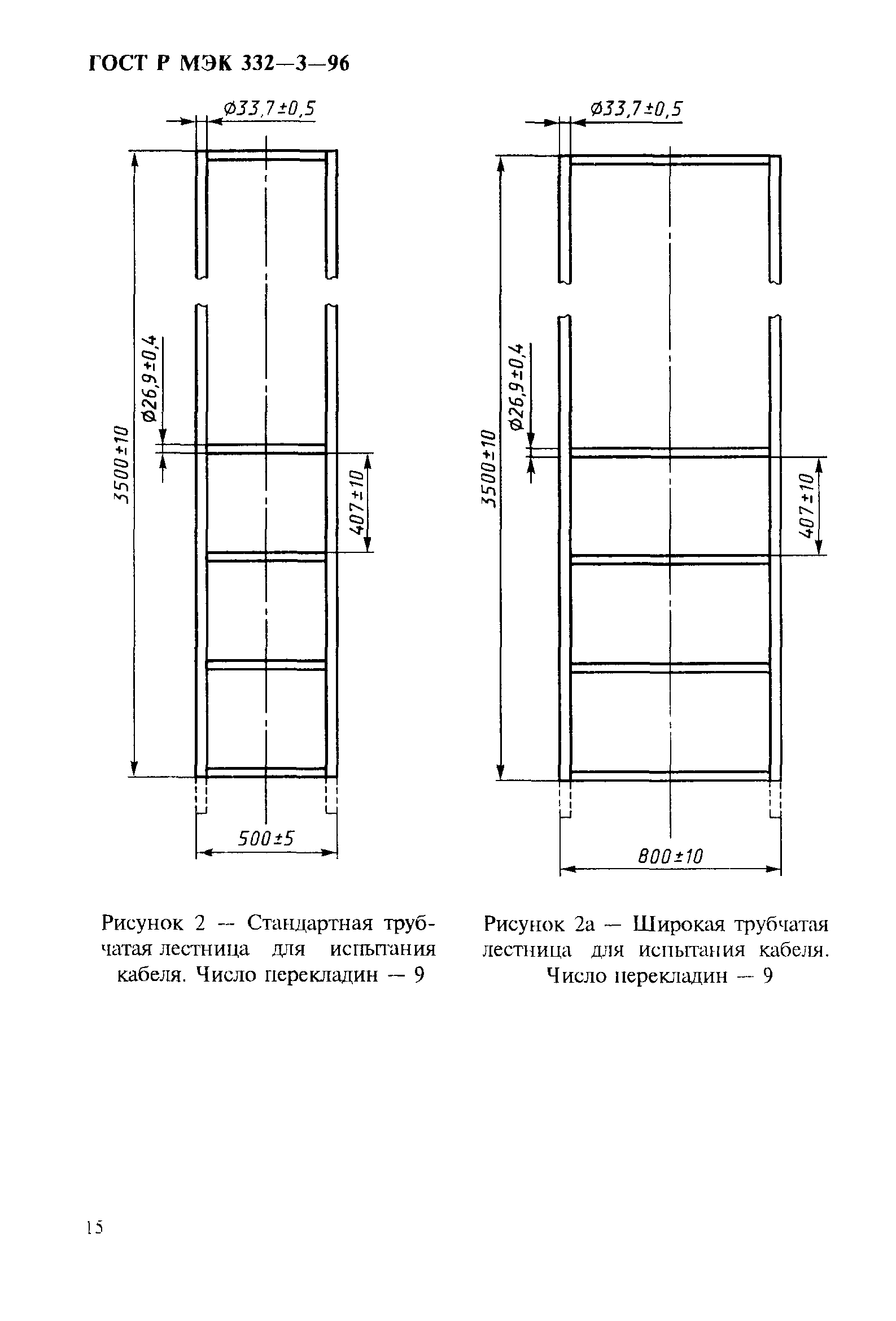
   2.2 требования к испытательной установке
   2.3 Определение числа отрезков
   2.4 Крепление образца
   2.5 Источник воспламенения
   2.6 Расположение источника воспламенения
   2.7 Проведение испытания
   2.8 Оценка результатов и проведение повторного испытания
   2.9 Определение кислородного индекса (КИ)
   2.10 Выбор кабеля для испытаний
3 Крепление образцов и время воздействия пламени для испытания категории А, кодовые обозначения F/R и F
   3.1 Выбор образцов
   3.2 Крепление отрезков
   3.3 Расположение образцов
   3.4 Время воздействия пламени
4 Крепление образцов и время воздействия пламени для испытания категории В, кодовое обозначение F
   4.1 Выбор образцов
   4.2 Крепление отрезков
   4.3 Расположение образцов
   4.4 Время воздействия пламени
5 Крепление образцов и время воздействия пламени для испытания категории С, кодовое обозначение F
   5.1 Выбор образцов
   5.2 Крепление отрезков
   5.3 Расположение образцов
   5.4 Время воздействия пламени
Приложение А Метод определения кислородного индекса неметаллических материалов кабелей
Разработан: ТК 46 Кабельные изделия
АО ВНИИКП Росскоммаша
Утверждён:23.12.1996 Госстандарт России (Russian Federation Gosstandart 682)
Издан: ИПК Издательство стандартов (1997 г. )
Расположен в:Техническая документация Электроэнергия ЭЛЕКТРОТЕХНИКА Электрические провода и кабели Кабели Экология ЭЛЕКТРОТЕХНИКА Электрические провода и кабели Кабели
Чем заменён:
ГОСТ Р МЭК 332-3-96ГОСТ Р МЭК 332-3-96ГОСТ Р МЭК 332-3-96ГОСТ Р МЭК 332-3-96ГОСТ Р МЭК 332-3-96ГОСТ Р МЭК 332-3-96ГОСТ Р МЭК 332-3-96ГОСТ Р МЭК 332-3-96ГОСТ Р МЭК 332-3-96ГОСТ Р МЭК 332-3-96ГОСТ Р МЭК 332-3-96ГОСТ Р МЭК 332-3-96ГОСТ Р МЭК 332-3-96ГОСТ Р МЭК 332-3-96ГОСТ Р МЭК 332-3-96ГОСТ Р МЭК 332-3-96ГОСТ Р МЭК 332-3-96ГОСТ Р МЭК 332-3-96ГОСТ Р МЭК 332-3-96ГОСТ Р МЭК 332-3-96ГОСТ Р МЭК 332-3-96ГОСТ Р МЭК 332-3-96ГОСТ Р МЭК 332-3-96ГОСТ Р МЭК 332-3-96ГОСТ Р МЭК 332-3-96ГОСТ Р МЭК 332-3-96ГОСТ Р МЭК 332-3-96ГОСТ Р МЭК 332-3-96

© 2013 Ёшкин Кот :-) Карта сайта