| ||||||||||||||||||||||||||
 Скачать ГОСТ Р 51377-99 Конвекторы отопительные газовые бытовые. Требования безопасности и методы испытанийДата актуализации: 10.08.2017
 | 
| Обозначение: |   ГОСТ Р 51377-99 | 
| Обозначение англ: |   GOST R 51377-99 | 
| Статус: | действует | 
| Название рус.: | Конвекторы отопительные газовые бытовые. Требования безопасности и методы испытаний | 
| Название англ.: | Gas convection heaters for household use. Safety requirements and test methods | 
| Дата добавления в базу: | 01.09.2013 | 
| Дата актуализации: | 05.05.2017 | 
| Дата введения: | 01.01.2001 | 
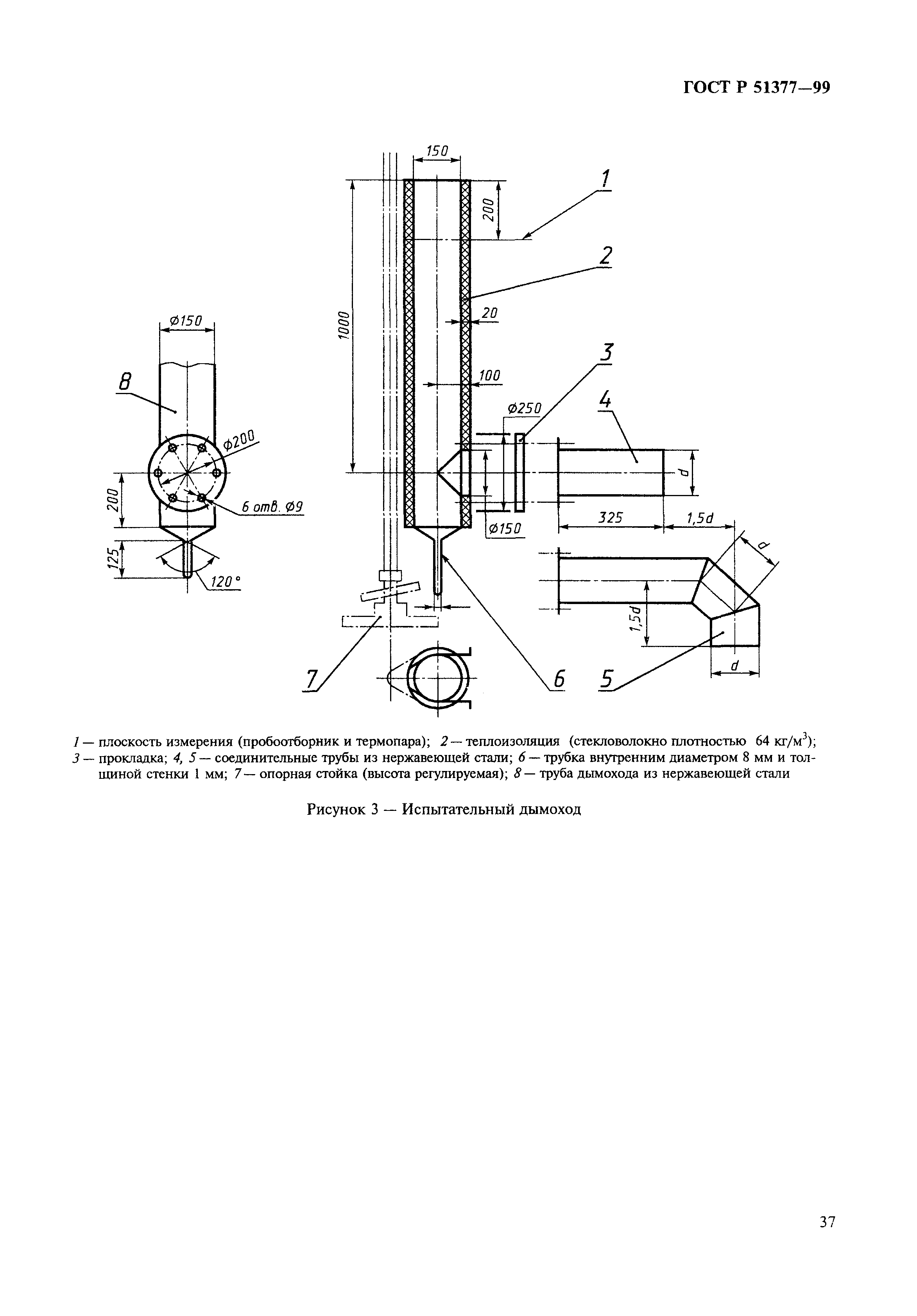
| Оглавление: | 1 Общие положения 1.1 Область применения 1.2 Нормативные ссылки 1.3 Определения 1.4 Классификация аппаратов 1.5 Обозначение аппаратов 2 Требования безопасности 2.1 Конструктивные требования 2.2 Безопасность работы 2.3 Маркировка и инструкции 3 Требования к КПД 3.1 Аппараты без резервного топлива 3.2 Аппараты с резервным топливом 3.3 Аппараты типа В при обратной тяге 3.4 КПД при пониженном расходе 4 Требования назначения 4.1 Исключение конденсации продуктов сгорания 4.2 Термостаты 5 Методы испытаний 5.1 Общие положения 5.2 Безопасность работы 5.3 Определение КПД Рисунки  | 
| Утверждён: | 30.11.1999 Госстандарт России (Russian Federation Gosstandart 469-ст) | 
| Расположен в: | 












































