| ||||||||||||||||||||||||||||||||||||||
Скачать ГОСТ 9950-83 Пек каменноугольный. Метод определения температуры размягченияДата актуализации: 10.08.2017
|
| Обозначение: | ГОСТ 9950-83 |
| Обозначение англ: | GOST 9950-83 |
| Статус: | взамен |
| Название рус.: | Пек каменноугольный. Метод определения температуры размягчения |
| Название англ.: | Coal tar pitch. Method for the determination of softening point |
| Дата добавления в базу: | 01.09.2013 |
| Дата актуализации: | 05.05.2017 |
| Дата введения: | 01.07.1984 |
| Область применения: | Стандарт распространяется на каменноугольный пек и устанавливает методы определения температуры размягчения. |
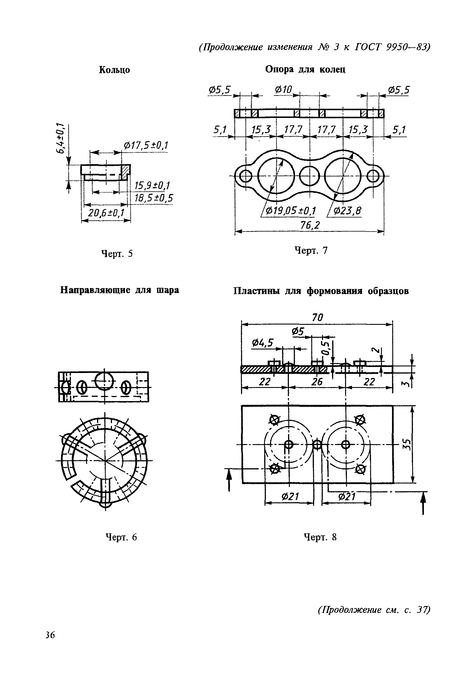
| Оглавление: | 1а Метод "Кольцо и стержень" 1 Аппаратура, посуда, реактивы 2 Подготовка к анализу 3 Проведение испытания 4 Обработка результатов 5 Метод "кольцо и шар" 6 Определение температуры размягчения на аппарате ВУХИН-КЛЗ Приложение 1 (обязательное) Характеристика термометра Приложение 2 (обязательное) Плавление проб пека Приложение 3 (справочное) Аппарат ВУХИН-КЛЗ для определения температуры размягчения каменноугольного пека |
| Разработан: | Министерство черной металлургии СССР |
| Утверждён: | 15.04.1983 Государственный комитет СССР по стандартам (USSR National Committee on Standards 1969) |
| Издан: | Издательство стандартов (1983 г. ) ИПК Издательство стандартов (1998 г. ) |
| Расположен в: | |
| Список изменений: |
|
| Заменяет собой: |
|
| Нормативные ссылки: |
|











Текстовое изменение № 3 от 01.01.1997








