Обозначение: | ГОСТ 28244-89 |
Обозначение англ: | GOST 28244-89 |
Статус: | заменен |
Название рус.: | Провода и шнуры армированные. Технические условия |
Название англ.: | Reinforced wires and cords. Specifications |
Дата добавления в базу: | 01.10.2014 |
Дата актуализации: | 05.05.2017 |
Дата введения: | 01.01.1998 |
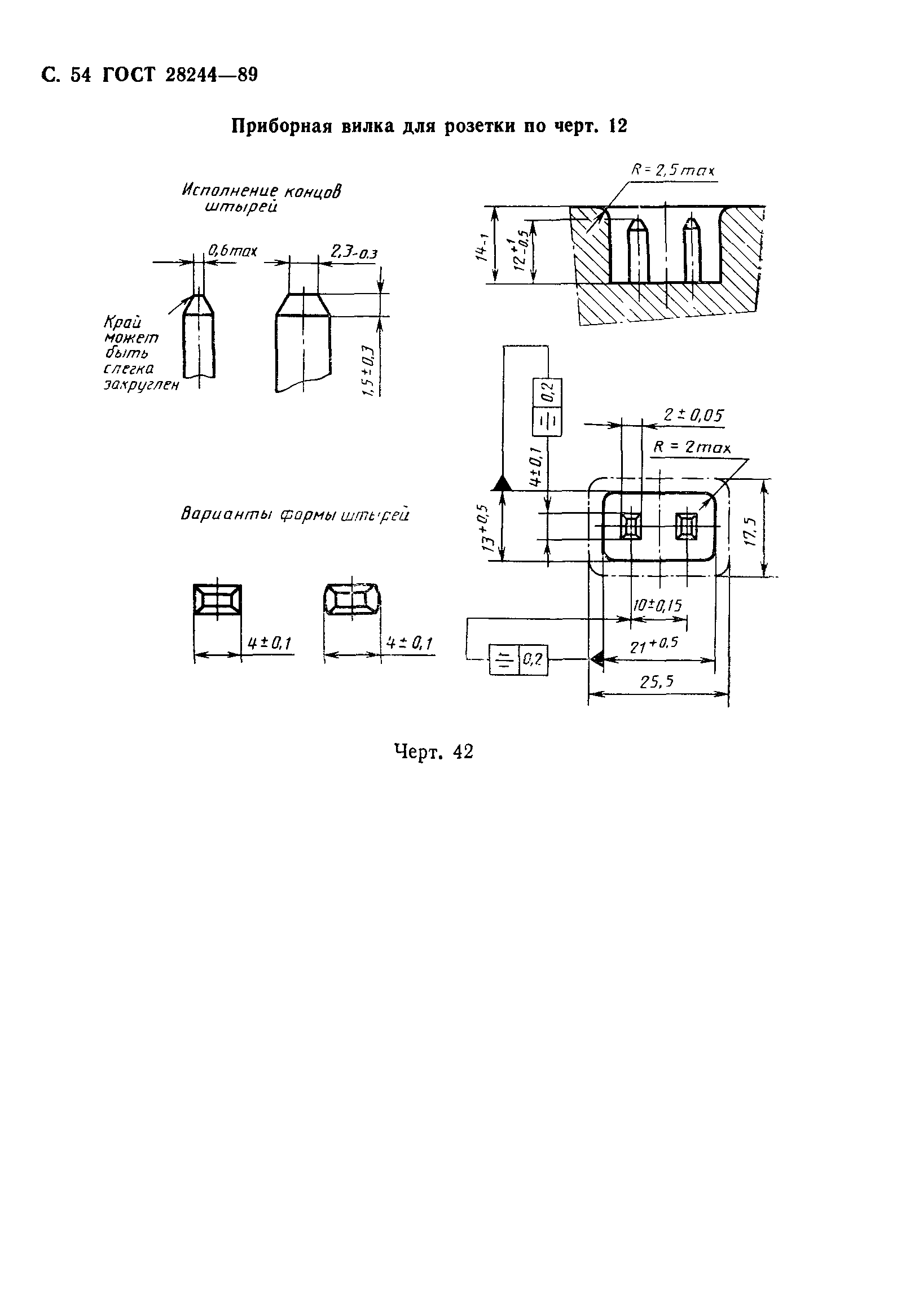
Область применения: | Стандарт распространяется на провода и шнуры, армированные неразборными двухполюсными вилками и провода и шнуры, армированные неразборными двухполюсными вилками и приборными розетками, предназначенные для присоединения электрических машин и приборов бытового и аналогичного применения к электрической сети переменного тока до 16 А включительно и номинального напряжения до 250 В.
Стандарт устанавливает требования к армированным шнурам и шнурам-соединителям, изготавливаемым для нужд народного хозяйства, комплектации экспортной продукции. |
Оглавление: | 1. Технические требования 2. Приемка 3. Методы контроля 4. Транспортирование и хранение 5. Указания по эксплуатации 6. Гарантии изготовителей Приложение 1 (справочное) Соответствие исполнений вилок и розеток по ГОСТ 28244 международным стандартам Приложение 2 (справочное) Коды ОКП и контрольные числа (КЧ) армированных шнуров Приложение 3 (рекомендуемое) Рекомендуемые области применения армированных шнуров Приложение 4 (справочное) Расчетные массы проводов и шнуров Приложение 5 (справочное) Схематическое изображение мерной и рабочей длин шнуров |
Разработан: | Министерство электротехнической промышленности СССР
|
Утверждён: | 01.09.1989 Государственный комитет СССР по управлению качеством продукции и стандартам (USSR National Committee on Standards and Product Quality Management 2682)
|
Издан: | Издательство стандартов (1990 г. )
|
Расположен в: |
|
Чем заменён: | |
Нормативные ссылки: |   ГОСТ 15150-69 «Машины, приборы и другие технические изделия. Исполнения для различных климатических районов. Категории, условия эксплуатации, хранения и транспортирования в части воздействия климатических факторов внешней среды»  ГОСТ 9.302-88 «Единая система защиты от коррозии и старения. Покрытия металлические и неметаллические неорганические. Методы контроля»  ГОСТ 9.303-84 «Единая система защиты от коррозии и старения. Покрытия металлические и неметаллические неорганические. Общие требования к выбору»  ГОСТ 12.2.007.0-75 «Система стандартов безопасности труда. Изделия электротехнические. Общие требования безопасности»  ГОСТ 3345-76 «Кабели, провода и шнуры. Метод определения электрического сопротивления изоляции»  ГОСТ 12177-79 «Кабели, провода и шнуры. Методы проверки конструкции»  ГОСТ 14959-79 «Прокат из рессорно-пружинной углеродистой и легированной стали. Технические условия»  ГОСТ 27570.0-87 «Безопасность бытовых и аналогичных электрических приборов. Общие требования и методы испытаний» ГОСТ 14192-77 «Маркировка грузов» ГОСТ 14254-80 «Изделия электротехнические. Оболочки. Степень защиты. Обозначения. Методы испытаний» ГОСТ 15527-70 «Сплавы медно-цинковые (латуни), обрабатываемые давлением. Марки» ГОСТ 18690-82 «Кабели, провода, шнуры и кабельная арматура. Маркировка, упаковка, транспортирование и хранение» ГОСТ 20.57.406-81 «Комплексная система контроля качества. Изделия электронной техники, квантовой электроники и электротехнические. Методы испытаний» ГОСТ 21931-76 «Припои оловянно-свинцовые в изделиях. Технические условия»  ГОСТ 2283-79 «Лента холоднокатаная из инструментальной и пружинной стали. Технические условия» ГОСТ 26413.0-85 «Провода и шнуры соединительные силовые. Общие технические условия» ГОСТ 26996-86 «Полипропилен и сополимеры пропилена. Технические условия»  ГОСТ 2991-85 «Ящики дощатые неразборные для грузов массой до 500 кг. Общие технические условия»
|