| ||||||||||||||||||||||||||||||||||||
Скачать ГОСТ 22254-92 Топливо дизельное. Метод определения предельной температуры фильтруемости на холодном фильтреДата актуализации: 10.08.2017
|
| Обозначение: | ГОСТ 22254-92 |
| Обозначение англ: | GOST 22254-92 |
| Статус: | действует |
| Название рус.: | Топливо дизельное. Метод определения предельной температуры фильтруемости на холодном фильтре |
| Название англ.: | Diesel fuels. Cold filter method for determination of lowest filtering temperature |
| Дата добавления в базу: | 01.09.2013 |
| Дата актуализации: | 05.05.2017 |
| Дата введения: | 01.01.1993 |
| Область применения: | Стандарт устанавливает метод определения предельной температуры фильтруемости на холодном фильтре дизельных и бытовых печных топлив, предназначенных для народного хозяйства и для экспорта Метод распространяется на дизельные топлива без присадок и с присадками, а также на топлива, применяемые в домашних отопительных системах. |
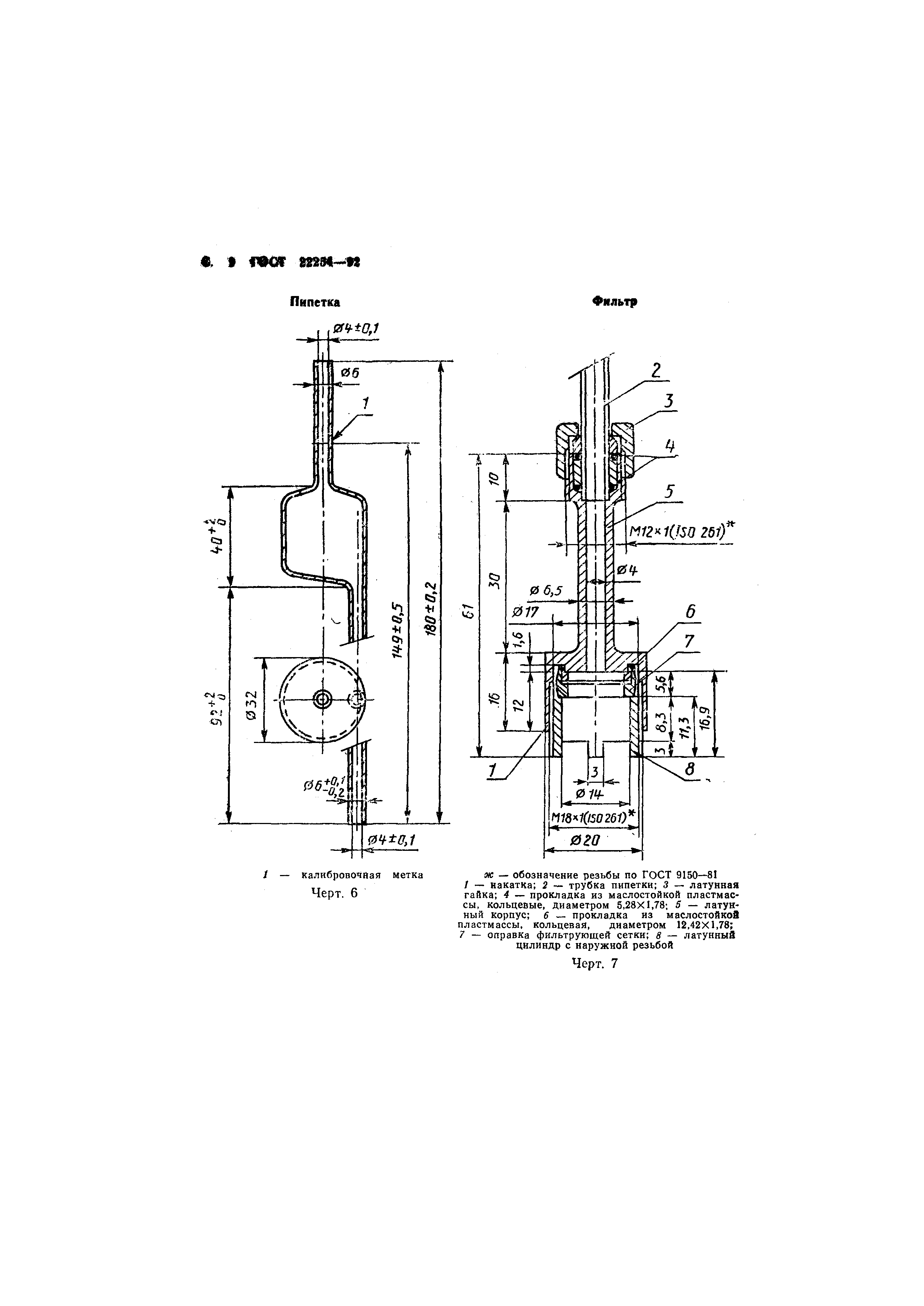
| Оглавление: | 1 Назначение 2 Область применения 3 Определение 4 Сущность метода 5 Материалы и реактивы 6 Аппаратура 7 Подготовка пробы 8 Подготовка аппаратуры 9 Проведение испытания 10 Протокол испытания 11 Точность метода Приложение Требования к термометрам для определения предельной температуры фильтруемости |
| Разработан: | ВНИИНП |
| Утверждён: | 03.02.1992 Госстандарт России (Russian Federation Gosstandart 101) |
| Издан: | Издательство стандартов (1992 г. ) |
| Расположен в: | |
| Заменяет собой: |
|
| Нормативные ссылки: |
|















