Информационная система
«Ёшкин Кот»

Скачать базу одним архивом
Скачать обновления
История создания базы
Карта сайта

Скачать ГОСТ 2517-85 Нефть и нефтепродукты. Методы отбора проб

Дата актуализации: 10.08.2017

ГОСТ 2517-85

Нефть и нефтепродукты. Методы отбора проб

Обозначение: ГОСТ 2517-85
Обозначение англ: GOST 2517-85
Статус:заменен
Название рус.:Нефть и нефтепродукты. Методы отбора проб
Название англ.:Crude oil and petroleum products. Methods of sampling
Дата добавления в базу:01.09.2013
Дата актуализации:05.05.2017
Дата введения:01.03.2014
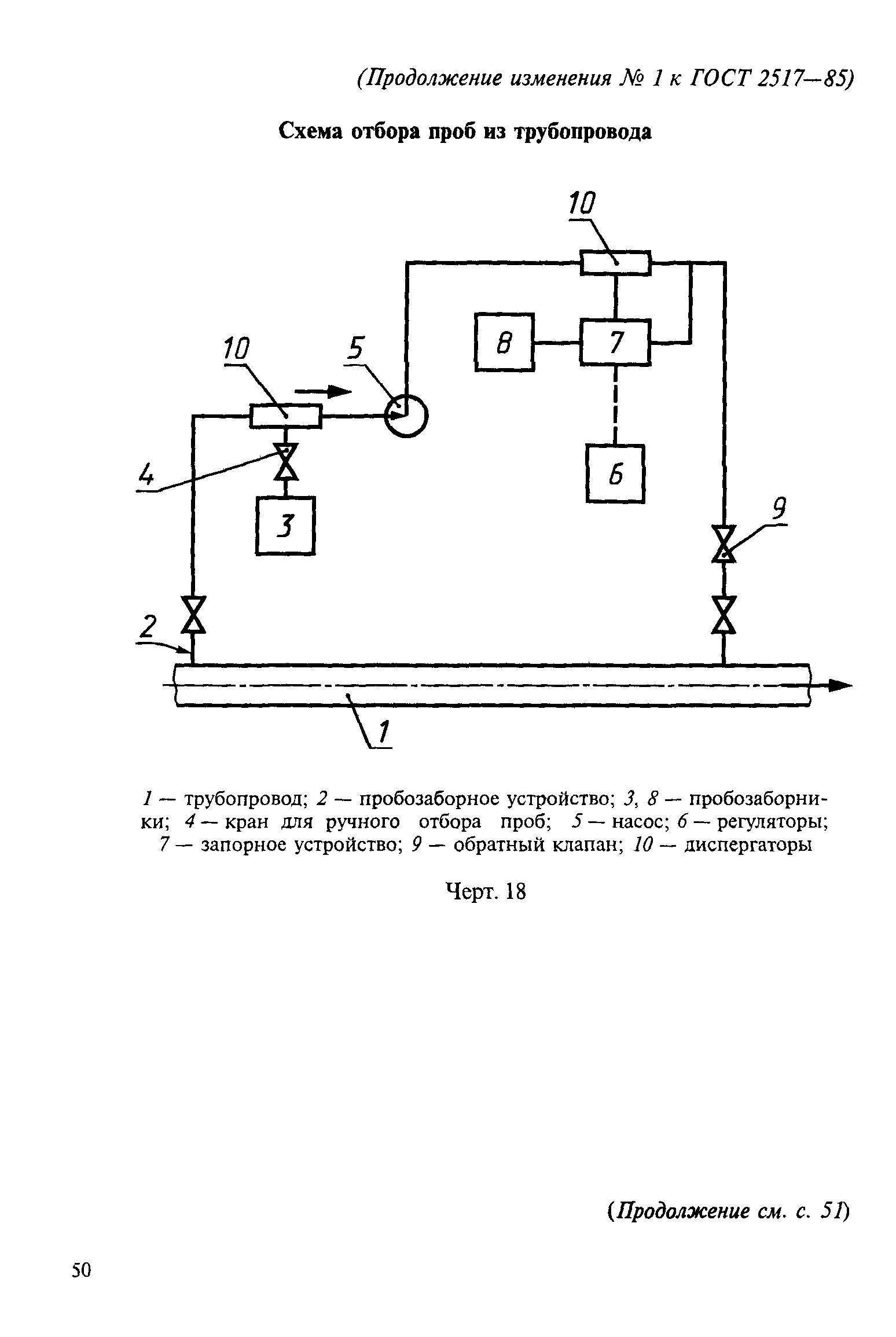
Область применения:Стандарт устанавливает методы отбора проб нефти и нефтепродуктов из резервуаров, подземных хранилищ, нефтеналивных судов, железнодорожных и автомобильных цистерн, трубопроводов, бочек, бидонов и других средств хранения и транспортирования. Стандарт не распространяется на сжиженные газы и нефтяной кокс замедленного коксования.
Оглавление:1 Аппаратура
2 Методы отбора проб
3 Требования безопасности
4 Упаковка, маркировка и хранение проб
Приложение 1 (обязательное) Типы пробоотборников
Приложение 2 (обязательное) Параметры пробозаборных трубок щелевого типа
Приложение 3 (обязательное) Параметры диспергатора
Приложение 4 (обязательное) Расчет параметров стабилизатора щелевого пробозаборного устройства
Утверждён:28.12.1985 Госстандарт СССР (USSR Gosstandart 4453)
Издан: Издательство стандартов (1985 г. )
Издательство стандартов (1986 г. )
ИПК Издательство стандартов (1997 г. )
Стандартинформ (2008 г. )
Стандартинформ (2010 г. )
Расположен в:Техническая документация Электроэнергия ДОБЫЧА И ПЕРЕРАБОТКА НЕФТИ, ГАЗА И СМЕЖНЫЕ ПРОИЗВОДСТВА Нефтяные продукты в целом Экология ДОБЫЧА И ПЕРЕРАБОТКА НЕФТИ, ГАЗА И СМЕЖНЫЕ ПРОИЗВОДСТВА Нефтяные продукты в целом Строительство Стандарты Другие государственные стандарты, применяемые в строительстве Добыча и переработка нефти, газа и смежные производства
Список изменений:
Заменяет собой:
Чем заменён:
Нормативные ссылки:
ГОСТ 2517-85ГОСТ 2517-85ГОСТ 2517-85ГОСТ 2517-85ГОСТ 2517-85ГОСТ 2517-85ГОСТ 2517-85ГОСТ 2517-85ГОСТ 2517-85ГОСТ 2517-85ГОСТ 2517-85ГОСТ 2517-85ГОСТ 2517-85ГОСТ 2517-85ГОСТ 2517-85ГОСТ 2517-85ГОСТ 2517-85ГОСТ 2517-85ГОСТ 2517-85ГОСТ 2517-85ГОСТ 2517-85ГОСТ 2517-85ГОСТ 2517-85ГОСТ 2517-85ГОСТ 2517-85ГОСТ 2517-85ГОСТ 2517-85

Текстовое изменение № 1 от 01.12.1998

№ 1№ 1№ 1№ 1№ 1№ 1№ 1№ 1№ 1№ 1№ 1№ 1№ 1

Текстовое изменение Поправка от 01.08.1999

ПоправкаПоправка

© 2013 Ёшкин Кот :-) Карта сайта