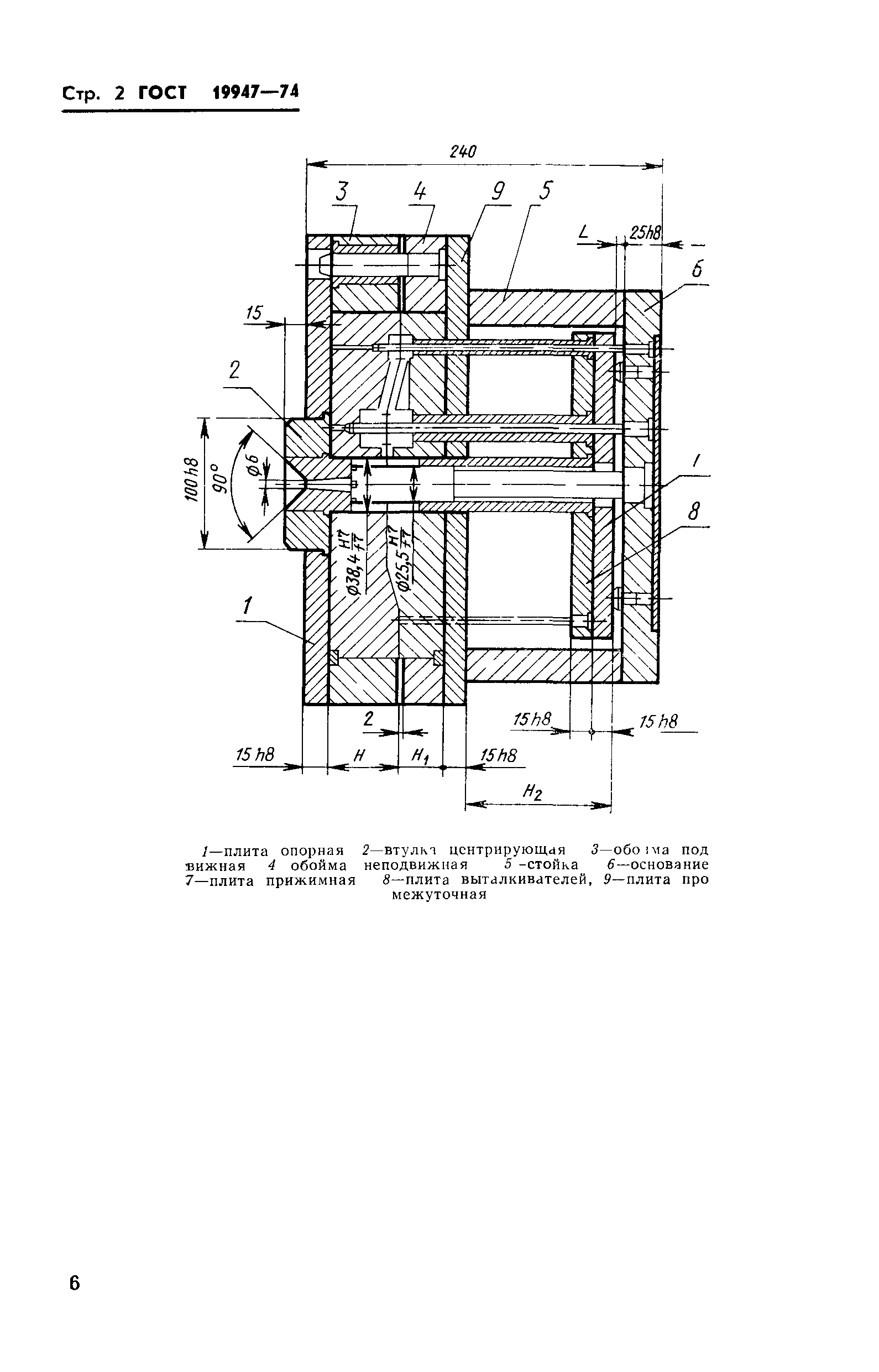
Скачать ГОСТ 19947-74 Пресс-формы для выплавляемых моделей. Основные размерыДата актуализации: 10.08.2017 ГОСТ 19947-74
Пресс-формы для выплавляемых моделей. Основные размеры| Обозначение: | ГОСТ 19947-74 | | Обозначение англ: | GOST 19947-74 | | Статус: | действует | | Название рус.: | Пресс-формы для выплавляемых моделей. Основные размеры | | Название англ.: | Wax-pattern dies. Main dimensions | | Дата добавления в базу: | 01.09.2013 | | Дата актуализации: | 05.05.2017 | | Дата введения: | 01.01.1976 | | Утверждён: | 26.07.1974 Госстандарт СССР (USSR Gosstandart 1779)
| | Расположен в: |
|
            
|