Информационная система
«Ёшкин Кот»

Скачать базу одним архивом
Скачать обновления
История создания базы
Карта сайта

Скачать ГОСТ 16228-81 Фрезы дисковые трехсторонние со вставными ножами из быстрорежущей стали для обработки легких сплавов. Конструкция и размеры

Дата актуализации: 10.08.2017

ГОСТ 16228-81

Фрезы дисковые трехсторонние со вставными ножами из быстрорежущей стали для обработки легких сплавов. Конструкция и размеры

Обозначение: ГОСТ 16228-81
Обозначение англ: GOST 16228-81
Статус:действует
Название рус.:Фрезы дисковые трехсторонние со вставными ножами из быстрорежущей стали для обработки легких сплавов. Конструкция и размеры
Название англ.:Three angle disk cutters with inserted blades for machining light alloys. Design and dimensions
Дата добавления в базу:01.09.2013
Дата актуализации:05.05.2017
Дата введения:01.01.1983
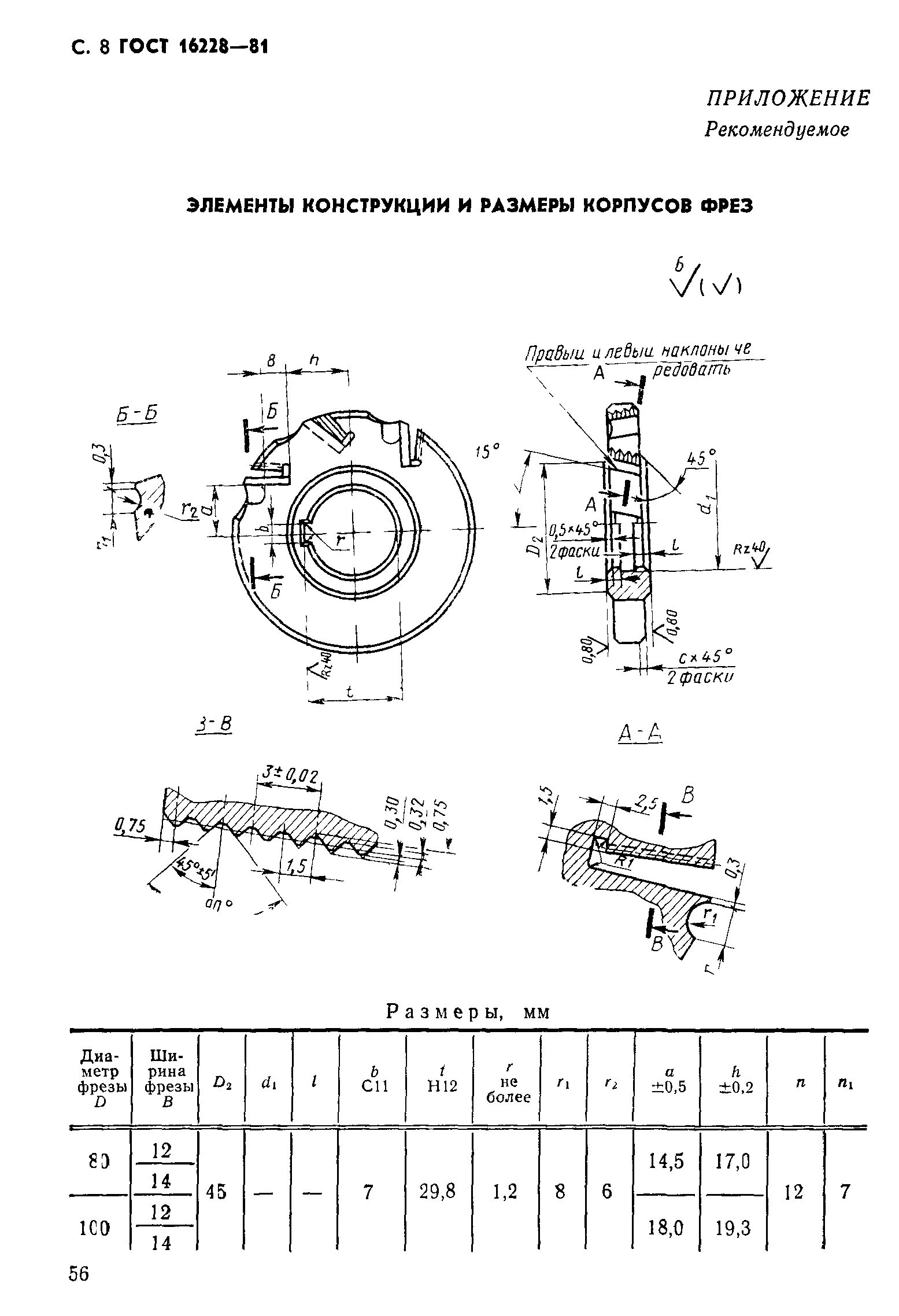
Оглавление:Приложение Элементы конструкции и размеры корпусов фрез
Утверждён:30.04.1981 Госстандарт СССР (USSR Gosstandart 2268)
Расположен в:Техническая документация Электроэнергия МАШИНОСТРОЕНИЕ Режущие инструменты Фрезы Экология МАШИНОСТРОЕНИЕ Режущие инструменты Фрезы
ГОСТ 16228-81ГОСТ 16228-81ГОСТ 16228-81ГОСТ 16228-81ГОСТ 16228-81ГОСТ 16228-81ГОСТ 16228-81ГОСТ 16228-81ГОСТ 16228-81ГОСТ 16228-81

© 2013 Ёшкин Кот :-) Карта сайта