Информационная система
«Ёшкин Кот»

Скачать базу одним архивом
Скачать обновления
История создания базы
Карта сайта

Скачать ГОСТ 13983-93 Блоки универсальные молотовых штампов для призматических вставок. Конструкция

Дата актуализации: 10.08.2017

ГОСТ 13983-93

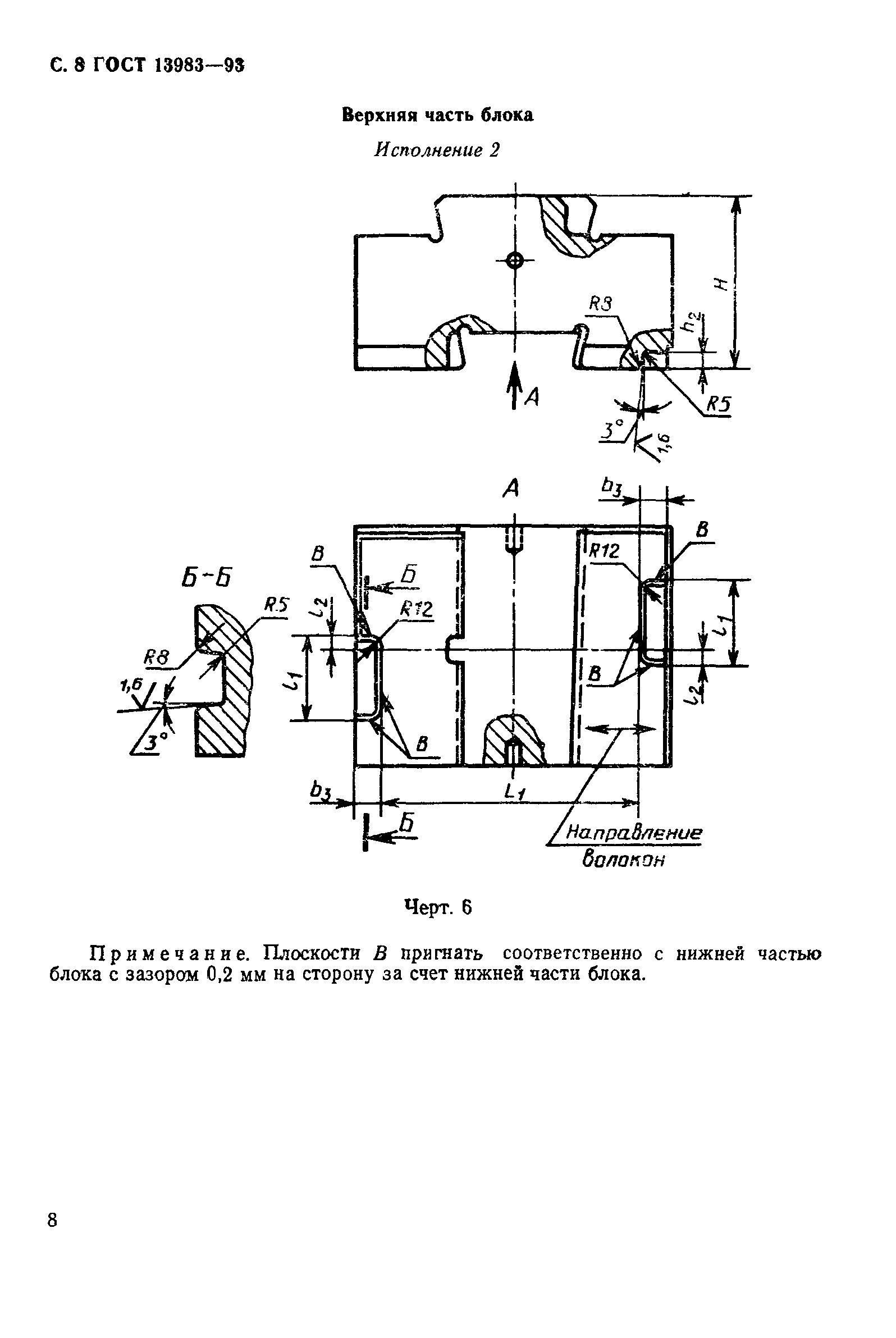
Блоки универсальные молотовых штампов для призматических вставок. Конструкция

Обозначение: ГОСТ 13983-93
Обозначение англ: GOST 13983-93
Статус:взамен
Название рус.:Блоки универсальные молотовых штампов для призматических вставок. Конструкция
Название англ.:Units of general purpose adjusting dies for interchangeable prismatic. Design
Дата добавления в базу:01.09.2013
Дата актуализации:05.05.2017
Дата введения:01.01.1995
Область применения:Стандарт распространяется на универсальные блоки (далее — блоки) молотовых штампов под призматические вставки по ГОСТ 19585, предназначенные для установки на штамповочных паровоздушных молотах с массой падающих частей 630, 1000, 2000 и 3150 кг.
Разработан: Госстандарт России
Утверждён:21.10.1993 Межгосударственный Совет по стандартизации, метрологии и сертификации (Inter-Governmental Council on Standardization, Metrology, and Certification )
02.06.1994 Комитет Российской Федерации по стандартизации, метрологии и сертификации (160)
Издан: ИПК Издательство стандартов (1995 г. )
Расположен в:Техническая документация Электроэнергия МАШИНОСТРОЕНИЕ Оборудование для бесстружечной обработки Ковочное оборудование. Прессы. Ножницы Экология МАШИНОСТРОЕНИЕ Оборудование для бесстружечной обработки Ковочное оборудование. Прессы. Ножницы
Заменяет собой:
  • ГОСТ 13983-80 «Блоки универсально-переналаживаемых молотовых штампов для сменных призматических вставок. Конструкция и размеры» (ИУС 5-94)
Нормативные ссылки:
ГОСТ 13983-93ГОСТ 13983-93ГОСТ 13983-93ГОСТ 13983-93ГОСТ 13983-93ГОСТ 13983-93ГОСТ 13983-93ГОСТ 13983-93ГОСТ 13983-93ГОСТ 13983-93ГОСТ 13983-93ГОСТ 13983-93ГОСТ 13983-93ГОСТ 13983-93ГОСТ 13983-93ГОСТ 13983-93ГОСТ 13983-93ГОСТ 13983-93

© 2013 Ёшкин Кот :-) Карта сайта